一、PLC*拟机模**械手典型控制
机械手是工业领域中经常用到的一种控制对象。它可以完成许多工作,如搬物、装配、切割等工作。应用非常广泛。应用PLC能实现所规定的动作,可以简化线路,节省成本,提高劳动生产率。
(1)、控制要求
运用*拟机模**械手操作台,模拟将左工作台的工件搬运到右工作台上。机械手的全部动作由气缸驱动,而气缸由电磁阀控制。其上升/下降、左移/右移运动由双线圈两位电磁阀控制。即当下降电磁阀通电时,机械手下降;当下降电磁阀断电时,机械手停止下降,但要保持现有的工作状态。在上升电磁阀通电时,机械手上升;当电磁阀断电后,机械手停止上升。机械手的放松/夹紧由一个单线圈二位电磁阀控制,线圈通电时,机械手夹紧;线圈断电时,机械手放松。在机械手右移并准备下降时,必须检查右工作台,确认无工件时才允许机械手下降。整个动作过程分为8步:从原点→下降→夹紧(T秒)→上升→右移→下降→放松(T秒)→上升→左移到原点。这是一个顺序控制。因此我们可采用步进梯形指令进行绘制梯形图。

机械手示意图
为便于控制系统调试和维护,应设置有手动和自动转换功能。当手动/自动转换开关置于“手动”位置时,按下相应的起动按钮可实现上升、下降、左移、右移、夹紧、放松的手动控制和回原点控制两种操作方式。将手动/自动转换开关置于“自动”位置时,可进行机械手自动回归原点控制的“回原点”控制;每按一次起动前进一个工步的“步进操作”;按下起动按钮后自动完成一个周期动作后停止的“单周期操作”以及按下一次起动按钮后从原点开始,自动连续不断地周期性循环。在按下停止按钮,机械手将完成正在进行的这个周期动作,返回原点后停止。

*拟机模**械手控制

YL163机械手控制
(2)、设置所需PLC的I/O点数
在动作过程中,上升、下降、左移、右移、夹紧及原点指示为输出信号。
放松和夹紧共用一个线圈,线圈得电时夹紧,失电时放松,故放松不作为单独为输出信号。
在工作方式的选择开关一个,控制“手动”、“回原点”、“步进”、“单周期”和“连续”5个输入点,这5个输入不能同时为ON;在手动时运动选择“左右”、“上/下”、“夹/松”用三个输入点,有无工件检测开关用光电开关用光电开关实现,占一个输入点;原点、起动、停止3个按钮,占用3个输入点;用行程开关分别控制上、下、左、右位置检测,占4个输入点工件的夹紧与放松采用延时控制,不再设置检测装置。系统的输入全部采用动合触点。输入/输出点应考虑有15%的余量。
输入/输出端口分配
输入软继电器分别为:
X0-----下限位开关 输出继电器------Y000下降电磁阀
X1-----上限位开关 输出继电器------Y001上升电磁阀
X2-----左限位开关 输出继电器------Y002夹紧电磁阀
X3-----右限位开关 输出继电器------Y003右行电磁阀
X4-----下限位开关 输出继电器------Y004左行电磁阀
X5-----无工件检测传感器 输出继电器------Y004原点指示灯
X6-----左移/右移SA1-1
X7-----加紧/放松SA1-2
X10-----手动操作SA1-3
X11-----回原点操作SA2-2
X12-----步时操作SA2-3
X13-----单周期操作SA2-4
X14-----连续操作SA2-5
X15-----原点按钮SB1
X16-----起动按钮SB2
X17-----停止按钮SB3

模拟输入输出口
(3)、PLC输入、输出端子接线图

模拟接线图
(4)、PLC梯形图绘制
控制程序主要由手动操作和自动操作两部分组成,自动操作程序包括步进操作、单周期操作和连续操作程序。
第一是初始化程序。
初始化指令IST的功能编号为FNC60,它与STL指令一起使用,专门用来设置有多种工作方式的控制系统的初始状态和设置有关的特殊辅助继电器的状态,可以大大简化复杂的顺序控制程序的设计。IST 指令只能使用一次,它应放在程序开始的地方,被它控制的STL电路应放在它的后面。用来设置初始状态和原点位置条件。IST 指令中的S20和S27用来指定在自动操作中用到的最小和最大状态继电器的元件号,所以在安排输入继电器的元件号X020~X026应按照设定的顺序来设定。IST 中的源操作数可取X、Y 和M IST 指令的源操作数X10用来指定与工作方式有关的输入继电器的首元件,它实际上指定X10~X017的八个输入继电器,这八个输入继电器的意义 。

梯形图初始化
由原点的各传感器驱动,特殊辅助继电器M8044检测机械手是否在原点。它的ON状态作为自动方式时允许状态转换的条件。由特殊辅助继电器M8000驱动功能指令FNC60(IST),设定为初始状态。使用 IST 指令后,系统的手动、自动、单周期、步进、连续和回原点这几种工作方式的切换是由系统程序自动完成的。
第二部分是手动操作

手动操作梯形图
回原点初始状态按下原点按钮SB1,通过状态器S10~S12作机械手的回零操作。自动返回原点结束后特殊辅助继电器M8043(回原点完成置1)到上限位,X001闭合、到左限位,X003闭合。

原点回零操作
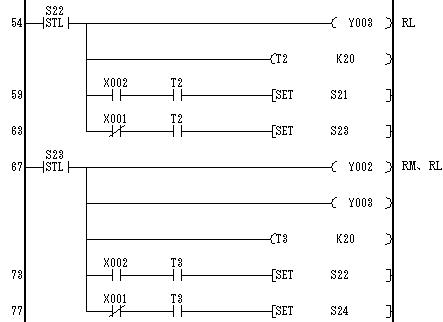
第三部分是自动操作
由于特殊辅助继电器M8041(转换起动)和 M 8044(原点位置条件)是从自动程序的初始步 S2 转换到下一步 S20 的转换条件。M8041和M8044 都是在初始化程序设定的,在程序运行中不再改变。

自动操作部分梯形图
机械手在原点位置 → 启动转换 → 机械手下降 → 下降至下限位 → 机械手夹紧 → 开始1秒计时 → 定时时间到 → 机械手上升 → 上升到上限位 → 机械手右移 → 到达右限位 → 机械手下降 →机械手到达下限位 → T1开始计时 → 定时时间到 → 机械手上升→ 到达上限 → 机械手左移→到达左限位 → 机械手左移停止→ 机械手完成一个周期动作回到原点 。
二、PLC模拟洗衣机典型控制
(1)、控制要求
洗衣机代替繁重的手工洗衣,减轻了人们的劳动。随着生活水平的日益提高,全自动洗衣机是通过将人的洗衣动作编制成各种指令,控制各电气部件运行。全自动洗衣机通过可编程序控制器来实现洗涤过程。
全自动洗衣机集洗涤、漂洗和脱水于一个桶内。洗涤时,波轮运转,桶不转,内桶起洗涤桶的作用脱水时,脱水桶以约 900r/min的速度运转,利用离心力将洗涤物中的水甩出,起到脱水桶的作用。洗涤与脱水由离合器控制。洗涤时,离合器的内轴带动波轮正反向旋转;脱水时,离合器的外轴带动脱水桶单方向旋转,将衣物甩干。进、排水由进水阀、排水阀自动控制。进水水位由水位开关控制。洗涤、漂洗与脱水等全过程由PLC控 制.事先选择好某一程序,开启洗衣机电源与水源,即可完成全部洗衣过程。
洗衣机的工作流程由进水、洗衣、排水、脱水4个进程组成。在PLC投入运行时,系统处于初始状态。按下起动按钮,准备运行。选择好水位后,按下起动按钮后进始进水,水位达到设定值时,停止进水,并开始洗涤,正转3秒后,暂停1秒,反转2秒,反复循环200次后排水20秒。再进行脱水10秒,即完成一次从进水到脱水的大循环。在选择标准程序则大循环3次;选择简易程序大循环2次。完成全部过程,自动停机。
(2)、设置所需PLC的I/O点数
洗衣机的进水、正转、反转、排水和脱水为输出信号 .工作方式的选择按钮,有标准程序模式和简易程序模式2个输入点。起动以及高、中、低水位有个输入点,系统的输入点全部采用动合触点。
输入继电器 输出继电器
X0-----起动按钮 Y000 ----- 进水阀
X1-----高水位感应器 Y001------排水阀
X2-----中水位感应器 Y002------电机正转
X3-----低水位感应器 Y003------电机反转
X4-----标准程序 Y004------脱水
X5-----简易程序
(3)、PLC输入、输出端子接线图如图

模拟洗衣机接线示意图
(4)、PLC梯形图绘制
第一部分是初始化部分
梯形图包括有标准程序与简易程序控制,控制程序包括步进操作,循环操作程序。
系统设置及起动,初始脉冲M8002使初始状态S0置为1,使标准程序和简易程序的循环次数清零。

梯形图初始化部分
按下X000将系统起动 选择运行模式 按下X004进行标准设置 按下X005进行简易设置调节水位开关(X001、X002、X003)为系统设定初始状态,并为系统的起动提供了条件。
第二部分是进水梯形图部分
在初始条件就绪后。状态器S20置1,进水阀得电。洗衣机进入进水程序。在设定高水位(X001),即M1置1,状态转移S21,进行进水计时25秒设定中水位(X002),即M2置1,状态转移S31进行进水计时15秒设定低水位(X003)即M3置1,状态转移S41,进行进水计时10秒。在设定时间到后,全部转移状态S22,使Y000失电。进水阀停止进水。

进水梯形图程序部分
第三部分是洗涤梯形图部分
进水完毕后,状态转移到S23,将标准程序和简易程序的计数器清零后状态转移到S24
输出继电器Y002得电,电机开始正转,定时器T002为正转计时,正转定时时间3秒状态转移到S25,定时器T004计时,电机暂停1秒定时时间到,状态转移到S26输出继电器Y003得电,电机开始反转定时器T005计时,反转时间2秒后.状态转移到S24重复以上过程。计数器C0为标准洗涤程序计数,使以上过程反复200次;C1则为简易洗涤程序计数100次。

洗涤梯形图程序部分
第四部分是排水与脱水梯形图部分
在洗涤完成后,状态转移到S27,输出继电器Y001置1,排水阀得电排水。T7进行排水计时20秒。定时时间到,状态转移到S28。输出继电器Y004置1,进入脱水状态定时器T8进行脱水10秒的计时。在脱水时间到后状态又回复到S20,进行下一次的大循环。计数器C2计算标准程序大循环的次数、C3计算简易程序大循环的次数。在完成所设定的循环次数后,回复到初始状态。洗衣程序结束。

排水与脱水梯形图程序部分
二、PLC模拟恒压变频供水典型控制
随着变频调速技术的日臻完善,以变频调速为核心的智能供水控制系统取代了以往高位水箱和压力罐等供水设备,电机的起动平稳,起动电流可限制在额定电流以内,从而避免了起动时对电网的冲击,而且由于泵的平均转速降低了,又可延长泵与阀门等的使用寿命.更重要的是水泵的耗电功率与电机的转速的三次方成正比关系,所以水泵调速运行的节能效果非常明显.
(1)、控制要求
用PLC、变频器设计一个有七段速度的恒压供水系统。该系统有3台水泵,2台用于运行,1台备用,运行与备用7天轮换一次。在用水高峰时,1台水泵工频全速运行,另1台水泵变频运行;用水低谷时,仅1台水泵变频运行。3台水泵分别由电动机M1、M2、M3拖动,而3台电动机又分别由变频接触器KM1、KM3、KM5和工频接触器KM2、KM4、KM6控制。
变频器高中低三端子组合的七段速。
1 RH------------------------15HZ
2 RM----------------------20HZ
3 RL------------------------25HZ
4 RM---RL-----------------30HZ
5RH----RL-----------------35HZ
6RH----RM---------------40HZ
7RH----RM----RL--------45HZ

恒压供水原理图
变频器的七段速度及变频与工频切换由管网压力继电器的压力上限接点与下限接点控制。七段速度与变频器的控制端子的对应关系如表7.3所示在水泵投入工频运行时,电动机的过载保护通过热继电器实现,并有报警信号的指示。
(2)、所需PLC的I/O点数
根据控制要求,本系统的调速成主要由变频器七段调速成来控制,变频器的控制端子的信号通过PLC的输出继电器来提供(即通过PLC控制变频器的RL、RM、RH以及STF、MRS端子与SD端子的通和断)6个输出点。另外工频工作状态由KM2、KM4、KM6进行控制,变频工作状态由KM1、KM3、KM5进行控制.都由PLC进行控制。PLC的输出信号的变化是通过管网压力继电器的压力上限接点与下限接点来控制。
输入继电器 输入继电器
X0----起动按钮 Y0----KM1
X1----水压下限变换器信号 Y1----KM2
X2----水压上限变换器信号 Y2----KM3
X3----起动按钮 Y3----KM4
X4----停止按钮 Y4----KM5
X5----FR1热过载保护 Y5---KM6
X6----FR2热过载保护 Y6---报警信号
X7----FR3热过载保护 Y7---正转起动STF
Y10-RH
Y11-RM
Y12-RL
Y13-输出停止MRS
(3)、PLC的输入、输出接线图

恒压供水模拟接线图
(3)、设计PLC控制程序
本梯形图程序由工频、变频撤换控制运行与变频运行控制两种情况组成。
第一部分是系统初始化
系统运行通电后,M8000为ON,使系统进入初始状态S0 ,在初始化脉冲M8002的动合触点闭合一个扫描周期,使工频控制辅助继电器和变频控制输出继电器Y10(接变频器的STF控制端口)复位,。同时使S20~S27和C1~C3整体复位在按下停止按钮后,使X003闭合,使系统进入初始状态,使整个系统停止工作。在水泵在工频运行的情况下,某一组电动机过载时,热继电器动作,使X005、X005、X006闭合,输出继电器Y012使水泵停转并通过指示灯进行显示。按下启动按钮,开始进入工作状态。

恒压供水梯形图程序初始化
第二部分是变频运行控制梯形图
状态器S20置ON,输出继电器Y10状态保持,Y1闭合(即接通变频器RH与STF控制端子),水泵以变频器输出频率为15Hz频率运行。定时器T0计时,2秒后,若水压达到水压上限X002置ON,使工频状态控制继电器M10复位,停止工频运行若水压较低,仍处于水压下限时,X001仍闭合,状态器S21置ON 状态器S20置ON,输出继电器Y10状态保持,Y1闭合(即接通变频器RH与STF控制端子),水泵以变频器输出频率为15Hz频率运行。定时器T0计时,2秒后,若水压达到水压上限X002置ON,使工频状态控制继电器M10复位,停止工频运行若水压较低,仍处于水压下限时,X001仍闭合,状态器S21置ON 状态器S21置ON,输出继电器Y2闭合(即接通变频器RM与STF控制端子),水泵以变频器输出频率20Hz运行定时器T1计时2秒后,水位达到水压上限则转到上一状态器S20运行 水压仍处于下限时,则进入下一状态器S22运行 ,S22接通RL控制端子S23接通RM、RL控制端子 。

梯形图变频程序

梯形图变频程序
S24接通RH、RL控制端子S25接通RH、RM控制端子S26接通RH、RM、RL控制端子水压达到上限值时,转到S25状态器运行;水压仍然是下限时,内部辅助继电器M10置1,则进入工频控制 。

梯形图变频程序
第三部分是变频、工频撤换运行控制梯形图部分
状态器S30置ON,输出继电器Y1得电,使主电路KM1闭合,与变频运行控制系统结合,使M1水泵变频运行。在变频状态下M1水泵未能使水压达到上限时,辅助继电器M10置1,输出继电器Y4得电,使主电路KM4闭合,M2水泵以工频状态运转。

变频、工频撤换运行控制梯形图
特殊辅助继电器M8014产生1min周期的振荡信号给计数器C0进行7天的计时。达到设定时间后,C0闭合,输出继电器Y14得电,接通变频器控制端子MRS,使变频器输出停止。在延时1s切换控制后,使状态器S31置ON,其工作过程相同。

变频、工频撤换运行控制梯形图

变频、工频撤换运行控制梯形图
通过以上的举例我们可以看出设计控制程序,在深入了解与掌握控制要求,主要控制的基本方式之后,对复杂的控制可以用状态流程图全面的表达出来。在绘制梯形图时要反复调试、修改直到满足要求为止。
喜欢的小伙伴们欢迎转载、讨论,感觉对你学三菱PLC有帮助的帮忙点赞!!希望在我们学习的路上共同进步!!