大家好,我是灯塔,今天给大家带来的是之前有说过的游戏发展史。
第1章 混沌之际:1947-1959梦开始的地方
已知最早的电子显示互动电动游戏
1947年由与制造了这个采用模拟电子的游戏,阴极射线管娱乐装置(Cathode ray tube amusement device)。它是已知最早采用阴极射线管(CRT)的互动电子游戏,虽然并没有对外进行销售,但于1948年在美国获得专利。
原身是记录并控制电子信号质量的设备,电子信号的强度由调整CRT光束路线的旋钮控制,与现在的游戏并不相同的是它为纯机电设备,未采用任何储存设备,运算和程序。
玩家旋转调整屏幕CRT光束的控制旋钮,看到的光束会在屏幕上投射未一点。屏幕上的点代表飞机,玩家在有限的事件内像飞机开火。如果玩家开火的时候,光束射入预先设定的机械坐标,则CRT光束散焦,台标飞机爆炸。
可以说是各大外设模拟射击类游戏的开山鼻祖。由于年代久远,并没有找到外机图片,只有一张当时申请专利的电路图。这也是公认的已知最早的电子显示互动电动游戏了。

图:阴极射线管娱乐装置申请专利的电路图
颇具争议,最早运用视觉效果的计算机游戏
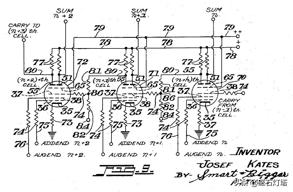
1950年约瑟夫·凯特在多伦多为加拿大国家展览会制作了《Bertie the Brain》计算机游戏,也就是我们熟知的井字棋。这可以说是最初的计算机电子游戏之一了,其搭载的计算机高达四米,采用九宫布局的背光键盘走子,在大屏幕上显示当前棋局,可设置难度。可惜的是《Bertie the Brain》在历时两周的展览后拆除,并随好奇心的消退而被基本遗忘。
这个游戏是凯特展示其加法管(一种微型真空管)的工具,由于受限于专利,该管在1955年前不得在加拿大外使用,除Bertie外在无实际应用,而美国专利在申请6年后,到1957年3月才批准,那时计算机已经改用了更为先进的晶体管开发,加法管由此没落。虽然由于某些对电子游戏的定义不同,存在些许争议,但《Bertie the Brain》也基本可以当成最早运用视觉效果的游戏,或者称为最早的电子计算机游戏。(阴极射线管娱乐装置的游戏屏幕由电灯而非即时可视化屏幕显示,这种无变化图形,不满足部分电子游戏的定义)。

图:喜剧演员丹尼·凯耶刚战胜机器的照片

图:加法管申请美国专利申请时的电路图
最早专为游戏设计的数字计算机
1951年由设计与制作的计算机Nimrod,在不列颠的科学展上展出,它是为游玩尼姆游戏(Nim)而专门开发的计算机。尼姆游戏(Nim)是一种两个人玩的回合制数学战略游戏,游戏者轮流从一堆棋子(或者任何道具)中取走一个或者多个,最后不能再取的就是输家。
Nimrod再不列颠展会结束后电脑又再柏林展出,因其历史重要性,在当时包括(西德总理)和路德维希·艾哈德(西德经济事务部部长)等著名德国政治家都有出席。
说来有趣,这是最早专为游戏设计的数字计算机,但其真正意图在于向公众解说数字计算机的基本原理。

图:柏林电脑游戏博物馆展览的Nimrod
另一款颇具争议的"最早电子游戏"
1952年为延迟存储电子自动计算器(EDSAC)创作的井字棋计算机游戏OXO(圈与叉),这是另一款可以称之为最初的计算机电子游戏之一。
玩法略微奇特,玩家用转轮拨号电话输入落子棋位的编号,之后计算机行棋。双方的招法会在屏幕上显示,而画面只会在游戏状态改变时更新。由于EDSAC的大块头无法移动,OXO(圈与叉)并未对外公开,计算机和游戏都仅用于学术研究。
无独有偶,这个游戏是为剑桥大学人机交互课题而开发的。EDSAC计算机可以读取与写入储存器,也是同期最早的的储存程序计算机之一。机器共有三块小型显像管屏幕,用以指示储存器状态,道格拉斯重新定义了一块屏幕,使之向用户显示其他信息,既OXO(圈与叉)游戏状态。在课题完成后被废弃。
虽然OXO(圈与叉)未能流行起来,但其仍被视为电子游戏史的里程碑。

图:
使用图像显示的第一个电子游戏
1958年由美国物理学家 设计及发明了游戏《双人网球》(Tennis for two),他在布鲁克海文国家实验室制作了这个游戏以吸引参观者。游戏以示波器和模拟计算机作为游戏平台,屏幕显示了一个简化的网球场侧视图,搭配两个的盒状控制器,控制器上都配备了轨道控制旋钮及击球按钮,《双人网球》(Tennis for two)在电子游戏历史上被认为是用图像显示的第一个电子游戏。
同样,这个游戏并没有时兴起来,由于布鲁克海文国家实验室是由美国政府资助的,《双人网球》的专利权属于美国政府,而政府给予威利·席根波森的奖励大约10美金,使他没申请专利亦没有意愿让此游戏成为商品。为了进行宇宙辐射的展览,加上当时科学家普遍认为将昂贵的电脑用于娱乐游戏很浪费。《双人网球》展出两季后,于1959年被解体。

图:双人网球游戏运行的屏幕
万物的初始总是缓慢而困难的,游戏作为玩家的第二世界,在开始的时候总是波折多多,好了,今天就先到这里。感谢你们一直以来对磁石灯塔的关注,借这次征文《单机主机知多少:单机游戏编年史》系列敬请大家持续关注后续系列!
注:本文图片、数据、相关专利信息等引用于网络及国家相关专利机构等。