大理市交通运输局
关于开展《网络预约出租汽车运输证》办理
相关事宜的通知
各相关企业及个人:
为切实做好网络预约出租汽车(以下简称网约车)车辆准入工作,依法依规推进网约车合规事宜,确保行业健康有序发展。根据《网络预约出租汽车经营服务管理暂行办法》(交通运输部等六部委令2019年第46号)、《交通运输部办公厅关于网络预约出租汽车车辆准入和退出有关工作流程的通知》(交办运〔2016〕144号)和《大理市网络预约出租汽车经营服务管理实施细则》(大市政规〔2018〕8号)等文件精神,《网络预约出租汽车运输证》办理前期准备工作已完成,现已具备办理条件,拟对我市申请从事网约车经营的车辆开始车证办理工作,现将有关事项通知如下:
一、办理时间
自通知之日起开始,工作日:08:30-11:30,14:30-17:30。
二、办理地点
大理市下关街道苍山路苍宝巷5号市出租汽车管理办公室,联系电话:0872-3152800。
三、咨询方式
大理市行政中心政府主楼一楼东侧大理市交通运输局综合运输科,联系电话:0872-2128960。
四、办理流程
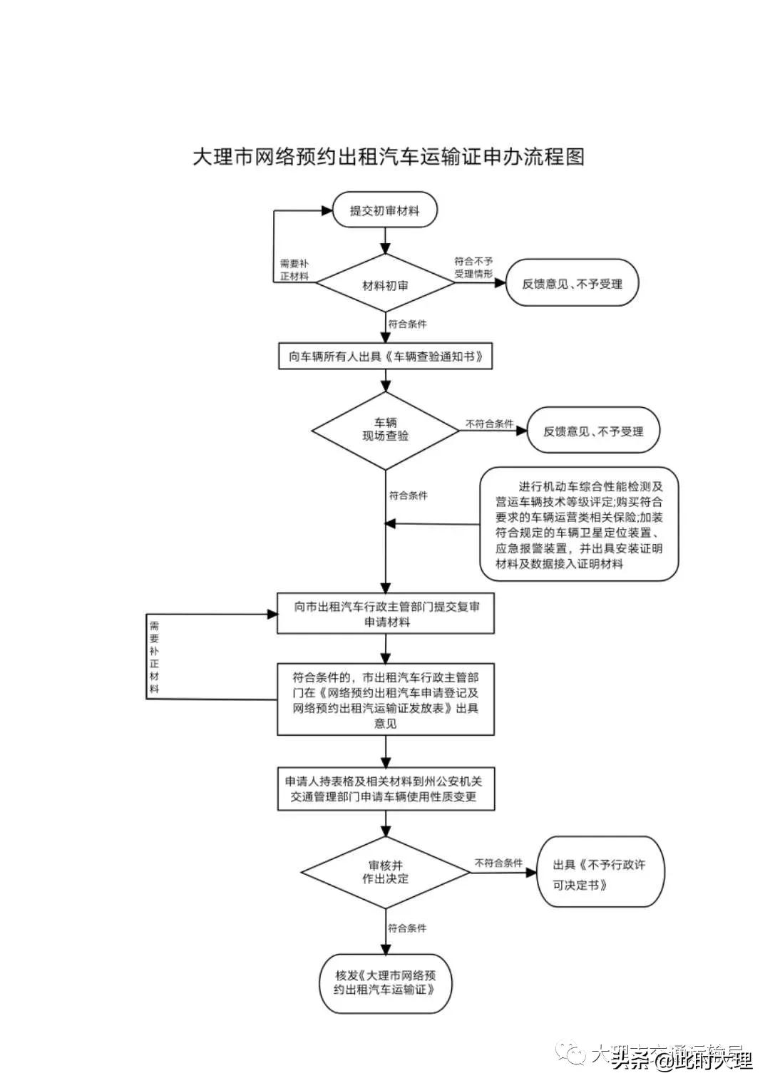
(一)申请。申请人领取《大理市网络预约出租汽车申请登记及网络预约出租汽车运输证发放表》,按要求填写表格,准备相关材料后提交至市出租汽车管理办公室进行初审(一式三份)。
(二)受理。工作人员接到书面申请后,对照《大理市网络预约出租汽车经营服务管理实施细则》等文件要求,完成申请材料初审,审查合格的,予以受理,并向申请人出具《车辆查验通知书》,车辆所有人根据《车辆查验通知书》要求,将车辆行驶至指定地点接受现场查验,符合条件的,车辆所有人按要求完成机动车综合性能检测及营运车辆技术等级评定,购买符合要求的车辆运营类相关保险,加装符合规定的车辆卫星定位装置、应急报警装置等事宜。
申请人在取得车辆复审阶段明确的全部材料后,向市出租汽车行政主管部门提交复审材料。工作人员对车辆是否达到准入条件、是否通过综合性能监测及技术登记评定、是否安装具有行驶记录功能的卫星定位装置和能向公安机关发送应急信息的应急报警装置,是否购买营运客车类相关保险等材料进行审查,符合条件的,市出租汽车行政主管部门在《大理市网络预约出租汽车申请登记及网络预约出租汽车运输证发放表》上出具审核意见。
申请人通过复审后,持《大理市网络预约出租汽车申请登记及网络预约出租汽车运输证发放表》及相关材料前往州交警支队车辆管理所办理使用性质变更手续。
(三)核发。申请人完成车辆相关条件审验和使用性质变更后,对于符合要求的,由市出租汽车行政主管部门发放《网络预约出租汽车运输证》,证件有效期依据车辆使用年限确定。
五、核发标准
车辆各项指标符合《网络预约出租汽车经营服务管理暂行办法》(交通运输部等六部委令2019年第46号)、《大理市网络预约出租汽车经营服务管理实施细则》(大市政规〔2018〕8号)、《大理州网络预约出租汽车车载终端设备配置指引(暂行)》等相关文件要求。
六、相关要求
(一)各相关企业及个人请认真按照《大理市网络预约出租汽车申请登记及网络预约出租汽车运输证发放表》、《大理市网络预约出租汽车运输证申办流程图》(见附件)明确的内容,提前对接办理过程中涉及的相关事项,减少办理过程时耗,提高效率,加快进程。
(二)车证是网约车“三证合一”的最后一个环节,各网约车运营企业要及时将车证办理工作传达至每名从业驾驶员,确保所有从业驾驶员清楚车证办理相关标准、流程及要求,要讲清说明车辆使用性质变更后,带来的车载设备安装、保险费率调整、车辆具有强制报废标准等从业成本增加的风险,坚决防止简单粗暴,宣讲不到位等问题引发不稳定因素。
(三)网约车车证办理中车辆所有人可以为个人,各网约车企业不得以加入平台运营必须变更车辆所有人为条件设置门槛。进行车辆所有人信息填报时应如实填报,属于网约车平台公司或者其他企业购买车辆的,填报企业信息;属于个人购买的,网约车平台公司或者其他相关企业必须在双方自愿平等协商基础上,签订有效接入协议后方可填报车辆所有人信息,企业不得强制要求个人落本企业名称。对于监控设备安装及保险购买等事宜,属于个人车辆的,要充分尊重车辆所有人自主选择权利,网约车平台公司及合作企业不得以办理车证为理由,向加盟合作企业、车辆所有人及驾驶员收取不合理服务费用。不得通过以租代购、*绑捆**销售、挂靠经营、担保购车挂靠或者未经双方自愿平等协商基础上收取风险抵押金等方式向车辆所有人及驾驶员转嫁或者变相转嫁经营风险。各网约车运营参与企业必须在法律法规规章规定的范围内开展车证办理事宜,对于违反前述规定的行为,将依法依规严肃处理。
大理市交通运输局
2020年7月9日

来源:加油大理
原标题:@大理车主,这里有一份开展《网络预约出租汽车运输证》办理相关事宜的通知
编辑:都市时报一点关注 张如尘
审核:字丹瑶