现如今,手里不持有点原始股,是不是都不好意思了。在“无股权不富”的投资概念冲击下,一场场原始股售卖大戏开始集中上演。除了高回报、一夜暴富等收益诱惑外,“上市公司”这些个虚晃的光环给了非法集资更堂而皇之的马甲。这几年来,越来越多的人,利用原始股的概念作为公司宣传的包装,进而大做文章,辽宁百家安生物工程有限公司就是其中之一。辽宁百家安售卖的原始股到底是真是假?其董事长盖守江被列为失信被执行人与售卖原始股是否联系?
公司背景 问题重重
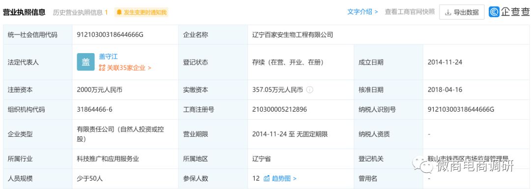
据调查,辽宁百家安生物工程(以下简称百家安)有限公司成立于2014年11月24日。 法定代表人盖守江,股东有盖守江、盖守鸿、董小琼及马彦丽,注册资本2000万元,实缴资本357.05 万人民币,参保人数12人。 但是在众多股东会员口中,受人“敬仰”的董事长是曹煜。 那么盖守江和曹煜是什么关系? 经查证,盖守江与曹煜就是同一个人,盖守江已经改名为曹煜。

(图片来源:企查查)
据调查,辽宁百家安生物工程有限公司经营范围包括生物技术研发、技术转让;清洁用品生产;净化设备、水处理设备、床上用品、健身器材、洗涤用品、电子产品、家用电器、日用品、化妆品、装饰材料、五金交电、保洁用品、皮革制品、预包装食品兼散装食品销售;会议及展览服务;经营货物及技术进出口。据企查查显示,公司董事长盖守江投资注册的公司有30余家,其中多家企业被警示经营异常,且受到行政处罚。

(图片来源:企查查)
值得一提的是,董事长盖守江早已被列为失信被执行人员,且被多次限制高消费。

(图片来源:企查查)
据悉,2017年4月百家安正式升级为辽宁百家安集团, 旗下所属总注册资本2亿元,总资产已达5亿元,宣称三年的时间打造1000家安全快餐店、涮烤堂,500家食品安全食疗养生馆,100家安全幼儿园,成立百家安安全物流公司,成立百家安食疗保健养老院。争取三年打造落地餐饮连锁上市,五年打造集团上市。
产品繁多 虚假宣传
说完公司概况,我们来了解一下百家安集团的产品。百家安产品种类繁多,包含百家安五系套、百心安清洗剂、百畅安酵素、百家安牛初乳等其他产品。
以百家安集团百畅安酵素产品为例,宣传富含60种蔬果浓缩精华,让健康畅通无阻。作为一种酵素饮品,那么它就属于普通食品,普通食品就不能宣传任何疗效。然而,在“百家安”微信公众号中,部分宣传图片却在明示或暗示着其酵素产品具有“增强免疫力”等保健食品才能宣传的功效。

根据我国《广告法》第十七条规定,除医疗、药品、医疗器械广告外,禁止其他任何广告涉及疾病治疗功能,并不得使用医疗用语或者易使推销的商品与药品、医疗器械相混淆的用语。
关于普通食品宣传具有增强免疫力功效这件事,国家一级营养师王雷军曾在《新快报》的一篇报道中明确表示:“普通食品是不能声称功效的,保健品必须有‘蓝帽’保健食品标志,其声称的功效也要在‘增强免疫力’、‘改善睡眠’等功效以内。”
同样,号称增强免疫力“神器”——百家安集团旗下乌鲁木齐诺力康生物工程有限公司诺力康牌牛初乳胶囊宣称可以提高免疫力,宣称可以口服的免疫球蛋白,促进骨骼健康,恢复肠胃健康及活力,消除疲劳,抗衰老作用,改善和提高运动机能。
从企查查了解到,乌鲁木齐诺力康生物工程有限公司是百家安集团旗下*疆新**诺力康生物工程有限公司的大股东,法定代表人为王浩清。

(图片来源:企查查)
而乌鲁木齐诺力康生物工程有限公司自身也涉及许多监管风险及司法风险,其法定代表人王浩清被列为失信被执行人,公司因为未及时申报增值税也受到了行政处罚。
事实上,我们却未从国家药品安全监督局查到诺力康牌牛初乳胶囊的任何信息。

我们从企查查上也了解到广东省市场监督管理局根据2020年度特殊食品监督抽检工作计划,对全省特殊食品生产经营环节开展监督抽检,其中对全省特殊食品生产企业所有在产品种抽检全覆盖(婴幼儿配方乳粉生产企业周周抽检),经营环节重点抽检易发生非法添加和涉嫌虚假宣传的保健食品等。经检验,不合格样品19批次(其中保健食品生产环节3批次、经营环节16批次),其中就包含诺力康牌牛初乳胶囊。百家安集团旗下的乌鲁木齐诺力康生物工程有限公司也因对其产品标注虚假内容而受到行政处罚。


(图片来源:企查查)
股权投资 疑点重重
前几年,关于百家安集团上市,发售原始股,股东分红的消息几乎人人皆知。我们也从百家安公众号上发布的《当今最赚钱的商业方式竟是国家大力扶持的》文章中,了解到百家安在其宣传的腾讯视频中提倡“联众共股”,合作众筹,让人人做老板,个个成股东的宣传,公司需要股东管理股、技术股、能力股和资本股,拥有多少股权,就可拥有多少财富。
从购买了百家安原始股的股东小强(化名)我们了解到百家安产品现在已经取消了原有的代理模式。百家安集团产品以前的代理模式是购买820元的产品即可为会员,购买8200元产品为代理,购买10万元产品为区域代理,达到5个区域代理即可获得公司奖励的奔驰车一辆。

据他讲述购置辽宁百家安餐饮企业有限管理公司发放的原始股最低10万,最高100万。他购置了10万元的原始股,刚开始公司发放的是股权证,但是后期都换成了入资协议。

我们从企查查了解到辽宁百家安餐饮企业有限管理公司的股东是辽宁百家安生物工程有限公司、盖守江等人,也因为新增资本认购纠纷被多次起诉。

(图片来源:企查查)
那么百家安是否真的上市呢。据调查,股东们的统一口径是百家安已经上市,上市公司名字为百家淘客,股票代码是08287HK。

那么百家淘客和百家安有啥关系。我们从企查查了解到百家淘客股份有限公司是一家香港企业,公司主营业务是网络通信产品的专业制造商,包括无线路由器/ AP(室内和室外),无线USB适配器,无线模块,交换机和有线路由器,公司成立于2016年,上市日期为2018年,法定代表人为金炳权,主要股东是Absolute Skill Holdings Limited,百家安在百家淘客里面没有股份,和百家安没有任何关系。


(图片来源:企查查)
但是,在公众号“百家安”的《上海松江区宣传部领导视察百家淘客网红基地》文章中提到百家淘客网红基地隶属于百家淘客股份有限公司。
带着疑问,我们致电百家淘客股份有限公司官网电话(00852-2495978),了解到他们公司业务只涉及网络通信产品的专业制造商,包括无线路由器/ AP(室内和室外),无线USB适配器,无线模块,交换机和有线路由器,在上海没有任何业务,上海的百家淘客网红基地和他们公司没有任何关系。
所以显而易见,所谓的百家安已经上市根本就是一个*局骗**,百家安只是打着百家淘客股份公司噱头来欺骗购买了原始股的股东们,百家淘客股份公司和百家安不存在任何关系。

归根结底,百家安根本没有上市。百家安公开推销原始股的行为显然已经涉嫌非法集资,因为按照有关法律规定,私募股权不能向非特定对象也就是公众公开推广和销售。《证券法》规定,公开发行证券,必须符合法律、行政法规规定的条件,并依法报经国务院证券监督管理机构或者国务院授权的部门核准或者审批;未经依法核准或者审批,任何单位和个人不得向社会公开发行证券。
对于如何识别原始股*局骗**,《证券日报》曾指出:投资者首先要认清非法证券活动的本质和危害,提高自身识别判断能力,自觉*制抵**各种诱惑,不要轻信“一本万利”之类的“天上掉馅饼”的“好事”。有以下防范措施供投资者参考:如果股票发行、或转让采取了广告、发布会、说明会、网络等公开方式,就要看是否取得证监会的核准,如果没有证监会的核准文件,就可判定是非法发行股票;看中介机构从事证券承销、代理买卖活动,是否取得了证监会批准;当市民遇到判断不清的问题时,可及时向当地证监部门咨询。
红拍商城 备受质疑
据调查,百家安又上线了新红拍的商城,商城里面有百家安的任何产品。商城会员可以通过商城购买产品,同时商城推出一项业务为“抢单”,抢单的目的是提升百家安的股值。

据会员“小文”介绍,新红拍平台是一个全新的创新价值,它将传统的中心化F2B演变成为去中心化批发,将传统的中心化B2C零售转变,为点对点的C2C,物权转让,置换商品,产生新的利润空间,实现平台服务、物权转让以及会员、秒单三方收益。那所谓的F2C,就是参与秒单,等于一单的批发,也就是说去中心化批发,他不需要F2B,也就是从不用从工厂到批发商,直接降低了消费的成本,补差价置换新商品,实现物权转让,置换更高价值的优惠商品,实现薄利上架转让,降低退货的一个消耗。那C2C它是怎么去实现呢?就是将抢购的商品置换上架,等于物权转让,去中心化零售,实现了点对点转让,无需B,也就是说不需要从批发商到消费者,直接实现了消费增值的状况。

以往的传统的消费方式很难让消费者跟商品产生联系,那么抢单这一个模式,它可以让消费者的身份转变成消费商,实现不用开店,在家里面就能够去创业,让穷人翻身,让草根创业的一个景象。
据新红拍商城会员小华(化名)介绍,自从新红拍上线以来,他每天都会抢单,每天能抢到2-3单,日赚600元左右,半个月赚了9000元,他的另一半也在参与抢单,半个月也赚了6000元,下图为小华在新红拍商城赚钱记录单。

那么新红拍商城真的能赚钱吗?据了解,想要加入新红拍会员需要购买1000元商品和200元红拍券即可参与抢拍,每天有2-3次可以参与抢单。例如:新会员参与一个5000元的抢单,5000元为虚拟货币,但是需要向推荐人额外购买200元红拍券,抢单需支付175元的红拍券,第二天卖掉此单之后可以赚75元。

并且后期参与抢单都需要一直购买红拍券,例如:5250元的抢拍,除了支付虚拟货币5000元以外的250元,还要购买183.5元的红拍券,第二天卖掉此单可赚78.75元。参与抢单就要不断的投入资金购买红拍券。
以此叠加累积,每月抢单赚到的钱可以有两个投资方向:
第一、在商城购买产品消费,可以购买百家安旗下的任意产品;
第二、投资百家安旗下的实体店,例如武汉曌靓眼科及康复理疗中心。下图为百家安集团董事长曹煜为客户讲解曌靓眼科医院。

但是不论是购买商品,还是投资实体店,在商城赚到的钱终究到不了自己手里面。
据会员“小维”介绍,她身边很多人都已经将赚到的钱投入了实体店,声称流动产生价值,投到实体店还可以拉升公司股值。

但是经过调查,却没有查到任何关于武汉曌靓眼科医院的信息,那么所谓的投资武汉曌靓眼科医院是否是个空壳企业呢?我们有待考究。
据资料介绍,新红拍商城制度模式分为三个等级:
1. 直推奖:奖励直推账户消耗燃料费5%;
2. 团队奖:(所有级别采用级差方式发放)
一星拍卖师:三个有效直推 + 17个有效账户
二星拍卖师:三个一星团队
三星拍卖师:三个二星团队
四星拍卖师:三个三星团队
五星拍卖师:三个四星团队
六星拍卖师:三个五星团队
3.平级奖:二星及以上拍卖团队奖励平级奖。

从模式制度我们看到前面的人的本金和利润都来源于新加入者的本金,所以一旦没有新鲜血液注入,平台老板无利可图,就会卷款跑路,新红拍商城整个模式制度和资金盘*局骗**很相似。
受害遭遇 千人千面
因百家安原始股这个项目被骗的人有很多。
小强(化名)是一个在*疆新**做建筑工程的人,听朋友说投资原始股权可以大赚一笔钱,5年后公司上市了投资的钱可以翻几十倍,小强刚开始不相信,但朋友一直给他*脑洗**,一段时间后,小强就相信了。于是,小强于2016年购入了百家安集团旗下的辽宁百家安餐饮企业有限公司的10万元原始股,但是小强发现百家安至今没有上市,于是便告到法院,法院已经立案,但是法院给出的结果是公司空壳,联系不到公司。

小强说他现在正在联系其他受害者,受害者人数达到30人,便可向鞍山当地公安局报案,等疫情结束后,他要去鞍山当地看看。他现在手里资料太少,无法维权,真的很无奈,他觉得就算钱拿不回来,也要将百家安集团集资诈骗的*局骗**让大家都知道。
从另外一个受害者小雪(化名)了解到,他的哥哥姐姐都在2017年购买了百家安的原始股权,后来百家安上线了红拍商城,他便被他的哥哥姐姐介绍一起在红拍商城抢单,据他介绍红拍商城刚开始是能赚到钱的,但是后来平台关闭,他们在平台的钱都没有取出来,等到红拍商城升级为新红拍商城,他们登录账号后,发现他们之前在红拍平台的钱都已经消失不见了,他们被告知那些旧平台的钱都已经投资了实体店,这些钱便不了了之。

于是,他们抱着继续赚钱的想法开始在新红拍商城抢单,但是要求不断购买商城的红拍券,她这才觉得平台在变向赚钱,这才发觉自己已经上当受骗了,现在他已经退出了新红拍,但是他投入到新红拍的3万元已经拿不回来。

后 记
目前市面上各式各样的原始股*局骗**越来越多,对于如何识别原始股*局骗**,《证券日报》曾指出:投资者首先要认清非法证券活动的本质和危害,提高自身识别判断能力,自觉*制抵**各种诱惑,不要轻信“一本万利”之类的“天上掉馅饼”的“好事”。股权投资是一个非常专业的投资领域,个人投资者在不具有专业能力和获得优质项目资源的情况下去投资,就如同盲人骑瞎马。一旦购买这些企业的原始股,轻者股票无法变现,严重者,随着企业破产倒闭,所投资的血汗钱,有可能血本无归。
打着“人人是老板,个个是股东”旗号的百家安集团今后会如何发展?百家安集团至今没有上市,却打着百家淘客股份公司的噱头到处宣传,是否会受到百家淘客股份公司的追究呢?新红拍商城是否是资金盘*局骗**?对此微商电商将持续关注。
来源:微商电商调研
