
写在开头:这是一个关于举报淘宝和天猫商家刷单的故事,故事真实,文章欢迎转载转发,但不得修改,不得断章取义,不得掐头去尾。此文提及所有的淘宝天猫商家信息截图评价等内容全部都是真实公开可查看的,不涉及任何隐私侵犯。如果笔者所有举报的虚假交易都是真实存在的(即使淘宝暂时没有认定),那么这个行业真的是病入膏肓了,刷单已经泛滥成灾,你还敢在淘宝上买家具吗?
1.天猫商家的神奇评价(先后于5月27日和8月14日举报,举报编号分别是7041805270000297和7041808140003612,天猫两次均认定举报不成立,即该商家没有刷单)

图片是两个买家在该商品购买后评价的截图(目前这两个评价依然可以在商品评价页面找到,只是没有靠在一起)圈出来是商家的商品ID号,商家名称,还有买家下单颜色尺寸属性,图片可以看出两个评价来自于两个不同买家购买的不同的尺寸规格,但是两个买家晒出同一个沙发不同角度的图片,两个晒图左侧的床头柜,右侧的墙角线,最右侧的镜子倒影出沙发床的一角,结合地板的颜色,基本可以认定这两个沙发是在同一个屋子里拍的同一个沙发的照片,如果是一个买家*取盗**另外一个买家的晒图,那么两个图片应该一模一样,但是这两个图片拍摄的角度和沙发床的摆放状态都是不一样的,这是不可能发生在两个正常的买家的评价里面的,再来看下一组图片

同样的原理,这个大图上面该商品两个评价图片的圈出来的位置可以看到沙发左上角有一个橘红色的收纳袋和窗帘的褶皱,再看地砖的颜色,基本可以认定这是一个场景拍摄的沙发不同角度的图片,这样的情况在正常购买的两个买家的晒图中不可能存在的。唯一能说的通的是事先有人把准备好的图片分配给两个买家进行晒图。
再看下一组图片



这三个评价图片都是晒图右侧买家购买的颜色尺寸和图片晒的不一致,当然这个虽然异常但是并非不能强行解释,可以说买家自己要求更换了颜色和尺寸。但是对于本文第一个和第二个图片的评价异常的情况确实是常理无法解释的。发起举报后淘宝和天猫不予认定商家虚假交易,要求淘宝小二对上述非正常评价进行解释,淘宝小二表示评价是买家行为,是买家权利。笔者多次致电淘宝天猫客服反馈该问题,淘宝小二(花名 风辰东)前后拖了两个月一直说在反馈处理,但是最终并没有给任何答复。
2.行业的神奇现象(淘宝住宅家具类目下沙发子类目下的沙发床和懒人沙发为例)
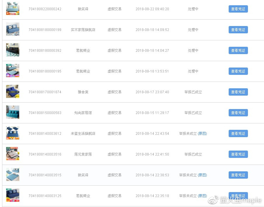
下图是笔者举报的商品的部分截图

图片可以看出举报有已经举报成立和正在处理中以及举报未成立,至于为何成立和不成立说实话笔者不得而知,因为举报的原因都是一样的,基本上都是晒图率极低和动态三标评分极高,按照这个行业正常情况一个商品所有的评价带有图片应该在10%到25%(因笔者无法获得淘宝的数据,此数据并未进行严格的全面统计,只是随机查看了一些该行业卖商品的评价带图片的概率,只看五百个总评价以上的,评价太少数据稳定性准确性太差,样本越大概率越精确,大家也可以自己去淘宝搜索查看核实),而以上商品评价带图的比例占总评价2%到8%,大多数集中在2%到5%(也就是一百个买家评价只有两三个人是晒图了的),这一数据是远远低于同行业平均水平,而这些商家无一例外的动态三标评分远超同行(商品描述评分,卖家服务评分,物流快递评分),全部在4.9以上,甚至高达4.96,从常理来看,买家愿意给出这么高的评分应该是对产品非常喜欢非常认可,一般带有强烈认可和喜欢的评价晒图分享的意愿越高,理论上晒图应该更多,但是实际情况就是商品评价带图率越低与同行而伴随动态三标评分远超同行。(最猥琐的想法就是刷单的才会没有图片晒,才会打这么高分,当然这是小人之心,只是瞎猜)笔者只是把这一非常规的情况通过举报的形式反馈给淘宝网又淘宝网介入调查,但是淘宝网判断举报不成立的原因是提交的证据不足。以下上传几张(举报列表中的商品)评价带图率极低的图片



淘宝小二对于评判虚假交易的解释是有专门的处理部门,根据淘宝网的相关标准进行多维度多角度的分析判定,非常官方而又标准的答复,笔者一周内致电淘宝数十次总时长几个小时每次淘宝小二都会说反馈给处理部门,每次都是没有然后。其实对于淘宝来说并非不能查,该类目下的商品(沙发床和懒人沙发)运输方式大多数都是快递和快运,是可以查询到快递重量的,而刷单的订单里的运单正常都是没有重量或者重量极轻的(空包)。
以上都是真实的经历,至于这些商品的评价异常的情况是不是刷单的欢迎大家发表意见
再说一下关于刷单带来的效应和影响,对于刷单的商家来说获得更高的销量,更高的转化率,更低的退款率,更高的动态三标评分,综合起来就是大大提升商品排名。对行业的影响就是拉升了整体的动态评分(往年正常4.8都是高于同行业平均值的,现在4.8都是低于同行业平均值),降低了同行业退款率,提升了同行业好评率,同时让没有刷单的合规经营的商家的各项指标全面下跌,排名严重下降,形成劣币驱逐良币的局面,对于淘宝来说当大批商家采用刷单的模式放弃直通车钻展推广,对于淘宝的广告收入也是产生不良影响,同时淘宝网的数据生态系统都被破坏了,抓取的数据分析的数据都是严重失真的,最重要的是对于广大消费者面对的都是刷单刷上去的商品,面对的都是不真实的评价,对消费者的合法权益也是严重损害。从法律层面也是违反了反不正当竞争法。
写在最后:举报的只是笔者认为的异常的很小的一部分,可以说是九牛一毛,实在是举报不过来了,只能写出来让大家进行评判,欢迎评论。欢迎转载。