鱼羊 发自 凹非寺量子位 报道 | 公众号 QbitAI
国外疫情愈演愈烈,口罩成了紧俏物资,连厕纸都被抢购一空。
而在新冠肺炎治疗过程中至关重要的呼吸机的供不应求,更是让人们绷紧了神经。

△呼吸机需求量粗略数据,来源:ventilator项目
极客们坐不住了。他们纷纷决定:开源自制呼吸机方案,应对紧急状况。
材料易得——阿里巴巴上就能买。
成本不高——主要装置可低至20美元(约合人民币140元)。
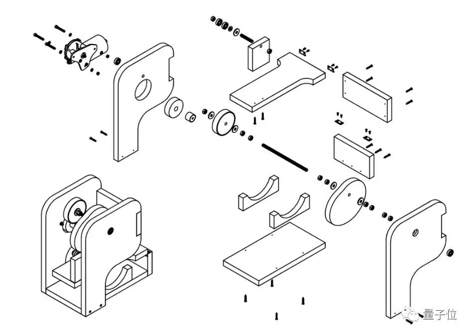
低成本开源呼吸机
应急的呼吸机制造方案,应该材料易得,制造简单。

美国加利福尼亚的 Johnny Lee 的方案是,将低成本CPAP(连续气道正压通气)鼓风机改装成基础呼吸机。
需要的材料名单如下:
1. CPAP鼓风机。连续气道正压通气设备是个人用于治疗睡眠呼吸暂停的常用设备,在eBay或阿里巴巴上即可购得。二手风机可低至20美元。
Johnny Lee 选择的是可以用 ESC 驱动的 BLDC 电机,Respironics REMstar 制造。

替代方案:容量更大的 12V 充气泵。(测试中)
备选方案:3D 打印鼓风机。(讨论中)
2. Arduino Nano/Clone,用以控制电机速度、呼吸周期,并处理用户输入。可以*载下** Arduino IDE 对其进行编程。

3. 直流无刷电动机电子速度控制器,电流至少为10A。
4. 用于输入控制的按钮或开关。控制切换 5 个压力级别,双击可以在 CPAP 和 BiPAP/Fixed PEEP(双水平气道正压)模式之间切换。
5. 可处理至少 5A 电流的 12V 直流电源。电源不够强的话,Arduino 容易复位。
6. 面罩和管路。CPAP 面罩容易购得,实在不行,这个项目还提供了面罩 3D 图纸。

7. 内置 12V 备用电池(可选)。
作者提示:建议使用直流电源,在电池没电的情况下戴上口罩,可能会导致二氧化碳堆积。
准备好了材料,就可以进入电子设备设置环节。
电子设备部分的设计并不复杂,示意图如下:

压力测试
为了保证效果, Johnny Lee 对这一装置进行了输出压力测试。

新冠肺炎患者的呼吸机指南中指出输出压力应达 20cm/H20。而这一自制呼吸机,满状态下可达 45cm/H20,足够强劲。
空气过滤装置
作者还提供了添加空气净化装置的设计方案。

口罩过滤器滤芯的转接板3D模型可供*载下**。

需要注意的是,增加过滤器会影响输出压力。
作者表示,如果医院的标准呼吸机紧缺,希望这样的低成本设备能帮上忙。
不过,他也强调,自制医疗器械有风险,应该在专业人员的指导下使用该类设备。
开源抗疫
打算用开源为抗疫出力的,不止 Johnny Lee 一个。
西班牙公司 protoy.xyz 也开源了一个硬件项目——自动化 AMBU 手动呼吸器。

这个名为 OxyGen 的项目,希望在紧急情况下,能用简单的装置,尽量减轻医务人员的工作量。
图纸和配套说明书均免费提供,并且装置简单,无需培训和专业工具,就可以在几个小时内完成组装。

极客博客 Hackaday 上“开源抗疫”的呼声,也得到了热烈的响应。

用开源来击溃病毒,终极医疗黑客马拉松,现在开始。
最后,再次强调:此类自制设备旨在应急,存在风险,需要在医疗人员监督下使用。
One More Thing
口罩紧张,连深度学习之父、图灵奖得主Geoffrey Hinton都没得口罩用了。
73岁的老爷子发推表示,自己只有一个N95,用完之后放塑料袋里170℉(76℃)加热了2小时,“加热过的口罩总比没有口罩强,想知道这个温度能不能杀灭病毒,会不会让口罩的防护效果下降。”

目前,加拿大已经有400多人确诊。
传送门
ventilator项目地址:https://github.com/jcl5m1/ventilator
OxyGen地址:https://oxygen.protofy.xyz/
— 完 —
量子位 QbitAI · 头条号签约
关注我们,第一时间获知前沿科技动态