出品|纵横陆家嘴(LJZ_Zorro)
撰文|查克
2020年4月30日,泰禾集团(000732.SZ)公告称,由于旗下控股子公司金泽置业与*藏西**信托之间的1.2亿元借款纠纷已达成执行和解,并确认了新的还款方案,因此金泽置业、泰禾集团与公司实控人黄其森的相关失信被执行人信息已删除。

泰禾集团公告
然而,这则令黄其森及泰禾集团免于沦为"老懒"的公告。却未能给负面缠身的"泰禾系"带来些许暖意。
同一天,泰禾集团还发布了2019年业绩数据和一季度报告。其中,该公司2019年实现营收237.48亿元,同比下降23.36%;归母净利同比大降67.62%至8.27亿元;扣非归母净利亏损2.36亿元,同比下挫111.14%。
更糟糕的是,泰禾集团今年一季度的业绩延续下滑态势:营收同比下降93.57%至4.80亿元;归母净利亏损5.64亿元,同比下降157.99%。
这份泰禾集团历史上的最差成绩单,不仅令评级公司将其评级展望被调整为负面,还收到来自深交所的关注函。

泰禾集团评级展望被调整为负面
据了解,深交所要求泰禾集团就"对存货计提约5亿元跌价准备"、"合营联营企业2019年度审定财务报表数据与管理层2020年1月份取得的未审报表数据差异较大的具体原因"、"货币资金使用受限情况或潜在受限情况"、"是否存在其他债务逾期或违约记录",以及"结合有息负债情况是否具备足够的偿债能力"等问题作出进一步说明。

泰禾集团问询函
不是没有好消息。尽管黄其森去年年底的"断臂"战略目前仍无实质性进展,但这位现年55岁的"网红级"地产商人开始启动*管双**齐下式"自救"策略。
据了解,泰禾集团正在洽谈引入战略投资股东,意图通过"输血"满足泰禾集团的降杠杆和运营资金需求。同时,泰禾集团公告称,拟以发行股份的方式购买其控股股东泰禾投资集团有限公司持有的永兴达100%股权。
公开资料显示,泰禾投资系黄其森个人持股公司,该公司旗下核心资产是泰禾人寿(香港)100%股权和泰禾人寿(澳门)99.85%股权。泰禾集团表示,通过收购两家金控公司有助于其充分发挥企业内部的协同优势,并满足客户不同层面的需求。
然而,被视为"救命稻草"的泰禾投资目前也面临着"老赖"的境况。
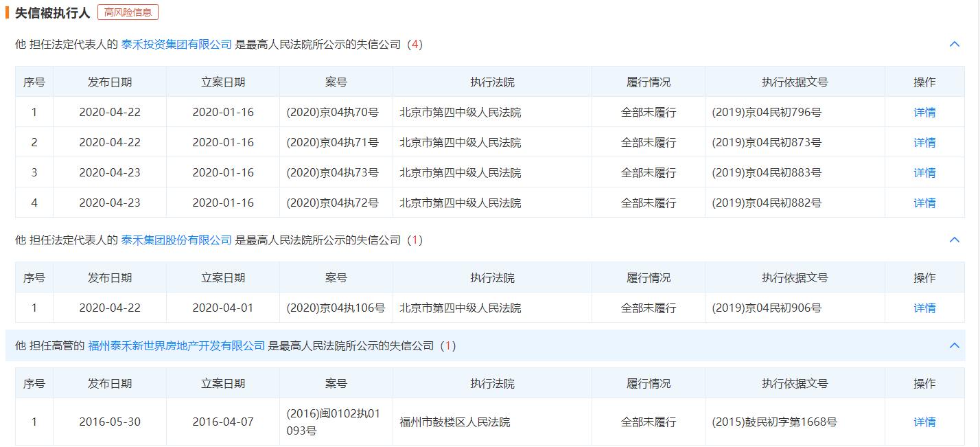
公开资料显示,受被担保对象与国民信托的债务纠纷影响,作为担保方的泰禾投资共有四则失信被执行人信息于2020年4月22日被一同披露,而北京市第四中级人民法院在在同一天向黄其森发出限制消费令。

泰禾投资失信信息
此外,黄其森旗下的福州泰和新世界目前也被列为失信被执行人。
至于引入战投的进程,会一帆风顺吗?
要知道,2019年,泰禾集团是2018年千亿房企阵营的唯一掉队者,合同销售额不足千亿的同时,行业排名更是跌出TOP40。而在前一年,黄其森曾激进地喊出两千亿销售目标。彼时,突破千亿销售额的泰禾集团首度入围房企TOP20。
然而,2019年也是泰禾集团卖资产、降杠杆、缓解流动危机等关键词贯穿全年。据不完全统计,泰禾集团2019年全年共计17次转让资产,并回笼逾百亿资金,但截至2019年三季度,其有息负债仅较去年年中小幅减少62亿至1042.3亿元。
更麻烦的是,泰禾集团还要面对评级下调后借款利率的高企。据了解,2019年,上市房企发行海外债的平均利率为6.90%。而泰禾集团的海外债利率高达15%。
截至2019年年末,泰禾集团的有息负债同比大减近三成至968.03亿元,但其244.99%的净负债率仍远高于同梯队以及TOP30的同期数据,而行业同期平均净负债率仅为90%。

图片来源网络
尽管目前处于停盘期间的泰禾集团仍存在逆袭的可能,但其最新110亿元的市值,已较黄其森高喊"2000亿"口号时创出的历史高点,蒸发逾400亿元。