夏说钓鱼,聊海外钓鱼,助钓友钓技!
钓友在纺车轮和水滴轮如何选择,夏说钓鱼解读下是否选择水滴轮及其选择什么样的水滴轮。

水滴轮简单定义是一个带有旋转线轴,带有触发摇臂,安装于枪柄竿握把上方。直观感觉,不用来回拨动线挡,精准指哪打哪,动作流畅炫酷,产品外观靓丽。
优劣势:优势是抛投方式更多,抛投精准度更高,体积更小更轻,抛投有力量负载能力强,单位时间内抛投次数多。水滴轮缺点是操作复杂且易炸线,对新手不友好。
力量是核心 : 收线力量上水滴轮强过纺车轮 ,纺车轮是螺旋出线,在收线时候鱼的拉力和收线转动力形成接近90度的夹角,不过在中大鱼时候卸力旋钮会锁死。 水滴轮是直接出线 ,在收线时候回卷力量比纺车*大轮**,钓障碍物时候后回卷能很好避免鱼撞入障碍物深处。

快速指南:
1、选速比、轴承数、容线量
新手常用 速比(5.3:1)、(5.4:1)、(6.3:1)、(6.4:1) , 轴承数4+1左右,容量150上下。具体参考本文后面的详情!
2、选钓法
远投水滴轮 : 重饵硬竿,容线更多,投得远。
大物水滴轮 :抛重饵硬饵,容线多,*力暴**强硬。垂钓鲈鱼、黑鱼、鲶鱼、鳡鱼、狗鱼等。
微物水滴轮 :抛小饵,细线软竿,容线少,灵敏轻便。垂钓翘嘴、白条、马口、鳜鱼、鳟鱼等。
泛用水滴轮 :通用性强,休闲钓,推荐新手使用。
泛用型是兼顾远投微物打黑部分特点,新手概念中全能型好水滴轮目前没有,根据上手熟练结合对象鱼标点等再次升级。
3、选性能
主要看机械传动系统和主体结构设计。 上手测试,卸力、微调旋钮、刹车、摇臂、竿重心等。
平衡性 :转动握把,轮座稳定无异常晃动。旋转无偏心,无甩头。
手感性 :机械零部件吻合好,我们经常说得顺滑。反之麻跳,吻合差,内部震动传达握把及其鱼竿上。
一、选择渔轮的思考
鱼竿类型;假饵类型及其大小重量等;对象鱼习性等;钓点环境等;钓鱼经验等;操作速度等;

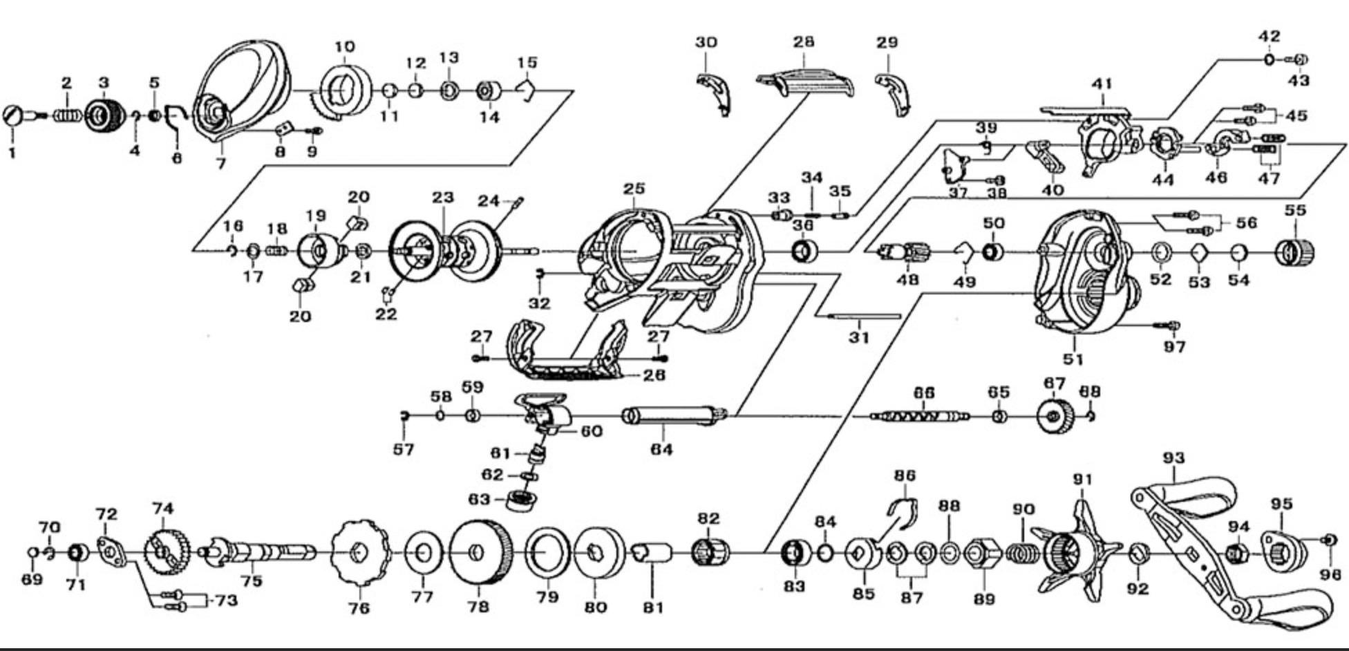
二、水滴轮的结构
水滴轮设计初衷是用来远投及其重饵,采用水平绕线原理,可旋转的线轴。通过摇臂将线绕回线轴,通过刹车来激活自由放线。

(1)放线开关(Spool Release Button):按下可出线,摇柄复位。
(2)线杯(Spool):线杯不仅对于收纳线,而且对于抛投距离和平滑度很重要。通常线杯用铝合金材质,高端线杯由锻造铝制成,常规线杯由压铸铝制成。
(3)刹车(Brake):调节线杯初始转速和线组初始飞行速度,控制线杯的减速速率。
(4)轮座(Reel Foot):和鱼竿固定的部位。
(5)陶瓷出线口(Line Guide):和线轴一起移动,以保证没有大角度的情况下引导上下线轴。
(6)摇臂握把(Reel Handle):左摇臂和右摇臂两种,水滴轮无法像纺车轮可以左右互换,因此需要确定最适合的摇臂。许多人习惯用右手的人使用右摇臂,抛投后渔轮在你的左侧,用右手摇动手柄。
(7)星型卸力扳手(Drag):调节回线的卸力。
(8)微调旋钮(Spool Tensioner Knob):机械刹车力的调节,拧得越紧线杯转速越慢,反之越快。
(9)机身框架(Body Frame):由铝合金或者碳纤维制成,碳纤维框架较轻,建议找同一材质制成的一体框架,高端渔轮通常由一体式铝合金框架制成。

三、水滴轮参数

1、速比 又叫 齿轮比(Gear Ratio)
速比是指旋转手柄一次,卷轴旋转的次数,从而决定了回收鱼线的速度。高中低速比由钓鱼风格决定,资深钓友常备多种速度比渔轮。
水滴轮常见齿轮比是(2.0:1)(4:1)、(5.3:1)、(5.4:1)、(6.3:1)、(6.4:1)、(7.1:1)、(8:1),我们常用的速度比6.4:1,数字越高在旋转次数下可以检索水域面积更大。
使用7.1:1来操控复合旋转亮片(英文spinnerbait)或者胡须公钓组(英文buzzbait),使用5.4:1来操控德州钓组(英文texas rig)、软饵(英文soft plastics),使用4:1来操控小胖子crankbait或者大型复合旋转亮片。在小区域搜索时,较高速比通常更好,因为它们能让钓饵快速收回,快速轻松地准备下一次抛投。

2、轴承数(Ball Bearings)
轴承位于机身中,实现平滑、支撑和稳定性。轴承数越多,越平滑。并不是轴承越多越好,4个优质的轴承远好于10个劣质轴承,我们要注意噪音和震动是低质量轴承的标志。
轴承种类主要是带防尘盖轴承(shielded bearings), 两面带防尘盖轴承(double-shielded bearings), 带密封圈轴承 (sealed bearings)。
轴承精准度按照国家标准分为,G级、E级、D级、B级。同时国际通行轴承精度标准ABEC(ABEC是Annular Bearing Engineers Committee),基于轴承建立尺寸、公差、几何形状和噪音标准,分为1、3、5、7、9,等级越高允许公差越小,该轴承越精密。

3、刹车力 或者 最大拉力(Max Drag)
卸力旋钮锁定后,最大拉力!。
4、最大收线长度(Line Recovery)
摇臂把手绕一圈,绕在线轴上的鱼线长度。

我们可以看图示,同样是5.4:1轮,最大收线长度受到两个因素影响,齿轮比和线杯尺寸。
5、线杯容量(Line Capacity)
容量选择因素:鱼线的类型大小、对象鱼和钓点水体。
淡水钓常见容线量在50-200之间,打黑雷强会用200,超过200容线量海钓用。

6、自重(Weight)
水滴轮本身重量以克为单位计量,轻量化是个大趋势,同时我们需要关注竿轮平衡。


四、制动系统(Braking System)
水滴轮都配有制动系统,在抛投过程中,可以调整和减慢线轴的旋转,以确保这些额外的旋转不会发生。假如没有制动系统的话,可怕的反弹会发生。
1、线轴微调旋钮
线轴微调旋钮是水滴轮一个重要刹车系统,它是手柄一侧的大旋钮,是调节线轴速度的第一道防线。旋钮向线轴施加压力,使得 线轴转得更快(松开旋钮)或者更慢(拧紧旋钮)。
线轴微调的设置,以路亚从竿尖自由下落到地面,线杯不扎线为准。将这个旋钮拧紧,当你松开卷轴,路亚慢慢掉落在地面。一旦触地,线轴立即停止旋转。路亚越重,拉得越紧。

2、刹车原理
初始刹车相对简单,减速刹车处理较为繁琐。根据风阻、风向、线组重、路亚重四个纬度加权影响。优秀的水滴轮设计非常考验设计师,我们经常讨论不会用,其实设计的问题。
A. 初始刹车
抛投结束,拇指松开,线组速度超快,线轴惯性会让线组开始减速,而线轴的转速超过线组的飞行速度,假设刹车系统不能将线轴的速度降下来,这个时候就会出现炸线。
这就是我们要讲的一个高品质刹车系统,能够处理更大的速度范围。 初始刹车力的作用,拇指松开后,让线轴的转速迅速慢下来。
B. 减速刹车
若初始刹车通过,没有炸线,接下来风阻让线组减速,线轴的转速又将超过线组的飞行速度。若不控制线杯的转速,爆线又会发生。
减速刹车用于线组飞行过程中,让线杯和线组一起减速。

如图所示,理想状况是蓝色曲线,没有风,刹车调得很好,各种配重合理。初始拇指松开,线组开始大力量拖拽线轴转动。好的刹车系统要能够在线轴速度在蓝色最高值和线组一致,而不是一致转动;蓝色后半部分是线组减速的过程,线轴要和线组一起减速。
糟糕状态是红色曲线,风阻是水滴轮的致命伤,在风大的状况下,纺车轮完胜水滴轮。红色的后半部分线组速度下降得非常厉害。
3、四种刹车
渔轮三种不同的附加制动系统,市场上主流刹车系统比如禧玛诺SVS(shimano variable brake system无限刹车系统)DC(Dight Control电子控制系统)和达瓦磁刹制动。
A. 离心式刹车(Centrifugal Brake)
水滴轮中较早的一种,在轮子的侧盖会有一定数量的刹车豆,用来调节刹车力。
离心刹车是水滴轮刹车中的手动挡,由离心豆和刹车盘两部分组成。抛投时,水滴轮线轴旋转,打开的离心豆在惯性的作用下甩开去摩擦侧盖上的金属刹车环,产生摩擦力。线杯转动速度越快,刹车豆向外运动的离心力就越大,所产生的摩擦力也越大。能有效降低线杯转动速度,减少炸线。大家可通过调节离心豆开关来调节摩擦力大小, 在抛远和炸线之间求得最佳平衡 。 新手可以先把离心豆都打开,看熟练程度然后成组关闭练习。
优点:刚开始抛投阶段,速度越快对应离心刹车力越大,反而不容易炸线。很多职业钓手喜欢离心刹车原因。
缺点:刚开始抛投阶段,离心豆打开偏多,刹车力过大,损失初始速度影响抛投距离。抛投尾程,线轴速度减少,离心力不足,不能提供有效刹车力使线轴制动,还需要使用拇指按压来避免炸线。


B. 磁力式刹车(Magnet Brake)
水滴轮中常见,在侧盖安装了几颗磁铁,形成一个个的小磁场,用来调节刹车力。
磁力刹车是电磁阻尼现象调整,符合楞次定律,利用线轴旋转切割磁铁的磁力线所产生的磁力,与磁铁产生反方向的作用力来实现刹车,并不是磁铁的吸引力来起到刹车的作用。同时,控制磁铁和线轴距离实现磁场大小,有效控制线轴转速。
转动刹车盘时候,数字从1到10,数字越高,磁铁彼此越靠近,从而产生强力。数字越小,磁铁移动越远,线轴越自由旋转。新手推荐使用数字较高的7或者8,经过大量练习后,使用2或者3。


C.电子式刹车(Digital Brake)
电子微电脑形式的刹车系统,在使用时候有独特的声音,是这种水滴轮一大特点。
D.手指拇指(Manual Brake)
水滴轮最佳的刹车是你按在线杯上的拇指,不管什么特殊的制动系统技术,你的拇指总是需要。在线轴鱼线上施加合适的压力,以便根据需要降低转轴的速度。

五、卸力系统
星型卸力扳手,调节线杯卸力,作用和纺车轮卸力旋钮一样,控制受到一定拉力后,线杯可以制动出线。平滑、高质量的卸力,减少断线和丢鱼的风险。
一般卸力调节在八九成 ,需要调节时候在再根据情况紧急调整,这样不会影响刺鱼的力量和回鱼的速度。

六、炸线(Birds Nest)
炸线或者炒粉、炒米粉,线轴转动的速度比线离开速度快,线就会后退成一团。具体是指抛投后路亚受到 空气阻力或者是路亚入水阻力 ,路亚带动线速度慢于转轴速度,线杯来不及出线,堵在出线孔。
防炸线招数:
抛投力度,避免大力挥竿。
出线速度,调节刹车控制出线速度,和路亚运动轨迹平衡。抛投前,刹车调到大值,保持平稳性。抛投后,路亚入水前20厘米,大拇指按住线轴不要出现转动。
控容线量,理想缠绕满线轴9成。缠满易乱线,7-8成会降低鱼线飞行距离。



七、总结
钓友普遍在纺车轮和水滴轮之间两难选择,夏说钓鱼手把手教你是否要选水滴轮、如何选择合适的水滴轮。
看完上述内容,您对如何选择水滴轮,如何操控好水滴轮及其工作原理比较熟悉了,接下来去选择自己的水滴轮和枪柄竿,让我们一起去路亚吧!
如果还有不清楚的问题,请在评论区留言!感谢对我们的支持,请关注夏说钓鱼!