文|周享玥
编辑|董雨晴
“今日油条”、“饼多多”、“快手抓饼”、“明日油条”……又有一家公司“碰瓷”碰出了新境界。
近日,一家名为“今日油条”的餐饮店成功在一天内“喜提”两个微博热搜,“大火”的原因则是花式碰瓷“*今条头日**”,被后者母公司字节跳动以侵害商标权为由告上了法庭。
据悉,该店不仅在装修、logo、菜单上严重“撞脸”*今条头日**,甚至连标语“关心你的,才是好油条”也与*今条头日**的“你关心的,才是头条”极为相似。

(图源:今日油条官方微信公众号)
除此之外,该店不少店内装饰上还能找到知名餐饮品牌西贝的影子,甚至连2018年火遍全网的王思聪吃热狗头像也被改成了吃油条的动画放在招牌上。油条包装上的“好油条,今日造”则与格力的“好空调,格力造”文案极为相似,堪称“跨界碰瓷扛把子”。
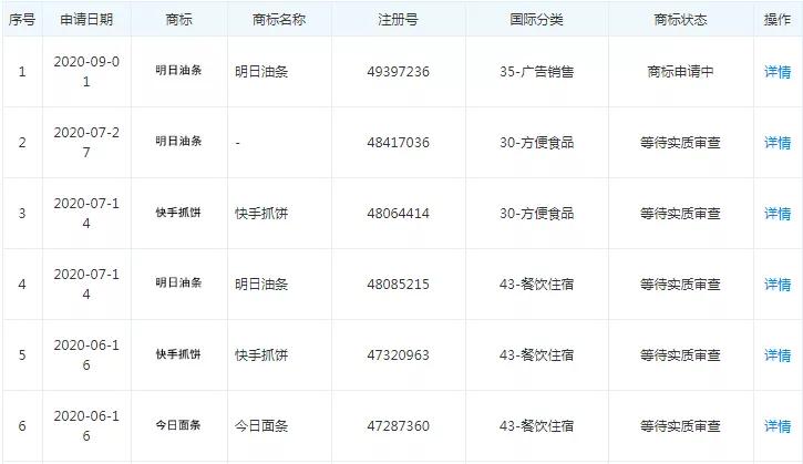
而据天眼查APP显示,“今日油条”背后公司河南今日油条餐饮管理有限公司还在食品、餐饮住宿、方便食品等类目上,申请了今日豆浆、今日面条、饼多多、明日油条、快手抓饼等16个商标,目前均处于“等待实质审查”状态,尚未注册成功。

值得一提的是,作为“今日油条”事件中的另一主角,据天眼查APP显示,字节跳动的商标信息已经高达5000条,其中4264个商标已注册,1483个正在等待实质审查,单2020年就申请了1015个商标,包括与“*今条头日**”类似的山货上头条、金头条、i头条、头条拌饭、尚头条、今日头彩、头条问答、头条建站、头条小备金等“头条系”,以及“抖音”一族的抖火、抖人、抖友、抖车、抖享付、抖音抖店等“抖字系”。

为防被“傍名牌”,大公司能有多努力?
实际上,“今日油条”碰瓷“*今条头日**”等“傍名牌”行为在近些年来并不少见,各种奇葩山寨品牌更是层出不穷。
有人想吃“康师傅”买到“康帅傅”,想喝“六个核桃”买到“六仐核桃”,想买“奥利奥”却拿到“粤利粤”,甚至一度有网友调侃“身穿七匹狠,口含大白免,手拿王老古,喝着娃恰恰,再来瓶脉劫”。

(图源:视觉中国)
此外,在蹭互联网巨头热度方面,也不乏有人申请 “阿京腾百”、“阿里恒大”、“京淘亚马”等奇葩商标,“微信爷”、“微信奶”、“微信妹”、“阿里西里”“阿里西西”、“京东佳人”更是屡见不鲜。

在各种山寨品牌努力“傍大牌”的同时,大牌企业们也不得不想尽各种办法防止被侵权。联手*制抵**“阿京腾百”、“京淘亚马”等商标注册,让其“胎死腹中”只能算得上是小打小闹,提起诉讼,让对方再难蹭热点则是常见操作。
据天眼查APP显示,不管是阿里、腾讯、京东、小米、字节跳动等互联网大厂,还是老干妈、茅台、五粮液等知名食品公司,与商标权有关的诉讼,均排在了其诉讼案由前十名。其中,小米、茅台和五粮液等公司以“侵害商标权纠纷”为案由的诉讼占比甚至达到了六到七成。
而在诉讼反击战之外,更为重要的大工程,则是通过“自我山寨”打造起商标护城河。
实际上,近年来,就有不少大企业为了免受各方商标主体抄袭模仿的困扰,避免企业未来的口水战和法律战,纷纷抢注与自家商标相似度极高的各种“山寨号”作为防御商标,提前抹杀掉其他人山寨的机会。
阿里有阿里爸爸、阿里妈妈、阿里宝宝、阿里弟弟、阿里妹妹、阿里哥哥、阿里姐姐、阿里婶婶,阿里叔叔、阿里舅舅、阿里伯伯、阿里奶奶,阿里爷爷等“阿里一家”;小米有紫米、黄米、黑米、蓝米、绿米、玉米、虾米、米线、米粉、爆米花等“米字一族”;老干妈则将老姨妈、老乾妈、老幹妈、老干娘、老干爹、老干爸、干儿子等“七大姑八大姨”全都注册了个遍。
除此之外,拥有“雪碧”的可口可乐公司注册了“雷碧”,六个核桃注册有“八个核桃”“九个核桃”,大白兔则注册了大灰兔、大黑兔、小白兔、金兔、银兔等兔子一族,就连外来品牌星巴克也都注册了兴巴克、巴克星、新巴克、星巴特、生巴克等读音和文字近似的商标。

而五粮液不仅将一粮液、二粮液、三粮液等数字一到十的各种“粮液”以及五粮纯、五粮神、五良液、五湖液、五良醇、五棉醇、五梁春等“五字头”商标注册了个遍,甚至还曾多次将国家知识产权局、国家工商行政管理总局商标评审委员会等告至法庭,要求将已注册的涉嫌蹭其名牌的商标予以撤销。
AI财经社查询发现,以“五粮液”和“国家知识产权局”、“国家工商行政管理总局商标评审委员会”为当事人关键词在中国裁判文书网进行搜索,就出现有约234篇文书。
其中,2016年底,五粮液就曾因不服商标评审委员会对其申请的“关于三龙酒业公司申请注册的第6284872号‘三龙六粮液及图’商标无效宣告请求”作出的裁定书,而将后者告上法庭。最终,法院判决由汉字“三龙六粮液”及图形构成的诉争商标,与五粮液的“五粮液及图”商标、“五粮液WULIANGYE”商标构成使用在同一种或类似商品上的近似商标,五粮液由此获得胜诉,商标评审委员会需重新作出裁定,并负担一百元的案件受理费。
而在五粮液之外,腾讯、优酷、格力等企业也都曾因商标问题起诉过国家知识产权局等机构。
据2020年6月的一个判决显示,腾讯就曾因针对旗下手游“王者荣耀”被贵州一酒业公司注册成商标一事,向国家知识产权局提出无效宣告请求没能得到支持,而将国家知识产权局告上法庭,并最终获得了胜诉。
不过,申请商标无效宣告的诉讼也并非都能获胜。
同样还是五粮液,其曾在2011年申请注册“七粮液”商标,却因另一商标注册者高某认为此商标与其此前注册成功的“中原七粮御液”、“中原七粮福高”、“中原七粮坊”存在近似情况提出异议申请,而被商标局裁定不予核准注册。
五粮液不服,于是向法院提起诉讼,但在多年拉锯后,还是在2020年6月被判败诉,驳回其全部诉讼请求,一、二审案件受理费各一百元均由五粮液负担。

乐视商标拍出1.3亿,商标背后的价值能有多高?
大品牌费尽心思建起商标护城河背后,商标的价值几何?
初始成本方面,AI财经社通过查询国家知识产权商标局信息发现,受理商标注册费标准在2013年以前,为“纸质商标注册申请每件1000元(限定本类10个商品。10个以上商品,每超过1个商品,每个商品加收100元)。
但这一收费标准到2013年、2017年分别进行了一次降价,从1000元降到800元,再降到“每件300元(限定本类10个商品。10个以上商品,每超过1个商品,每个商品加收30元)”,电子发文的网上申请受理商标注册费标准则在2019年降低为了270元。

尽管单就注册费用来看,商标的成本并不算太高,但大企业若想要有效防止品牌被仿冒,往往需要注册几十甚至上百个商标,并覆盖在45个国际分类中的不同分类中。如阿里,据天眼查APP显示,截至目前,其共有23895条商标信息,其中已经注册的商标就有14813个;腾讯有34789条,其中已经注册的有20623个;茅台有1283条,其中已注册的有1001个;五粮液则有3420条,其中已注册的有2479个。
而商标的价值往往会随着该商标的名气、企业的运营情况、市场需求等不断发生变化,实现增值,甚至出现“天价商标”的情况。
2007年6月底,湘鄂情系列商标注册,一度被认定为“中国驰名商标”;到2015年中科云网转让“湘鄂情”系列商标时,其受让价格就已经高达1.3亿元人民币。
2020年4月14日,快播名下234项商标(其中有188项在专用权期限内)在阿里司法拍卖平台被拍卖,以评估价4.51万元起拍,保证金5000元,却引得3.85万次围观,18人报名,并最终以950.06万元高价成交。不过,此次交易最终因买家未能缴纳剩余的949.5万元余款未能达成,于7月再次拍卖,经过42次竞价,最终以140.411万元成交。
同样是2020年,乐视名下1354件商标(其中五项已注销)在京东司法拍卖平台上拍卖,评估价仅19.49万元,起拍价13.64万元,保证金1.3万元,却引得12.67万人围观,106人报名,经过1376次竞价后,并最终以约1.31亿元价格成交,较评估价翻了超670倍。

一些企业的商标能在企业经营不善转卖时,仍然拍出高价,有些企业却因未能及时注册商标,不得以高价将其赎回。
2002年10月,由韩国现代集团与北京汽车投资公司合资的北京现代正式成立,但直到汽车上市后他们才发现,“现代”商标早在1996年就被浙江杭州的章鹏飞注册,如果此时在中国销售“现代”汽车,将属于侵权行为。于是,北京现代董事长只好亲自找到章鹏飞商议商标转让一事,并最终以约4000万元获得了汽车类下的“现代”商标。
而苹果初入中国市场时,还曾为了拿下中国内地的“iPad”商标,将官司打到广东省高院。
据悉,苹果在2010年2月从IP公司手中拿下了唯冠在各国登记注册的10个iPad商标,而IP公司手中的iPad商标是从台湾唯冠公司手中买来的。但苹果公司却忽略了一个问题——中国内地的iPad商标,并不在台湾唯冠手中,而在深圳唯冠手中。
随后,苹果要求深圳唯冠变更其持有的两个商标权属的注册登记遭到拒绝,双方遂出现纠纷,并在2010年5月诉诸法院,一直到两年后,法院宣布,双方达成和解,由苹果向深圳唯冠支付6000万美元获得iPad商标在中国内地的使用权。苹果的这次商标“失误”也给中国企业们敲响了商标警钟。

(图源:视觉中国)
值得一提的是,高价值商标背后,也不乏有人靠着注册商标成功“致富”。
据《河南商报》报道,2015年10月,一个名叫俞春永的酒企老板在《花千骨》电视剧热播时看到一篇文章里提到了一个新词“洪荒之力”,于是想着“注册试试”。2016年11月,国家工商总局给出商标申请核准注册,俞春永成功拿到了“洪荒之力”33类的商标证书,注册费及委托代理费等仅花去1300元。
而随着2016年8月奥运会期间,游泳运动员傅园慧赛后受访时说的一句“我已经用了洪荒之力了”的爆火,不少人找到俞春永要购买这个商标,最终,这个商标以100万元卖出。
同样的事情还发生在热播剧《芈月传》身上。据报道,河南郑州一小伙在读完《芈月传》小说后,曾想以此为名开一家糕点店,于是花4000多元成功注册了“芈月”商标。但随着《芈月传》热播,“芈月”商标身价暴涨,仅16个月后,广东一家食品企业就开价100万元欲购买此商标。
不过,能将商标转卖出“天价”的毕竟还在少数。随着商标注册制度的规范,个人抢注商标以期获利并不容易。据多家商标交易网络平台信息显示,大部分商标报价在10万以下;其中,又以2万到5万居多。

(图源:八戒知识产权)
此外,商标具有一定的使用年限,如若到期不申请展期,则会失效。以某商标交易网络平台上一个名为“保成”的服饰鞋帽类商标为例,报价4.5万元,但这个商标已经注册8年,将于2022年3月27日到期。另有一个名为“电商”的科学仪器类商标,报价6.16万元,也仅余3年就到期。

