网约车司机圈有一段经典问答,被大家评为“教科书”应答。
运管问司机:为什么无证还要跑?
司机的回答:可以接单为什么不能跑?
如司机所说,平台不给无证司机派单,没有订单可接,就不会存在非法营运。说到底,司机是有责任,但是论责任大小,平台更大,这事应该从源头开始治理,才能治标治本。
好在,从目前政策来看,各级主管部门已经越来越重视落实主体责任, 不仅会严查司机,也注重从源头查起,重罚平台。
9月1日,深圳市新的《出租汽车管理条例》开始实施,相关条款可说是强化了对网约车平台的监管,明确了网约车平台的主体责任。根据规定, 平台如果违规派单,将承担1万元以上3万元以下的罚款,而无证司机是1千元以上3千元以下。


在此之前, 上海市曾查处一无证网约车,司机被罚1万,而对平台开出的是10万罚单。 很多司机朋友表示对平台的处罚就应该更严才对。

在更高层面,7月12日,交通运输部发布最新通知,拟对《道路运输车辆动态监督管理办法》和《网络预约出租汽车经营服务管理暂行办法》做出修改,就大幅降低了对司机的处罚额度。

8月25日,交通运输部公开2021年第15号令,发布并开始施行《交通运输部关于修改〈出租汽车驾驶员从业资格管理规定〉的决定》,降低了对无人证网约车司机的罚款额度。
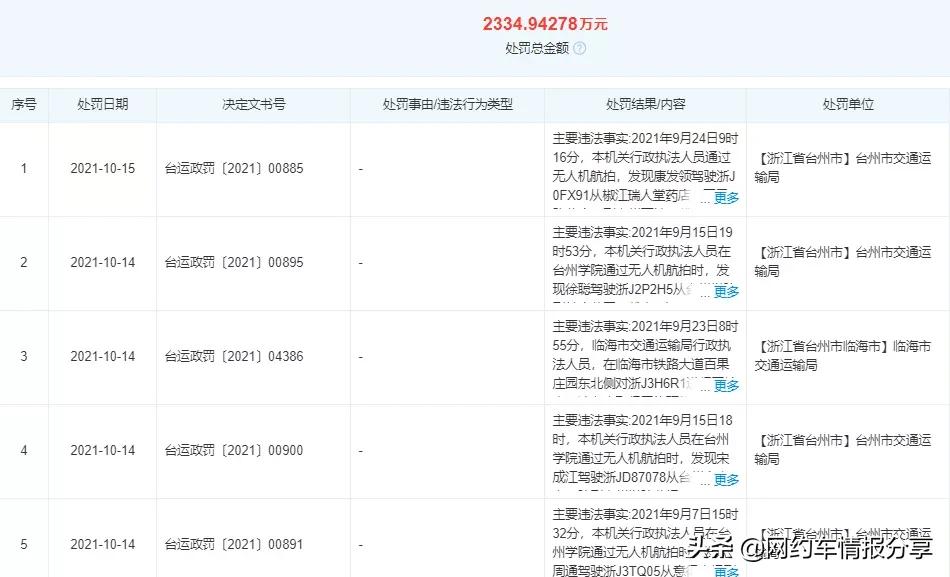
从平台来看,公开数据显示,滴滴、美团、曹操等由于为无证车、无证司机派单,不断遭到重罚。处罚金额之巨,滴滴已达近2335万,美团近300万元,曹操也有近百万元。



在合规化大势下,平台违规运营的风险和成本正持续增加,而对司机处罚相对以前有所减轻。
不过,值得注意的是,目前不少城市依然沿用以前的政策进行处罚,无证司机面临的依旧是高额罚款,依然是许多人无法承担的。
再加上,近日,有城市无证司机被查之后,在没有*力暴**抗法情况下,被以涉嫌扰乱公共场所秩序罪行政拘留5天,这样的后果,也是绝大多数司机无法承受的。

所以说无证或是单证的司机师傅,是尽快*证办**合规还是弃坑,该想想了。