简介

目前,轴承棒料加工都是采用人工上下料,并且靠人工进行装夹工件,工人的劳动强度极大,一班次下来操作者需要搬运数吨重的棒料,不仅工人的体力受到考验,而且劳动效率很难保证,产品质量波动较大,因此生产任务经常不能按时完成,影响到企业的经济效益。

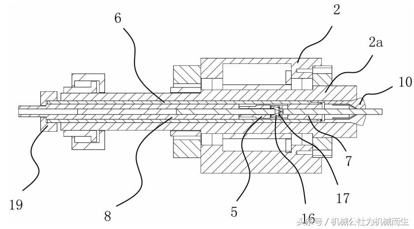
全自动数控车床 该数控机床包括用于加工棒料的主机和分设在主机两边的前机架及后机架,所述的前机架上侧部安装有用于放置棒料且倾斜设置的料盒,所述的前机架上具有输料通道且所述的料盒出口处与输料通道相通,所述的前机架上安装有能将输料通道内的棒料输送到主机上的送料装置,所述的主机上安装有当棒料经送料装置输送到主机上时能将棒料挡住的挡料装置,所述的后机架上安装有用于接收加工好的棒料的接料装置。该数控机床通过在前支架上安装送料装置,在机架侧部安装用于放置棒料的料盒,在棒料自身重力及后方棒料挤压下棒料能自动进入到机架输料通道内,同时通过由气缸带动的顶杆将进入到输料通道内的棒料推入到用于加工棒料的主机内,并在主机上安装有挡料装置,通过挡块当输送到主机上的棒料挡住,防止棒料在顶杆推动下输送过头。这种结构虽然实现了棒料自动化输送功能,但是依旧存在下列一些问题 :
1、由于棒料自料盒滑落至输料通道上后,由顶杆将棒料推入至主机内并由设置在主机前方的挡料装置挡住后才能被主机夹头夹紧,在这个过程中顶杆至始至终顶在棒料后端并走完整个行程,这样就造成效率低下的问题 ;
2、在夹紧至临界状态时,由于顶杆细长,容易弯曲,每次弯曲程度不一样,造成定位不准 ;
3、当主机夹头夹紧棒料时会对棒料产生一个后推力,由于在夹紧过程中需要顶杆顶在棒料后端部上,因此顶杆的推力必须要大于主机夹头夹紧时所产生的后推力,从而对控制顶杆移动的气缸要求较高,增加了生产成本 ;
4、当轴加工好后,需要顶杆继续前移才能将轴从主轴处移出并落入至下料板上,这样使得顶杆一次前移推动只能完成送料或落料工序,即送料和落料两道工序只能单独分开执行,即增加了顶杆的移动距离,又降低了工作效率
批量、长时间轴类全自动加工的数控车床

包括工作平台、用于加工轴且带有主轴的主机和分设在主机两边的前机架及后机架,前机架上侧部安装有用于放置轴的料盒,前机架上具有输料通道且料盒出口处与输料通道相通,前机架上安装有能将输料通道内的轴输送到主机上的送料装置,后机架上安装有用于接收加工好的棒料的接料装置,

主轴内设有夹紧拉管并在夹紧拉管前端安装有弹性夹头,其特征在于,工作平台上安装有一引料座并在引料座上设有一用于抓取轴的双臂机械爪,引料座与接料装置之间设有一引料装置且当引料装置位于主轴正前方时引料装置与主轴处于同一轴心线上,夹紧拉管内安装有同轴心的定位座并在定位座内安装有一用于阻挡轴通过的定位机构,且位于定位座内的轴在外力作用下才能通过所述定位机构。

与现有技术相比,为了缩短顶杆的移动距离,避免顶杆弯曲造成定位不准,提高工作效率及无需考虑顶杆推力必须要大于主机夹头夹紧时所产生的后推力,在对轴进行加工前通过事先编辑好的程序控制预先将轴类产品由顶杆推入至后引料管内直至后引料管内塞满轴为止,

在需要对轴进行加工时,顶杆只需将输料通道上的轴推入至夹紧拉管内,通过该推力将夹紧拉管内原先预放的轴撑开定位座上的第一压料爪并部分露出主轴,也就是说该轴前端露在主轴外,后端被第一压料爪压住,

再由双臂机械爪将该轴抓取出来( 这里只要轴离开第一压料爪多一点就行了,不用完全离开主轴 ),同时由于合拢后的两第一压料爪前端之间的间距小于轴的直径,因此该轴的后端能抵靠在两第一压料爪的前端面上而不会重新进入到后引料管内。
【机械公社】致力于提供机械的行业技术 ,为行业人士建立和拓展全技术能力提供技术服务,是机械行业一个跨屏技术互动应用系统。更多行业技术请关注微 机械公社圈

