SockDock®是一种简单易用的袜子洗衣工具,旨在在洗涤,干燥和存放时将袜子成对保存。可以帮助小朋友学习收纳整理的能力。



它的用法很简单,只需要
①将脚爪形状的挂钩放在门把火其他能固定的地方;
②将脏袜子放在两个滑块之间,并固定;
③将整条SockDock®放进洗衣机,等洗衣机工作结束拿出来就行。
专利解析

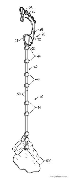
US10244799B2 申请日:2016-09-15
一种袜子存放和整理装置,包括上端的附着部分以及可拆解的依赖部分。依赖部分是一个环形的拉绳部件,该部件包括设置在连接部分上的钩杆件接触的顶点,一对平行于其设置的线,以及相对于顶点远端设置的最低点。每一对股线都串过多个可滑动的扣件中,其中每个可滑动的扣杆件可沿着环形拉绳杆件的长度调节。因此,袜子对通过相邻的多个可滑动扣件之一的相邻位置在每对链之间是可隔离的。用户可以方便地存放袜子以供穿着,并按顺序更换随后穿的袜子,以便作为一个整体进行洗涤,移植,洗涤和维护。

USD807060S1 申请日: 2016-09-14
跨境侵权Ella说 最懂跨境侵权的法律人,随时随地分享最新的跨境资讯,预防侵权。顺带分享一些亚马逊知产干货 50篇原创内容 -->
公众号:跨境侵权Ella说,欢迎关注。#亚马逊##跨境电商资讯#