文|AI财经社 刘碎平
编|梁夜
本文由AI财经社原创出品,未经许可,任何渠道、平台请勿转载。违者必究。

2月20日,新三板上市公司宏良皮业一则公告,再次将自己的“老赖”标签坐实。
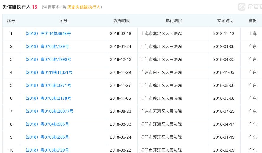
工商信息数据显示,这家于2016年10月在新三板挂牌上市的企业,自2017年起频繁被纳入失信被执行人名单。据不完全统计,该公司2018年合计上榜10次,3年累计成为“老赖”13次。
3年13次被列为失信被执行人
2月20日,宏良皮业公布“关于公司被纳入失信被执行人的公告”。该案于2018年11月12日立案,于2019年2月18日公开。上海市嘉定区人民法院作出裁定失信被执行人行为具体情形为:有履行能力而拒不履行生效法律文书确定义务。
生效法律文书确定的义务包括:1、被告宏良皮业应于本判决生效之日起十日内给付原告上海皮尔卡乐福益化工有限公司(以下简称“皮尔卡乐福益化工”)货款78.82万元;2、被告宏良皮业应于本判决生效之日起十日内,赔偿原告皮尔卡乐福益化工以77.33万元为基数、自 2015 年 7 月 1 日起至判决生效之日止,按中国人民银行同期*款贷**利率为标准计算的逾期付款利息损失。如果未按本判决规定的期限履行给付金钱义务,则应按相关规定,加倍支付迟延履行期间的债务利息。
此外,还包括案件受理费 11682 元,减半收取 5841 元,保全费 4461 元,合计诉讼费 10302 元,由被告负担。以上全部未履行。
工商信息数据显示,宏良皮业最早被列为老赖是在2017年。广州市白云区人民法院当年12月13日公布的信息显示,被告宏良皮业支付原告广州市客通贸易有限公司货款本金及诉讼成本(含诉讼费、保全担保费、查封差旅费、律师费)共101.1万元,分四期支付。此外,案件诉讼费6843元由原告和被告各负担一半。以上全部未履行。
此后,这家挂牌新三板一年左右的上市公司就在老赖的路上游走,且越走越远。2018年,宏良皮业累计被江门市、广州市、兰州市相关法院列入老赖名单10次。
经AI财经社不完全统计,3年13次被列为老赖的宏良皮业累计未履行欠款约1400万元左右。

带病挂牌新三板,曾因吹牛皮止步IPO
宏良皮业成立于1997年,主营业务为中高档牛皮鞋面革、包袋革的研发、生产与销售,主要产品为男鞋鞋面革、女鞋鞋面革、包袋革。2008年,以整体变更方式设立股份公司。
宏良皮业称,公司产品定位于中高端领域,产品应用于达芙妮、千百度、奥康、百丽、思加图、接吻猫、森 达、意尔康、康奈、红蜻蜓、星期六、天美意等十多个国内著名鞋类品牌。
2016年8月公布的《公开转让说明书》显示,2014年度、2015年度及2016年1-2月,宏良皮业分别实现营收9.71亿、8.18亿、9034.99万元;实现净利润3862.71万、9607.79万、-369.67万元。

《说明书》还花了大篇幅去说明存在的风险,包括由于短暂的资金困难,截至该报告期末公司已逾期短期借款3.76亿元;2014年度、2015年度,公司经营活动产生的现金流量净额分别为-3.14亿元、-2.05亿元;截至2016年2月29日,公司存货账面价值为19.24亿元,占总资产的比例为63.34%,其中90%以上是原料皮和半成品,存在减值风险;应收帐款高企,报告期内,账龄在 1 年以内的应收账款占 70%以上等风险。
果不其然,宏良皮业长期埋下的地雷,在新三板挂牌成功以后,接连爆响。
挂牌第一年,宏良皮业就因未在2016 年会计年度结束之日起四个月内编制并披露年度报告,收到全国中小企业股份转让系统对公司及相关信息披露责任人采取自律监管措施的警示函。
之后,宏良皮业诉讼不断。工商信息数据显示,截至目前,宏良皮业涉及诉讼案件40余起。案由主要为金融借款合同纠纷、买卖合同纠纷、借款合同纠纷等。
此外,宏良皮业还出现私募债逾期的情形。2016年9月28日、10月11日,宏良皮业在甘肃股权交易中心发行了“16宏良01”、“16宏良02”,发行总额为人民币2000万元,发行期限为12个月,票面利率为6.8%,半年付息一次。上述债券分别于2017年9月29日和10月12日兑付本金及最后一期利息。但因发行人宏良皮业资金紧张,未能按期支付到期本息,构成违约。
挂牌一年半不到,宏良皮业又申请公司股票在全国中小企业股份转让系统终止挂牌,公司股票自2018 年 2 月 1 日起暂停转让。2019年1月15日公告显示,宏良皮业已申请股票延期恢复转让,预计最晚恢复转让时间延期至2019年4月15日。 当前,宏良皮业摘牌申请工作尚在进行之中。
挂牌新三板前,这家造牛皮的公司却曾因为“吹牛皮”而被拦在IPO门外。2012年5月21日,宏良皮业IPO申请获证监会发审委通过,拟募资2.65亿元,逾九成将投向新增年加工45万标张牛皮革扩建项目。不过,就在宏良皮业一只脚踏进资本市场的时候,却被指从采购、生产到销售环节都存在造假嫌疑。
挖贝网的数据显示,截至2018年10月31日,新三板共有10892家挂牌公司,其中甘肃有37家,占0.3%,而宏良皮业以7.77亿元市值排名第三。