知豆电动汽车成“老赖”,补贴大幅减少后,新能源汽车企业何去何从?
近年来,新能源汽车发展境况备受瞩目,经常能在街道上看到难以辨识标志的新款车型,随着传统车企和互联网巨头加入、新能源汽车补贴标准提高等因素影响,对于部分车企来讲,也面临销量下滑、财务境况不佳等风险。
近日,新能源汽车企业知豆电动汽车就陷入被指拖欠*款贷**,隐匿财产规避执行的负面之中。媒体梳理还发现,知豆电动汽车还面临股权冻结、销量断崖式下跌等问题。
拖欠货款超2亿 隐匿财产规避执行

企查查数据显示,知豆电动汽车有限公司于2019年6月10日被公示为失信人,立案时间为2019年1月7日,执行法院为宁波市中级人民法院,案件内容为“支付货款2亿多元及相关利息”的义务“全部未履行”,具体情形为“有履行能力而拒不履行生效法律文书确定义务,隐匿财产规避执行”。

实际上,知豆电动汽车早已经负面缠身。
数据显示,知豆电动汽车分别在2018年10月、12月以及今年1月、2月发生过股权冻结,合计冻结金额超过5亿元。另外,知豆电动汽车有限公司的法定代表人鲍文光也曾在2017年被冻结7275万元,但已于2018年6月解除冻结。
此外,各地法院发布多宗知豆电动汽车作为被告与其他公司纠纷的民事裁定书,纠纷类型包括买卖合同纠纷、企业借贷纠纷、劳动者争议纠纷以及拖欠其他公司货款的纠纷。

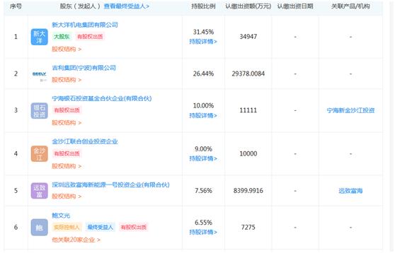
据了解,知豆电动汽车成立于2006年,是中国最早进入新能源汽车领域的企业之一,由新大洋集团、吉利控股集团、金沙江联合资本等合资成立。
我们通过查询知豆电动汽车股权结构得知:新大洋机电集团有限公司持股比例为31.45%;第二大股东为吉利集团(宁波)有限公司,持有26.44%;第三大股东为宁海银石投资基金合伙企业(有限合伙),持股为10%。

从宁波市中级人民法院的表述“有履行能力而拒不履行生效法律文书确定义务,隐匿财产规避执行”来看,知豆电动汽车并非没有钱。
就在今年的1月21日,南京市工信局还发布消息称,“知豆电动汽车有限公司年产20万辆新能源汽车制造基地”项目签约,该项目总投资120亿元,占地约1200亩。项目建成后,预计年产新能源整车20万辆,生产的车型包括轿车和SUV。
新能源汽车补贴大幅下降 行业进入洗牌阵痛期
今年3月底,财政部等四部委发布《关于进一步完善新能源汽车推广应用财政补贴政策的通知》明确指出,今年的新能源补贴政策中,将继续大幅降低补贴金额和提升补贴门槛。(传送门:解读新能源补贴:补贴到底退坡多少?带来什么影响?哪些公司或受益?)
以纯电动乘用车为例,对比2018年补贴政策发现,新政的补贴简化成了两档,续航低于250公里的车型不再享受补贴,250公里(含)—400公里(不含)的车型补贴由3.4万—4.5万元不等下调至统一的1.8万元。其中,300公里(含)—400公里(不含)一档退坡幅度最大,达到了60%;续航400公里之上的补贴金额则由5万元降至2.5万元,降幅也达到一半。
另外,插电式混合动力乘用车的补贴金额从2.2万元降至1万元(纯电续航需大于50公里),降幅同样超过五成。
除此之外,各地的地方补贴,将在6月25日之后彻底取消。
在补贴等政策福利消退的情况下,新能源汽车面临行业洗牌的“大考”,知豆电动汽车也未能幸免。
我们查询知豆的几款主打电动汽车得知,知豆的D2乐享版在60km/h等速纯电续航里程下仅为180公里,未达到补贴要求。

新能源电动车补贴新政提高补贴门槛之后,微型电动车代表知豆电动汽车开始出现销量大幅度下滑的情况。
数据显示,知豆2018年全年销量为1.53万辆,同比下跌63.9%,与其年初制定的8万辆销量目标更是相距甚远。2019年前5个月,知豆仅售出1250辆,5月份销量仅为345辆。
据悉,中国新能源汽车2018年新售及在研车型达到166个,超过历史总数的一半以上。业内观点认为,新能源汽车补贴退坡,销售回落,行业将经历洗牌的阵痛期。
来源:第一电动网
作者:车资本
本文地址:https://www.d1ev.com/kol/93291