视频加载中...
现代快报讯(记者 李子璇)“你家有培林跳绳卖吗?”“有的,85元一根。”2022年8月,淮安近百家文具店陆续收到律师函,还成了被告。对方称因售卖了假冒“培林体育”的跳绳,涉嫌侵权,要求三日内回电解决,赔偿1.2万元到3万元不等的侵权费。这把商家们吓得不轻——一根利润20元的跳绳怎么要赔偿好几万?日前,淮安区文具店经营户邵先生致电现代快报96060热线,“我到底是真的侵权,还是遇到了碰瓷维权?”他很困惑。
赚了20元成了被告,50多家商户开庭应诉
“因为这个跳绳进价贵,我们最多进货一两根,这卖出去的一根,还是公证人员买走的。突然被起诉,要求赔偿几万元,真是吓死人了。”3月15日,淮安市淮安区店主邵先生告诉现代快报记者,自己做了7年文具店生意,第一次遇到这种情况。每次进货他都是去固定品牌专营店,除了一些文具,他也会批发一些体育用品,供学生们挑选。可是这次在品牌店里进来的跳绳给他带来了*麻大**烦。

△公证人员来店
邵先生回忆,当时有三名男子来他店内询问跳绳,然后一人付款,一人拍照,后来他才知道,那几人是取证人员和公证员,周围几家商铺都是这么个流程。
没多久,他就收到了律师函,要求各商户三日内电话回复苏清律师事务所,协商解决纠纷。若对此事置之不理,对方将根据委托人的授权,采取必要的法律措施,包括行政查处、起诉到法院,以制止侵权,追索损失。他联系多家文具书店发现,不少人都收到了律师函。少数商户主动联系,得知赔偿即可,价格在1.2万元到3万元不等。不久后,他们收到了当地法院传票。
2022年10月19日,淮安市淮安区人民法院针对此案开庭审理,当天下午到庭应诉的商户有50多户。庭审中,经举证涉案产品已验证为“非官方产品”。
在开庭现场,江苏苏清律师事务所委托代理人律师艾黎清为“培林公司”作陈述,江苏全省没有培林跳绳的授权点,凡没有经过培林跳绳官方认证委托、授权销售的均视为侵害了培林跳绳的商标权,也就是说在江苏任何地方进货的跳绳均为侵权行为。
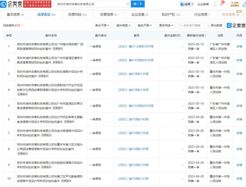
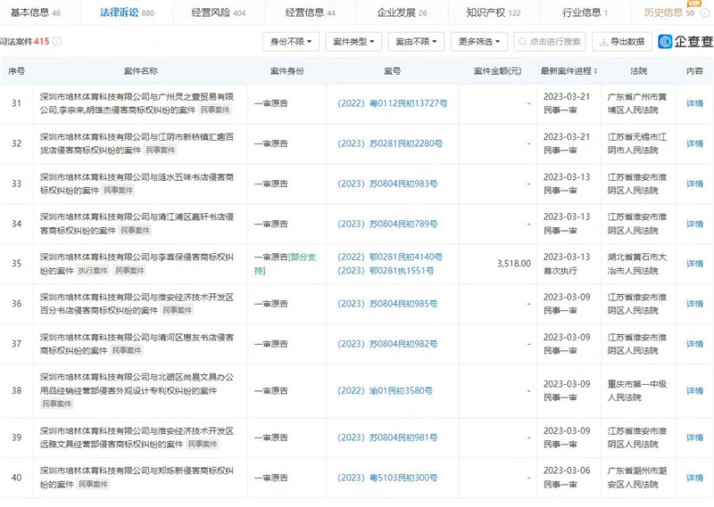
880起同类诉讼,“培林”在全国各地维权
现代快报记者在企查查上搜索深圳市培林体育科技有限公司发现,涉及该公司的法律诉讼有880起,近期就要和上百家打官司,涉及到全国各地商户,大多案件名称是侵害外观和侵害商标权。


记者试图电话联系“培林公司”代理律师采访,但是拔打多次均处于关机状态。
在邵先生提供的民事起诉状中,记者看到,“培林体育”提出,其产品电子计数跳绳因计数准确、质量优异,是多地中小学考试首选品牌。由于品牌知名度提升,市场上充斥着大量假冒、侵权产品,严重影响了品牌形象,并且损害了自己的经济利益,还造成了消费者的混淆,希望法院维护自己的合法权益,判令该商家赔偿3万元人民币。
“商品种类这么多,我们怎么知道是不是侵权呢?我们都是从正规品牌店进的货,要起诉应该起诉源头,而不是找我们。”邵先生表示确实不知道自己进的是侵权商品,他希望市场监督局等相关部门联合整治源头市场,而不是让商户单方面受罚。
邵先生告诉记者,商家们已经不卖涉案产品,且存货已退还给批发商,不存在停止销售、销毁库存的行为,希望法院酌情考虑再判决。
现代快报记者从淮安当地法院系统获悉,目前该系列案件还在办理中。
何种情况不是侵权?律师说法
3月15日,现代快报记者采访了江苏天哲(淮安)律师事务所陈彦兮律师,他表示,如果销售商户销售的跳绳是培林厂家或其授权生产者生产的,商户在没有其他商标使用行为的情况下一般不构成侵权。
如果商户销售的商品并非来源于培林厂家或其授权生产者,分为两种情况:(1)商户不能证明赝品的来源,则应当承担侵权责任和赔偿责任。(2)商户不知道其销售的是赝品,且能够证明其赝品来源于合法渠道且能指出来源的,构成商标侵权,但不承担赔偿责任。邵先生声称自己并不知道销售的是假冒产品,并且也提供了批发商处购买的证明。
最后,未经厂家授权经销的行为并不一定构成商标侵权。比如一些品牌拥有自己的加盟店,同样也有批发商进购正品商品,各种品牌混合在一起售卖,但是并没有特意贴标展示宣传,这种就不一定算是商标侵权了。