看过综艺节目《快乐大本营》的都知道,里面有一个环节叫“谁是*底卧**”,具体的玩法就是在众多游戏平民玩家中找出混在其中的*底卧**,不过在权小妹看来,这玩法和狼人杀是同一个类型的!
因为“谁是*底卧**”的火热,也招致了很多人纷纷看好这种互动的游戏模式,在手机应用商店里也能搜到很多此类的游戏。
不过也有人比较贪心,想要将“谁是*底卧**”注册成商标,彻底归于自己所有!

“谁是*底卧**”被注册成玩具商标
权小妹在权查查平台查询后发现,其实有很多人、公司都申请注册了“谁是*底卧**”的商标!
“谁是*底卧**”被申请了28次,其中上海怡游商贸有限公司早在2012年11月14日就申请了第11743991号“谁是*底卧**”商标,后经异议程序于2015年12月21日获准注册,核定使用在第28类玩具、纸牌等商品上。

图片来源:权查查
看到这样的商标被注册了,认为它是不合理商标,想要对它提出异议有以下几种方法:
01. 商标异议
商标异议需要申请人在公告日起3个月内向商标局提出不应给予以注册的意见。鉴于现在这枚商标已经注册成功了,所以这已经是不可能的事了!
02.商标撤三请求
如果一枚商标三年都没有使用,那么任何人和任何公司都可以向商标局申请进行撤三的请求!不过,依照这样的情况来看,这枚商标估计用的很勤,也不合适。
03. 商标无效请求
对于违反不具备可视性、显著性和合法性的,可以被宣告无效;以及因与他人在先权利冲突而无效,因侵犯他人驰名商标权而无效,因抢注他人未注册商标而无效,因违反代理或代表的规定都可以进行无效的宣告!
谁是*底卧**有争议
申请人认为:争议商标“谁是*底卧**”一词并非申请人独创,是公众知晓的电影、小说及游戏名称,“谁是*底卧**”游戏源自湖南台知名综艺节目《快乐大本营》,在节目播出后该游戏迅速流行起来。
“谁是*底卧**”游戏现已成为公众知晓的一种游戏的通用名称,争议商标“谁是*底卧**”注册使用在第28类游戏器具等相关商品上,仅表示了商品的通用名称,缺乏显著性,不得作为商标注册。
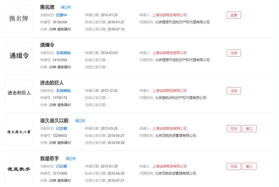
而且被申请人名下有多件商标为知名电视节目名称,如“我是歌手”、“撕名牌”等,是一种投机取巧、不正当竞争的行为,争议商标的注册必将扰乱正常市场秩序。

商标局意见
商标局审理认为:“谁是*底卧**”已成为相关游戏的通用名称,却不足以证明“谁是*底卧**”经使用已成为申请商标指定使用的第28类玩具、纸牌等商品的通用名称。
鉴于玩具、纸牌等商品与游戏的高度关联性,作为游戏通用名称的“谁是*底卧**”文字使用在上述商品上不具备足以使相关公众区分商品来源的作用,缺乏商标应具有的显著特征。争议商标已构成《商标法》第十一条第一款第(三)项所指之情形。
另外经查询,除争议商标外,被申请人先后在28类上申请注册了“撕名牌”、 “我是歌手”等多个与知名电视综艺节目相同或相近的商标。其攀附他人知名度、谋取不正当利益的目的较为明显。

图片来源:权查查
该类不正当注册行为明显超出了正常的生产经营需要,扰乱了正常的商标注册管理秩序及市场经济秩序,损害了不特定多数商标申请人及相关公众的利益,已构成《商标法》第四十四条第一款“以其他不正当手段” 取得商标注册之情形,因此被商标局无情驳回。
版权声明: 本文素材来源于网络 。版权归原作者所有,仅供学习参考之用,禁止用于商业用途,如有侵权,请联系删除。
-END-