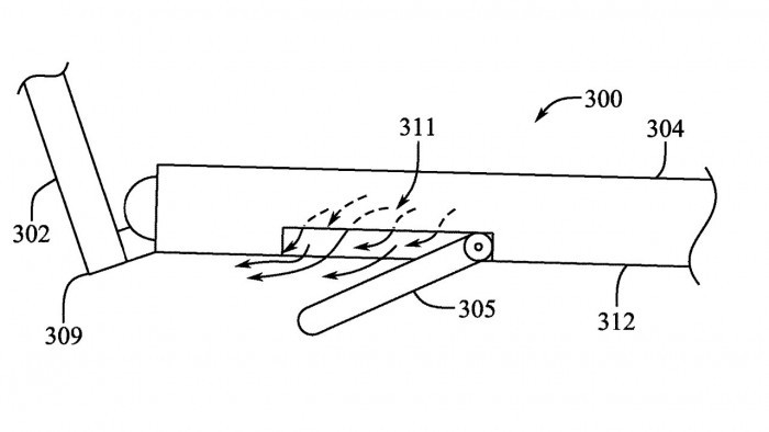
随着人们对于笔记本机身厚度与重量越来越在乎,也使得高性能/游戏笔记本加入到轻薄阵营中。但想要极致性能就与机身良好的温控散热分不开,所以不少高性能机型纷纷采用了升降机身底座的设计。而此次MacBook Pro也在进行相应结构探索。不过设计思路是采用无缝铰链而非两段式蛤壳设计。

相信对于可升降笔记本底座机型,大家也见过不少。就在去年荣耀猎人V700游戏笔记本就是可升降底座的一个代表,官方称这种设计为风谷,还配有蓝色氛围灯,当屏幕打开时机身在机械结构的带动下缓缓被托起,幽兰色氛围灯照亮四周很是炫酷。

而官方给出的升降式风谷设计优势有两点:首先,进风量增加40%,有利于散热;其次,机身被托起之后,C面与桌面呈现一定倾斜角度,打字的时候手腕更舒服。

此外,如果你还记得ROG Zephyrus M GM501笔记本,那它可谓是升降机身机型的前驱之一。
此次,MacBook Pro不仅是无缝铰链控制笔记本机身升降,而且还是电脑自动判断是否开启额外通风的操作。苹果表示,当电子设备温度正在接近或已经超过一个预先确定的阈值温度,由系统传感器确定,可部署这种底座抬起功能,以降低电子设备的工作温度。


