
“逆向出海中国芯片企业之一。”
本文为IPO早知道原创
作者|刘小七
据IPO早知道消息,杭州华澜微电子股份有限公司(下称“华澜微”)已与财通证券签署上市辅导协议,并于近日在浙江证监局备案,拟挂牌科创板。
华澜微曾于2015年11月登陆新三板,并于2019年8月终止挂牌,开始着手在科创板挂牌上市做准备。
华澜微成立于2011年,于2015年6月完成改制,主要从事数据存储和信息安全的核心技术研究,提供数据存储和信息安全领域的集成电路芯片和技术方案,是我国唯一全系列拥有数码存储控制器芯片的高科技公司。
华澜微产品应用于存储卡、U盘、移动硬盘、固态硬盘、硬盘阵列以及大数据存储系统,代表客户主要有联想、紫光存储、爱国者、江波龙、朗科等知名企业,及中电海康第52研究所、中国航天科工集团、公安部第一研究所等企事业单位。
华澜微于2015年并购了美国initio® (晶量)公司的桥接(Bridge)芯片产品线,形成了initio®Bridge芯片系列,打开了国际市场。同时推出的包含加密模块的集成电路芯片和技术方案也填补了国内信息安全领域缺少自主芯片的空白。
目前,中国集成电路芯片进口额已超过石油、铁矿石,成为第一大单项进口商品。华澜微却成为逆向出海的中国芯片企业之一。
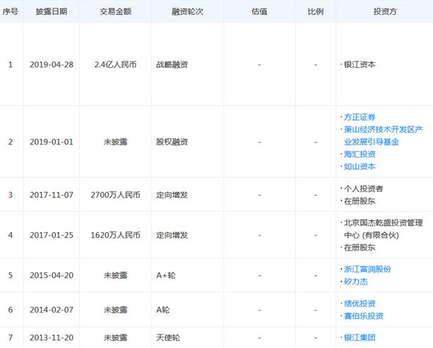
据天眼查APP信息显示,华澜微此前共进行七轮融资,曾于2014年完成A轮融资,资方包括绩优投资和赛伯乐投资,具体金额未披露。
此后华澜微又陆陆续续完成定增、股权融资和战略融资,最近一轮在2019年4月,获得银江资本2.4亿元的战略融资。

来源:天眼查APP
辅导备案信息显示,华澜微主要股东持股较为分散,公司无控股股东、无实际控制人。据天眼查APP信息,公司第一大股东为杭州华澜创投,持股15.53%,其执行事务合伙人是华澜微的董事长兼总经理骆建军,其余股东还包括公司COO周斌、研发部总监刘海銮等;赛智科创旗下的杭州赛智网科投资和国有独资的杭州萧山经济技术开发区产业基金分别位列第二、第三位,持股9.11%和8.03%。
据悉,骆建军曾在硅谷担任高级设计师,在专用集成电路( ASIC )设计领域有十多年的工程及管理经验,后自主创业。