作者:Tiberius,王童昊,Shinomori篠森
伸缩棍综述
首先简单介绍一下什么是*棍甩**。伸缩棍,也称*棍甩**,是一种能够延展和收缩的棍棒工具。主要作为*器武**和格斗工具使用,常见于警察等政府单位。一般来说,伸缩棍是警察非致命*力武**使用的最高等级。

警用棍棒简介
在正式介绍伸缩棍之前,还是介绍一下警用棍棒/警棍。警棍可以说是传统警械。无论是长安不良人的铁尺,江户捕快的十手还是现代警察始祖伦敦警察局公发的Billy club短棍,都是各种型制的棍棒。可以说棍子一直都伴随着警察、执法的*力武**使用。
一般的,我们把警用棍棒分三类:直棍(以伦敦警察的Billy Club为例)、警用拐棍/警拐(也叫美式警棍、Tonfa)、伸缩棍(Expandable Batons)。
- 直棍
直棍是源远流长的*器武**。各国警察都有丰富的使用棍棒的历史。在西方,以现代警察的先锋、伦敦警察为例,他们就是使用一种名为Billy Club的短木棍作为警察*器武**。
如今在NYPD等美英等国的老牌警局依然有Billy club,只不过都已经是作为荣誉证明,不再用于实战了。

芝加哥警察曾经用过的billy club短木棍

印第安纳警方的非致命*力武**对比,左手是短棍,右手是橡胶拍
而在东方,直棍是普遍的装备。比如香港警察这几个月来一直在大量使用直棍打击暴徒维持秩序。

除此之外,日本警察对长棍有独特的偏爱。

虽然日常执勤直棍的出现越来越少,但是在镇*行暴**动中,直棍长棍依然有着不可替代的地位。

- 拐棍
警用拐棍/警拐,本名为拐,也有称为美式警棍的。拐在中国有好几百年的实战历史,但是在现代,拐棍进入警用,还是因为美国人好学。
拐棍在国外叫Tonfa,这个看似古怪的称呼是从琉球(今冲绳)人那里来的,因为其琉球名称在英语中就写作tonfa(或者tongfa、tuifa)。为什么是琉球人?因为是琉球古武道习者把拐和拐的用法传到了美国。目前看来拐棍的传播路径大概是:中国-琉球-日本-夏威夷-美国本土。
(注:拐棍的诞生实在缺乏资料,大多认为起源自中国或东南亚,并不能笃定说拐一定发源中国。我姑且采纳中国起源说,然后基于华夏-琉球关系密切这一历史传统推断传播是从中国传至琉球,并不排除东南亚或者本土原生的可能。)

直至今日LAPD依然在使用PR24这款警拐
因为欧洲国家没有使用这种兵器的传统,而本土的印第安人也不用这种*器武**。所以警拐的形制和用法,肯定是琉球古武道修习者抵达夏威夷之后传给美国人的(开武馆收徒才能有效传播)。也因为前述传播路径的关系,西海岸受影响显然要比东岸大,一个例子就是LAPD至今还在采用警拐作为制式*器武**(LAPD也是少数一直在使用拐棍的警局)。
警拐因为其成本低,效用高(前提是会用),加上有便利的历史条件,所以至今仍有大量采购使用。

20年前,*棍甩**还不流行。那个时候欧美国家执法单位的主要非致命*器武**是美式警棍。也称T棍(Tonfa)。
因为其成本低,有便利的历史条件,所以至今仍有大量采购使用。
当然美国人其实并不太会使用拐,主要推广还是得感谢LAPD、好莱坞和monadnock公司产品做的好。
其中Monadnock司出品的PR-24是一款现象级产品,样式上跟我国传统的拐并无二至。区别是采用了硬胶质塑料聚合物制作,比木棍更容易量产,而且*伤杀**性更为降低,也更疼。
- 伸缩棍

香港占中事件中,港警将*棍甩**的功效发挥到了极致。
就是今天主角了。当然还有一种跨界产品:伸缩警拐,不过并不常见,用的人也少,可以忽略不计。

须知:在我国,带有*徽警**的产品为警械,严禁个人持有。*棍甩**本身尚且处于法律灰色地带,且属于实质性管制器具,希望大家遵纪守法谨慎购买、携带、使用。
伸缩棍简史及其应用
伸缩棍本身的历史比较模糊,有未经考证的说法认为,*棍甩**诞生于二战,是德军发明出来用于战壕格斗用的器械。如果有更详细的可信资料请高人指出。

作为一种机加工高度发达时代的产物,*棍甩**诞生的点简单也很直接——便携。
正所谓一寸长一寸强,主战兵器往往对长度有要求。以警拐为例,其长度大都在50cm出头(24寸-26寸)。美国警察大多是乘车巡逻,一警多用。虽然这种黑长直设计的警棍在使用时确实方便趁手,但不用的时候确实是一种累赘,开车坐车时候必然是要从腰间取下插在车里,休息时候买个甜甜圈也自然不会想要拿在身上。
同时因为出棍比较麻烦容易被人摁倒,而且跑动的时候长长的棍体会不断晃动打屁股,甚至还有可能在在狭窄空间容易卡住。美国警察在戒备和抓捕的时候都会把警拐直接拿在手里,而不是挂在身上。
因为这般种种的不便利性,以及警棍在实际使用中的不断弱化(非致命手段的增加),警拐逐渐退居二线,而小巧便携的*棍甩**走上了前台取代了其他勤务棍棒的位置而成为了警察的标配。

T棍和*棍甩**的对比,明显小巧很多
伸缩棍进入警察*力武**使用则比较晚:大约是90年代的时候,伴随着现代警务的深化改革,同时由于科学技术的发展社会环境的变化,大量的非致命手段进入警察装备序列,同时棍棒的使用频率大大降低(甚至会被跳过)。而随着生产力的不断提升(和国际代工越来越发达),*棍甩**的成本也变得越来越低,变得可以接受批量采购了。
在这种前提条件之下,便携性极高的*棍甩**就开始取代了大部分的长棍短棍T棍,成为了巡逻警察非致命*力武**使用的首选钝器。而原先留下的各色传统长短棍,并没有马上退出历史舞台,而是在镇暴止乱的时候继续发挥重要作用。
以ASP产品在美国的普及,才开始标志着美国警察开始大量使用伸缩警棍。而因为ASP产品起步早、深入人心,很多美国的英国的警察在提到*棍甩**的时候就会用“ASP”这个称呼来指代。

因为警用*器武**的这个特殊性,伸缩棍在很多国家地区是定义为警械或者*器武**,禁止平民持有或携带(比如德国和我国香港特区)。
在美国的一些州,持有伸缩棍是非法的(奇妙的是枪反而可以)。在欧洲一些国家,以及我国的香港地区,*棍甩**属于特殊*器武**、普通人不可持有。而在平民可以合法持有*棍甩**的国家和地区,*棍甩**则是合理的便携防身工具——只要你会用。

你要是Aiden Pearce,别说防身,上天入地都行
具体*棍甩**从哪一年开始在国内火起来尚待考证,但是可以肯定的是2000年后的事情。现如今,伸缩棍已经是用户间认知程度比较高的特种精密器械了,普通群众也普遍接受了使用伸缩棍的警察形象。
伸缩棍的分类
伸缩棍可以按照不同的方向有很多不同的分类——
- 伸缩棍按照用途来分,可以分为勤务棍和便携棍。
所谓勤务棍,就是给巡逻警察配用的伸缩棍。所谓便携棍,就是给便衣等需要低可视度场合使用的更小巧一些的伸缩棍。(关于勤务棍的说明见:https://www.junpin360.com/html/2019-07-27/7481.html)

比如NEX系列便携棍
- 按照套管材质来分,可以分为金属棍和非金属棍

几款“塑钢”棍
金属材质主要是钢和铝,非金属则主要是各类聚合物塑料。目前金属棍普遍将使用钢材的称为重型,而将使用铝材的称为轻型。有个别产品采用钛合金材料,但是数量极少不成为主流。
- 按照展开长度来分,可以分为短(短于16寸/40cm,如12寸),中(16-21寸,40-50cm),长(21-23寸,50-55cm),超长(23寸以上,26寸、31寸等)

ESP*棍甩**部分长度对比示意图
一般的,*棍甩**的长度按照展开长度标记,单位是英寸(也有例外,比如ASP的Agent系列用的是厘米)。一般展开长度有:16/17寸(实际约40cm)、20/21寸(实际约50cm)、23寸(实际约60cm)、26寸(实际约70cm)、32寸(实际约80cm)。
23寸以上长度并不适合随身携带,所以巡警不常见用,更多是作为骑警用。

LAPD骑警的两款超长棍

LAPD骑警的两款超长棍
- 按照应用属性来分,可以分为实战棍、训练棍、展示棍。
实战棍顾名思义就是真用来打人的。
训练棍就是用来训练的,一般是用海绵填充制作,主要用于对抗训练中保证训练安全。

ASP出品的各类训练棍,用魔术贴粘在腰带上模拟协行
展示棍很少见,主要是生产维护的培训为目的使用。有解剖样品,用来解释原理解剖结构给后勤和技术研究部门用的(曾经有幸见过一套ASP的解剖教学棍,可惜没留照片)。也有用来制作热塑套的收缩状态下的工程塑料模样棍。

没有功能的模样棍,只能拿来比划尺寸用
另有一些所谓的教官棍,就是采用红色握把或者其他配件的一种据说可以增加手部动作可见性方便教学展示的实战棍。其实际教学增益作用存疑,外观倒是确实风骚。

骚红的EKA教官版
- 按照市场定位来分,还可以分为文玩棍和实用棍。
所谓实用棍,就是职业用的棍子,就是给警察用来打人的。
所谓文玩棍,就是为了玩——完全按照各种脑洞设计制作的各种多功能多花色,怎么好玩怎么来的棍。
- 按照使用流派来分,还可以分为欧美系和日韩系。

比如ASP和MONADNOCK的产品就是典型的欧美系,特点是简单流畅傻大笨粗。因为外贸的关系,我国的本土*棍甩**主要是抄美系产品。

而以日本诺贝尔和韩国YUIL为代表的日韩*棍甩**产品就有着传统棍棒“十手”的血统,而且尺寸上相对欧美系产品更小巧一些。其中韩国YUIL是少数还在坚持生产节点锁结构的*棍甩**厂家。

铁尺

十手
- 按照锁定结构来分,可以分为阻尼棍和机械棍。
本文主要从产品角度探讨,所以重点展开锁定结构分类。这也是目前最为通用的一种产品分类依据:
阻尼和机械
按照目前*棍甩**的结构特点,我们可以把它分成阻尼棍和机械棍两类。
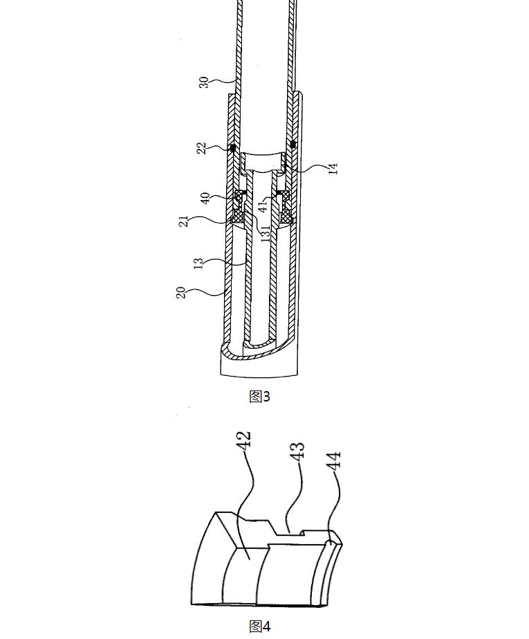
所谓阻尼,就是说伸缩棍的各段之间是通过金属间的摩擦力达到锁定效果,且套管连接处有扩口和收口咬合。其中最典型的设计就是ASP公司的FrictionLock系列产品。

ASP于1993年提交的专利示意图,到今天还在用这个结构

这是连接处的扩口和收口结构和加工一致性专利,可以很清楚的看到阻尼棍是如何防脱出的

ASP的阻尼锁,friction loc的结构图
阻尼锁特点:简单可靠,收棍困难,锁定无晃动无滚转
所谓机械,就是说各段之间通过一个金属机械结构连接固定,拉开到位后自动落锁,解锁则需要按动一个按钮。
机械锁花样比较多,比较考验设计师的脑洞和厂家的加工能力。不过设计再花哨,归根到底还是要落实到产品性能上去,因此很多设计最终只能停留在设计阶段。故而在市场上唱主角的就只有那几个玩家。
国内最常见的机械锁定就是采用鼓碟锁的ASP Talon系列,这个系列也是被仿得最多的机械棍样式。以下是一些常见或不常见的机械锁定结构(括号内为各厂家的专利名称)——
- 鼓碟,代表:(Disc Loc)ASP TALON、ASP AGENT。
鼓碟锁的结构形制看起来有点像碟刹,但是并不是靠弹簧力来增加摩擦,而是将两半锁块顶出之后与套管壁内部的凹槽咬合之后来阻止套管脱出。

这种设计必备的一个部分就是解锁针。通过按钮连接解锁针顶起之后就可以穿过锁环使得锁块收紧以实现解锁收棍。


TALON和AGENT其实是一个结构,只不过Agent的解锁钮做的很大,是一个地包天结构(这种地包天在TALON上也有了

相比阻尼棍,机械棍结构上就要复杂很多
争议:
鼓碟锁不是中国人的发明,所以不要跟我扯什么新型实用发明专利这种不要脸的东西。如果我没记错,原始文档生效于1976年,原始发明人也不是ASP的创始人Dr Parsons。但是这个专利现在依然是在ASP公司手里。(此处说法目前仍未能查实,但为了避免有人说我篡改记忆此段保留)
目前已经查实的是ASP的TALON系列所用鼓碟锁专利的确是2013年才提交的,上两张图就来自于专利文件图示。而蚂蚁自称提交的“凸轮锁定式伸缩警棍”专利确实存在,也确实提交于2009年。专利图见下:




- 节点锁,代表:Monadnock MX-21、yuil等日韩棍。
节点结构也是一种比较老的机械结构,现在用的产品很少。


Monadnock用的一种节点锁

日本人1965提交的节点锁专利,现在大体上还是用的这个结构


节点锁又被戏称为雨伞锁,因为跟折叠伞的伸缩是一样的机构
- 滚珠锁,代表:Monadnock Autolock
Autolock是一款典型的滚珠闭锁结构,通过斜坡行程+滚珠进行限位。这种结构操作阻滞感明显,出棍特别涩。但是优势是可以做的比较细,再加上莫大头包胶厚整体手感还不错,甩出来那一下非常有威慑力。

Autolock专利示意图


莫大头的一款21寸自动锁产品
- 凸轮锁,代表:(CamLock)BONOWI EKA
EKA棍的最大特色就是令人惊艳的顺畅度,是所有棍中毫无疑问最顺滑的(前提是没坏233)。铝制的八爪凸轮也是典型的毒德大学,非常有代表性。
EKA虽然逼格很高,但是目前最大两个特点一个是贵,死贵,非常贵。另一个就是容易坏。EKA这个油纸包设计令人惊奇的是头尾都是密封胶死的,而且头尾和解锁针都是塑料。这种设计是否跟它的故障有关尚且不得而知。

最为精密的八爪凸轮锁,毒味
- 旋机锁,代表:(LeverLock)ASP已经死掉的一款老产品。实在是找不到具体信息,故欠奉。
机械锁特点:
方便轻松。机械棍的产生主要就是为了解决阻尼锁的收棍难题,所以在这点上,对比阻尼锁有着绝对碾压的优势。
精密昂贵。因为增加了不少零件且考验精密加工,导致了机械棍成本的攀升,同品牌同定位的机械棍一定是比阻尼要贵的。同时随着结构的复杂化,产品的稳定性和可靠性也阻尼锁要低。
轴向转动。机械棍的绝大多数锁定结构都无法轴向上对套管做限位(节点锁除外),导致套管在落锁之后还可以自由转动。这是可以直观区别机械棍和阻尼棍产品结构的一个外部特征,也就是说可以转的动套管的一定是机械棍。
需要明确的是,锁定结构不同确实存在性能差异,但是目前国际市场上的机械锁定竞争主要是出于规避专利,而不是实质性能差异。
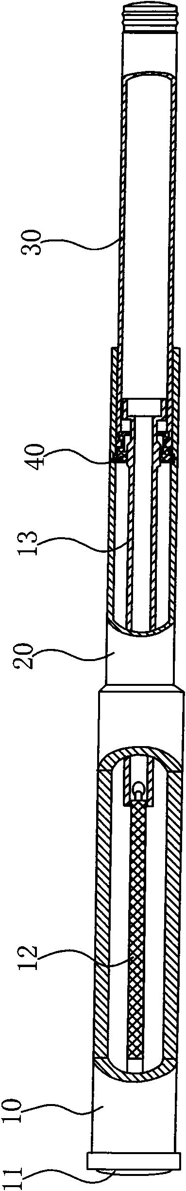
伸缩棍产品的结构和特点
*棍甩**一般由三根套管构成,按功能分为:1)打击段,2)连接段 和3)握柄。打击段一般都带有一个金属棍尖,有的产品还配置了各种功能的可替换棍尖。握柄通常会包裹一层海绵或者橡胶,主要是防滑增加缓冲提高舒适度。

正如前文所述,*棍甩**是一种精密器械。相对于卡里藤棍或者五分管,*棍甩**的特点是通过工业设计将一个棍体的体积压缩,而在展开后依然能做为棍棒使用。
但是*棍甩**终究不能具备跟一根金属棍子一样的性能。
无论是机械棍还是阻尼棍,都对加工精度有比较高的要求。因为机械棍结构更为复杂,所以更容易故障。
一个完整的伸缩棍由以下几个大部分组成:
- 棍尖
- 前段/打击段(特别说明,虽然可以叫打击段,但是实际有效的打击面是棍尖以下三寸,也就是一拳的距离。这段部分才是伸缩棍的有效打击面。)
- 中段/连接段
- 后段/握持段
- 尾盖
为了提高金属部件的抗腐蚀和耐久度,*棍甩**产品都会做表面处理。常见为黑色阳极氧化,也有亮闪闪的镀铬。


有金闪闪,也有银闪闪
另外了实现勤务功能,还会有配套附件,比如各种棍套,破窗头等。

除了本体之外,*棍甩**还有棍套、破窗头、防脱尾环等功能附件。此图为EKA全家桶

还有外观件,比如ASP的外观件
伸缩棍的应用
首先需要明确的是*棍甩**作为一种伸缩结构的棍体,虽然能够作为全长棍打人,但并不意味着就等同于等长直棍。
*棍甩**因为材料和结构原因,其攻击面仅限于打击段的前端三寸(合8cm,含棍尖)和棍尾的边缘。也就是说,*棍甩**的攻击动作局限于正手持棍展开后的抽、劈击(靠棍尖)和收棍状态下的棍尾锤击(磕)。


收棍攻击动作的一种示范
使用其他部位,特别是连接段(中段)进行击打有大概率造成套管变形无法正常收棍,无论轻重。个人见过*棍甩**用户最恶意的测试是用重机中段敲击轻机中段,导致轻机中段明显变形无法收棍。这纯属恶意搞事浪费资源。

具体伸缩棍的*力武**使用应当遵循各单位的规章制度和教育训练原则,什么时候能用什么时候不能用是技术问题但是更是法律问题,不在本文讨论范畴。本文只着眼于阐述产品。
特别说明:关于戳击
戳击指使用棍尖对物体进行棍体垂直的冲击。使用戳击技巧击打阻尼棍会可能导致解锁,必须要再次展开才能击打。
而机械棍因为结构限制,戳击硬质面容易损坏锁定机构,造成无法收棍甚至锁定彻底失效的结果。这也就是为什么公安部在新警棍验收中加入1.5m跌落不解锁要求,而后又撤销这一要求改为金属球下落砸棍尖。

戳击本身就是*棍甩**的软肋,这一问题源自于伸缩性结构所带来的先天不足,是无法避免的。不过还请大家注意,戳击测试是在硬质平面(水泥或钢板)上做的。如果是在人体上,造成严重伤害是很容易的。

禁止击打部位图
*棍甩**的携行
现在很多棍套都有可调角度的功能,这是很方便的功能,适合我们根据习惯来调整收出棍角度。一般的,*棍甩**在腰带上的位置(默认右手主手)有:10点(左前),3点(正右),4点(后腰)。其中3点是没有手枪的棍位。
除了腰带上,还推荐腹股沟隐蔽携行,这个位置藏棍舒服,下手准确(同Appendix Carry),非常适合便装任务,也推荐给执勤戒备用。



关于*棍甩**的误区
1)*棍甩**是一种精密器械,不是齐眉棍,更不是金箍棒。
*棍甩**既不能无限制的长长,也不能违背物理法则又轻又能打击输出。因为构造精密,所以跟枪一样,*棍甩**特别是机械棍,需要维护保养。
*棍甩**也有寿命也有强度极限,这种能力是材料和设计和工艺决定的,不是价格决定的。便宜的棍不一定好用,但是贵的棍子也不一定能达到你心目中的期望值。
所以买棍第一条就是要放弃不切实际的脑洞,认清所在世界的物理法则,还要认清*棍甩**归根结底是一种有寿命的耗材。
因为设计加工相对简单,所以同等效能和品质的阻尼棍往往要比机械棍价格上亲民很多。那机械棍多花的钱到底好处在哪里?答案还是方便。

对阻尼棍有体会的人都知道,阻尼棍属于典型开棍一时爽,收棍火葬场。
品质好的阻尼棍,找一块硬地多半能保证收回去。但是一根不好的棍子,再加上不会收棍技巧的话,阻尼棍收棍是件非常痛苦的事情(这也是为什么ASP的阻尼棍套专门留了开棍携行功能——生怕你一时半会找不到地方收棍)。
而且阻尼棍收棍一定要有一块硬质表面(金属或者水泥,瓷砖砖石可能会碎)。如果刚好现场没有这个条件,那很抱歉你只能全程展开棍子直到收班为止,或者你可以通过随身带一个小锤子化解这种尴尬。
而机械棍只需要轻轻一按,瞬间神清气爽。这就是你多花的钱能带来最实惠的好处。

收棍火葬场+错误技巧示范……
2)*棍甩**不是要你命3000,只是一根用途有限的棍子。
这根棍子最初的目的,就是针对人类的肉体进行击打而设计的。无论是执法还是自卫,打人的目的是为了控制、为了停止侵害。请注意,不是打死,也不是打残!
而我们现在看到太多的厂家和所谓的测评师,在*棍甩**开砖和*力暴**测试的道路上一去不返。甚至于,连公安部的警棍测试标准中都出现了基础型(轻机)需以3000牛的力击打3000次,加强型(重机)4000牛4000次这样的测试内容。
更有甚者,做击打钢片的测试。这是要求我们的警察往后都用棍子来跟暴恐分子拼刀过招吗?无数的时间和资金,投在这种毫无意义的测试上,我对此无话可说。
虽说第一代公发警棍品质粗劣令人发指,有“一次性*棍甩**”之誉。但是第二代这般矫枉过正舍本逐末,真的是对人民负责,对警务工作负责吗?

和戳击一样跌落测试也是一个扯淡的噱头。前面说了,伸缩棍的先天缺陷就是伸缩结构。因此*棍甩**的可靠性并不能从跌落测试中检测出来,能通过严苛跌落测试的*棍甩**只是运气好而已,对于实际性能并没有什么帮助。

至于那些开砖的测试就更可笑了。且不说平地垒块砖就叫硬度测试,开的也都是工地上随处可见的红砖。
有些小同志可能不知道,红砖硬度是不如水泥的,属于一敲就碎跟大理石更是完全不能比,更不必说还有豆腐砖。手黑敢去敲钢管的我也认了,敲砖一事真是滑天下之大稽。幸而大多数买*棍甩**也都不是实战用,不然手里家伙也都早检验出真知来了。
3)最后是关于公发棍
我们所谓的公发棍,就是伸缩警棍。首先,必须明确,任何警用标识的*棍甩**都属于警械,不得个人持有,违者需要付法律责任。而且配发的伸缩警棍属于制式装备,跟个人购买的商品不是一个性质,不能混为一谈。
伸缩棍挑选建议
目前*棍甩**市场良莠不齐鱼龙混杂,为了帮助诸位挑到堪用的*棍甩**,有如下一些建议:
1,到手先检测顺畅度。
无论阻尼棍还是机械棍,其开合都必须顺畅无阻。机械棍的解锁钮应当容易按压,并且操作时有清晰反馈,收棍一气呵成。
阻尼棍对技巧要求高些但是差的阻尼棍解锁困难是很明显的(ESP除外),阻尼棍本身收棍已经够麻烦了建议多花点钱买个好的也不要给自己增加麻烦(实际也没有多花多少钱)。当然为了便于收棍可以用一些土办法,比如在咬合段上涂铅笔(石墨)等润滑剂。
2,完全展开检查套管。
阻尼棍的套管在完全打开后不应存在松动晃动或滚转,如果怎么开棍都存在这种情况,那说明这根棍子是不合格的。
机械棍结构不同,完全打开后应当存在些许松动,套管可以自由旋转,但是不应当存在轴向上的移动。如果有轴向上的移动,或者可以徒手扶套管把套管送回收棍状态,这个棍子也是不合格的。
关于机械棍的松动。松动是跟结构设计、厂家的加工能力直接相关的,设计工艺水平高的产品,松动就小。反之就大,同时过小的间隙会增大收出棍的阻滞,水沙条件下容易卡死。
但是需要注意的是,松动是可以通过加胶圈加垫片垫出来,不是所有又紧又涩的*棍甩**都是加工精密。至于晃动,只要挥棍过程中感觉不出异常,晃动就可以接受。
套管应当保证准直的一致性,如果展开后目视就能发现倾斜偏移,这个棍子也是不合格的。
3,模拟击打。
在安全空间内尝试挥棍击打,并加入收开棍操作,体验整体操作、打击感和*棍甩**重心位置。然后找一个训练靶或者等同训练靶的柔软物体,进行实战式击打练习。如果在击打过程中棍体出现变形、脱锁、无法收棍这些情况的,这个*棍甩**是不合格的。
另外,如果对*棍甩**的重心位置不适应,或者觉得击打手感怪异的,建议更换不同长度或者不同结构的*棍甩**。
部分品牌和产品
国际上主要*棍甩**品牌商和产品有:
ASP
可能是中国消费者最熟悉的美国警械品牌。ASP专注于警械设计和使用培训,其Friction Loc系列阻尼棍和Talon系列机械棍都是响当当的产品。

除了勤务棍,ASP还有一个独有的隐蔽携行棍系列,方便便衣的刑侦和警卫人员使用。笔者有幸跟创始人Kevin Parsons博士吃过饭聊过天,应该来说ASP可能是这几家里对中国市场最为上心的了(虽然也没有然后了)。

人人都想要的隐蔽携行的Agent系列
Monadnock

Monadnock,美国品牌,老牌专业警械制造商。其PR-24美式警棍是影响几代人的经典设计。现在其拳头产品是Autolock系列机械*棍甩**,普遍装备美国各级政府的执法机构。



PowerSafety安全棍尖是Monadnock的特色设计,因宣传低伤害输出而被人戏称为人道头。也是因为这个设计,Monadnock获得了中文外号“莫大头”。
ESP

ESP,Europe Security Products是捷克造。顾名思义,ESP专注于警用安全行业产品,其产品包含各类警械盾牌防护服以及相关衍生装备。


ESP的快拔套都很有意思,有空再说
ESP系列*棍甩**最大的特点是玉米粒橡胶握把和全钢材质阻尼锁结构。当然ESP出品的棍套和携行具也是非常创新好用的配件。
BONOWI EKA
油纸包的*棍甩**说的就是EKA了。BONOWI IPE/博诺威是德国军警器材供应商,跟ESP一样产品线实现了全覆盖。旗下EKA系列*棍甩**是博诺威的拳头产品。

EKA是重机的典型代表:外观犀利、全钢结构、独特的八爪闭锁——连价格也非常的德味。

需要特别说明的是EKA只有机械棍,而且其轻型机械棍非常独特的采用握持段钢,打击段和连接段为铝的设计。
NEX
NEX是纳丽德NEXTORCH公司最新的军警专业市场子品牌。主要产品是一款勤务棍快客和一款便携棍行者,均采用独家专利的闪锁结构。作为国产货,非常难得地走出了国门,在德国站稳了脚跟。

国内主要是自购使用,包括台湾省的警察也很喜欢。

总结
笔者认同ASP的理念,认为*棍甩**是一种防御性*器武**。所以我们应当首先承认其作为*器武**的属性,这是它的核心功能——当然你也可以说这是一个玩具不准备打人,但是这种解释在法庭上恐怕很难解释的通。
其次,必须承认*棍甩**的防御特性——作为一种钝器,*棍甩**不像利器那般威胁致命,能够起到很好的格挡扫断作用——这使得*棍甩**作为*器武**更体现防御特性。当然,只是如果击打人体致命部位,结果也是很致命的。
最后,*棍甩**作为一种特殊工具,其法律定义在不同地区各不相同,而违规携带或购买的处罚也不尽相同,建议各位读者充分结合自身情况全面考量法律风险。
希望这篇文章能够抛砖引玉,对诸位有所帮助。谢谢。w