
点击上方蓝色字体,关注我们
光明膳纤饮宣传,因光明品牌确实很容易让人联想到光明集团,而事实上,光明膳纤饮不仅与光明集团并无任何关系,还被网友质疑蹭光明品牌的热度,来宣传自己虚假的产品。

宣传光明膳纤饮30个然你不得不喝的理由:
1、科技含量高2、韩国总统酵素配方3、美国白芸豆脂肪阻断剂4、日本吸脂纤维配方5、不节食不忌口6、大餐不后悔7、消灭饮食恐惧症8、吃货后悔药9、清理肠道垃圾10、剥离肠道壁毒素11、清除身体多余油脂12、清除脏器血管脂肪13、阻断荤食90%脂肪吸收14、阻断主食40%淀粉吸收15、调理肠道菌群平衡16、调理代谢综合症17、减脂塑形18、祛痘祛斑细致肌肤19、产品有西太平洋鱼皮中胶原蛋白肽20、附带瘦身不起褶皱21、营造人体健康内环境22、澳洲阳光燕麦补给营养23、一百多种蔬菜水果酵素全方位补充营养24、光明携手维密超强IP25、用户反馈好评如潮26、辅助降血糖、血压、血脂27、分享经济43轻创业
28、新零售模式符合国家大趋势29、公司给力系统给力30、傻瓜式营销不囤货不压货。
光明膳纤饮称自己的核心成分及配方技术获得两项国际专利,把光明膳纤饮这款产品做到极致,让亿万亚健康人群受益。

光明膳纤饮是一款固体饮料,宣传中说道经常饮用可以起到排油排毒,阻断肥胖。在你吃了很多高热量,高脂肪,油腻的食物之后,喝一杯光明膳纤饮可以阻断荤菜90%的脂肪吸收,阻断米饭面食等40%的淀粉吸收,10小时内排出淀粉热量,20小时内排出脂肪油脂,光明膳纤饮双阻双排的功效,让你大餐不后悔,饮食无负担,彻底消灭饮食恐惧症。
而且它还声称可以排毒,拥有三大国际专利成分配比,双层排毒
第一层排毒(基础性排毒):排出体内胃、肠毒素清肠通便、改善便秘、口臭等问题。
第二层排毒(深层次排毒):排出人体血液、淋巴、皮肤等组织器官中的毒素,改善皮肤暗疮、色斑、皮肤干燥发黄、松弛等问题,排毒养颜。
对于一款饮品如果他他瓶子上敢明目张胆的打上减肥饮料,这种应该就是添加了膳食纤维来达到排便,但是也不排除添加的导泻成分或低聚果糖,另外还有其他食品添加剂,代糖等。而且宣传可以降血压血脂减脂塑形,甚至能祛斑祛痘未免也太过夸张了,又不是药物怎么能有这么多功效,难道不是夸张的虚假宣传?
同时光明膳纤饮还宣传自己:大品牌(口碑好)产品好(见效快)低门槛(裂变快)市场大(千亿蓝海)重复消费(持续收益)无需囤货压货(无风险)不伤人脉(无心理负担),说自己是大品牌一个在2019年下半年刚刚创立的品牌有多大?难道不是蹭光明集团的热度?而且还一度公开表示自己跟光明集团毫无关系,何必要做如此解释呢,明显的此地无银三百两。

光明新零售项目启动短短几个月,就表示有非常多的伙伴日收入过千,甚至过万,随着团队裂变,每天的收益还在不断地增加。而且光明新零售一再强调不囤货,不压货,零投资,零风险,只需要把产品分享出去,公司统一发货,所有销售提成,线上平台秒结。就是用这种方式来打消人们的疑虑,让更多人去卖这个膳纤饮。
经了解发现光明新零售成立于2019年7月1日,实际控制人蒋亚学认购5100万,占公司51%股份;李国认购4900万,占公司49%股份。公司法定代表人、经理、执行董事为杨德坤。
不过,网友称,光明新零售实际运营的时间更早。光明膳纤饮最早的招商资料出现在2019年4月份。当时光明膳纤饮主打排脂肪、排淀粉功效。其运营商为武汉智炬慧科技有限公司(以下简称“智炬慧”)。而智炬慧是2019年3月25日成立,其股权结构为殷先成持股51%,余杰持股49%。智炬慧也是光明新零售的独立法人投资人,只是在2019年8月1日按智炬慧的持股比例,把股份转让给殷先成51%,余杰49%;2019年9月25日,殷先成和余杰把股份转让给了蒋亚学和李国。
根据媒体报道和产品图片显示,光明膳纤饮的生产方为湖南泰尔制药股份有限公司(以下简称“泰尔制药”),该公司劣迹斑斑,企查查显示“历史被执行人”高达266次,案件编号高达27页之多;历史失信被执行人21次;历史行政处罚【工商局】5次;历史限制高消费 5次。
其中,行政处罚书《湘长质监罚字2014第456号》显示,2014年9月1日,泰尔制药因违反《食品安全法》第36、48条,长沙市质量技术监督局依据该法86、87条对其进行处罚。
一个劣迹斑斑的制造厂家还指望打造什么高质量的产品?而且光明膳纤饮不仅门槛低价格更低,只需要花费43元,购买光明膳纤饮体验装,不但可以免费领取一年的体验产品,同时还获得光明新零售的终身代理权,分享得越多、卖出去的产品越多,代理级别就越高,拿货的价格就越低,利润空间也就越大。
在此之前其宣传其拿到了光明旗下子公司光明烘焙食品有限公司的商标授权和使用。而通过商标查询发现光明集团旗下并无产品所使用的商标。而几个相似的商标也只是糕点类,并不是包含饮料类。

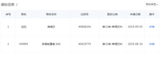
光明新零售自己注册的商标也仅仅是啤酒饮料的类型,根本达不到之前宣传的具有瘦身排毒的效果。

虽然打着不瘦门槛费的口号,但是看这利润表低廉的价格,高昂的利润。成本想想就觉得低的过分,而且代理们也是通过朋友圈不断刷好评显示自己产品好。

希望想通过饮品减肥或者调理身体的广大网友们擦亮眼睛,不要被宣传的天花乱坠的套路蒙骗了,身体是自己的,不要轻易就相信所有的产品。
该文章部分信息来源于网络,如有侵权,请联系删除!
转发请遵循CC协议,版权归原作者所有。

扫描二维码更精彩


相关阅读:
牛蒡大王*局骗**套路深,传销模式坑骗代理退钱难
天赐九烤竹盐能治病?都是吹的,别把自己吃出病来!
魔力show连载一:赔偿16万后再遭杨幂起诉 果冻、奶茶还能防癌?
曼瑜天雅宣传效果夸张,见效快小心成了激素脸!
臭名昭著的车秘APP换汤不换药改名Miti 涉嫌传销不知悔改
揭秘阳光怡然二:“白雪公主”屡教不改 阳光怡然眼罩再次涉嫌传销被查
警惕电商平台全民当家APP 小心被割了全民韭菜