
悉奥涂料车间生产设备
涂料中色漆占有绝对重要的地位,下面就以色漆为例介绍涂料生产设备。色漆的制备过程主要包括预分散、研磨分散、调漆和过滤包装,相应的生产设备包括预分散设备、研磨分散设备、调漆设备和过滤包装设备。今天就由悉奥小编首先介绍一下涂料的预分散设备。
预分散设备
预分散的目的是使各种颜料混合均匀,颜料部分润湿以及初步打碎大的颜料聚集体,该道工序使得研磨分散得以正常进行,因此称为预分散。预分散常采用高速分散机,在低速搅拌下,逐渐将颜料加于基料中混合均匀。

悉奥涂料车间生产设备
1. 高速分散机
高速分散机主要是由叶轮、分散轴和筒体组成。其中主要工作部件是叶轮,最常用的为锯齿圆盘式叶轮。叶轮在高速旋转的分散轴的带动下,在叶轮边缘2.5~5cm范围内形成了一个湍流区。在这个湍流区内,颜料粒子因受到较强的剪切和冲击作用而很快地分散到漆浆中,从而达到了预分散的目的。
在高速分散机操作的初始阶段,宜采用低速旋转以防止堆在漆料表面的颜料飞扬,然后再通过提高转速来增加分散能力。为了获得比较理想的分散效果,叶轮端部的圆周速率必须达到20m/s以上,但又不宜过高,否则易导致漆浆飞溅,使分散效率降低。

高速分散机的结构
高速分散机主要适用于易分散的颜料在较低黏度漆浆中的预分散,而对于难分散的颜料或黏度太大的浆料则不适用。在实际应用中,高速分散机除了用于预分散外,还可用于研磨和最后的调稀操作。
2. 其他分散设备
为了使难分散的颜料、黏度较大的漆浆达到理想的预分散效果,以及为了提高分散效率,还研发了其他的预分散设备。其他顶分散设备包括双轴高速分散机、同心轴高低速分散机、双轴高低速分散机、三轴高低速分散机、在线分散机等。下面将做一简要介绍。
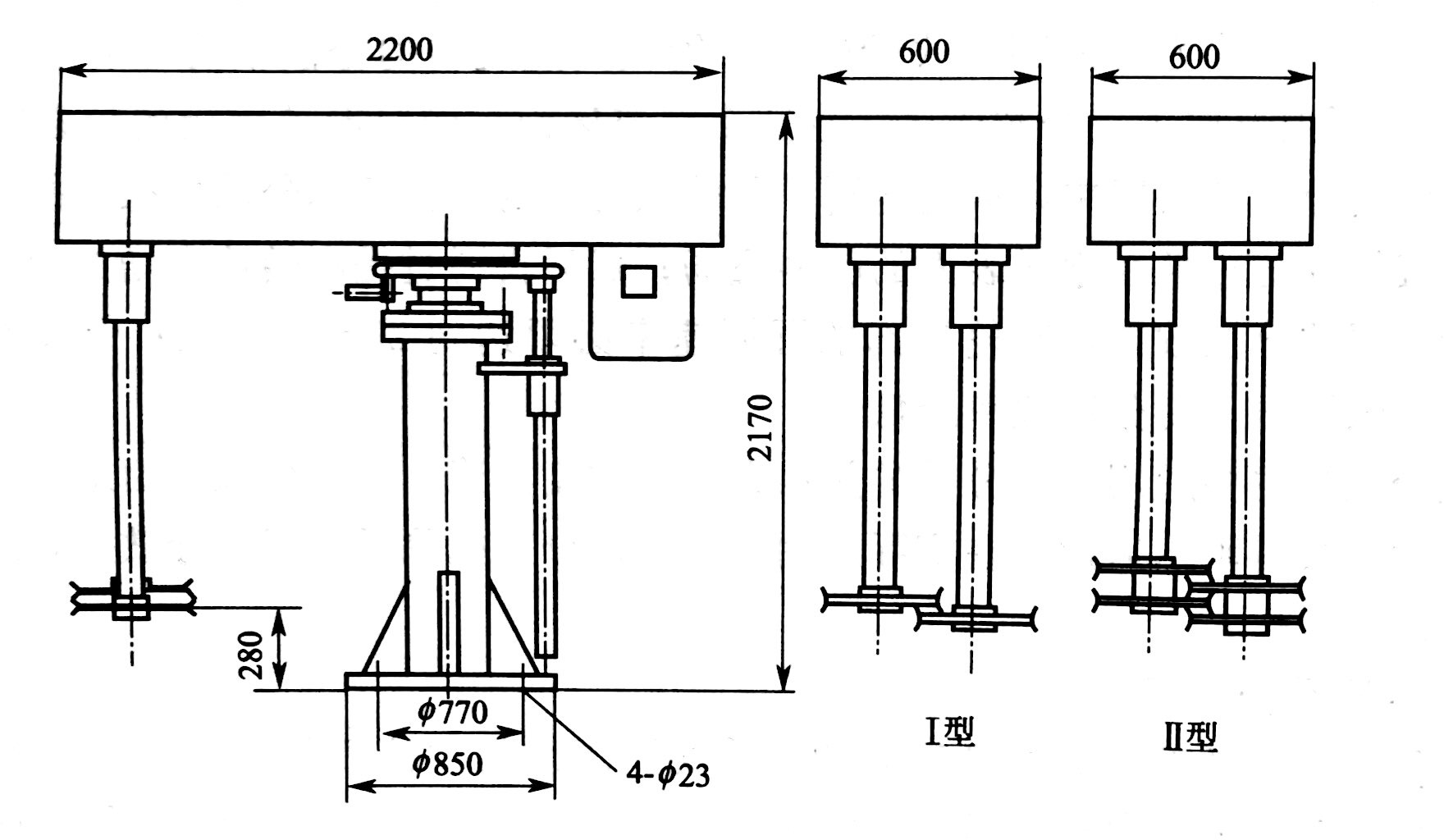
双轴高速分散机含有两个等速旋转的分散轴,每个分散轴上可装一个叶轮或两个叶轮。同高速分散机相比较,双轴高速分散机适用物料黏度范围较广,可减轻槽内液体打旋的现象,避免吸入气体,从而提高了装料系数和分散能力。

双轴高速分散机
Ⅰ型-双轴单叶轮形式;Ⅱ型-双轴双叶轮形式
同心轴高低速分散机包括一同心双轴,即中心轴和空心轴。其中中心轴为高速轴,安装叶轮,主要起分散作用空心轴为低速轴,安装框式搅拌器,主要起混合作用。该分散机适应各种中等黏度物料的预分散,可防止物料的黏壁现象。
此外,双轴高低速分散机包含高速轴和低速轴两个轴,这两个轴通常用两台电机分别传动,该分散机适用于较高黏度的物料,如铅笔漆、腻子等。此外,在双轴高低速分散机的基础上,又增加了一根偏置的高速轴及相应的叶轮,即所谓的三轴高低速分散机。它适用于黏度更高的物料。

在线分散机是德国耐驰(Netzsch)公司近年来推出的一种新颖的预分散设备。该设备分散效率高,预分散后漆料均匀性好此外该设备在真空状态下加料比较环保,一般适合于中、低黏度漆料和难润湿颜料的分散,通常用于大批量、单颜料漆浆的生产。
-----END-----