
为加强道路货运车辆动态监控,提高监控数据质量和在线率,保障全国道路货运车辆,公共监管与服务平台可靠、有效运行。
依据《中华人民共和国安全生产法》、《国务院关于加强道路交通安全工作的意见》、《道路运输车辆动态监督管理办法》,交通部制定了《道路货运车辆动态监控服务商服务评价办法》。
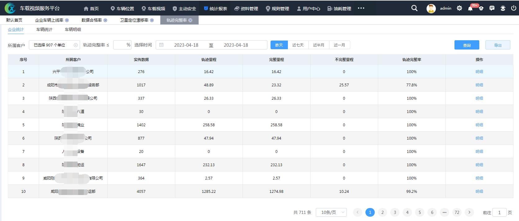
通过EXLIVE3.0的使用,有效提高了北斗服务商在考核中的排名,保障了业务的顺利开展,EXLIVE3.0是如何做到的?
对服务商的服务评价指标

EXLIVE3.0轨迹完整率计算
- 轨迹完整率
- 统计期内,重点营运车辆完整轨迹与本辖区或本企业上线重点营运车辆轨迹的比率。轨迹完整是指轨迹点连续。
- 计算公式
- 轨迹完整率(轨迹连续率)=连续里程/全部里程


EXLIVE3.0卫星定位漂移率计算
- 卫星定位漂移率
- 统计期内,车辆定位数据存在高频度远距离漂移车辆总数占本辖区或本企业重点营运车辆上线总数的比率。
- 计算公式
- 卫星定位车辆漂移率=高频度远距离漂移车辆总数/本辖区或本企业重点营运车辆上线总数


EXLIVE3.0数据合格率计算
数据合格率:
合格数据包括车牌号、车牌颜色、时间、经度、纬度、定位速度、行驶记录速度、方向、海拔、车辆状态、报警状态等符合《道路运输车辆卫星定位系统平台数据交换》(JT/T 809)相关信息数据体结构规则,且在合理范围内的车辆动态数据。


EXLIVE3.0企业车辆上线率计算
车辆上线率:
查询时间段内上线车辆数/入网车辆数


以上几点EXLIVE3.0平台举例,帮助您了解EXLIVE3.0平台如何帮助北斗服务商提高在动态监控服务中的排名,协助您轻松运营。
EXLIVE3.0平台是北斗/GPS服务商的最佳选择,投入少,服务好,回报高,运营更轻松。
商务合作
◆ 平台免费部署
◆ 独立部署会员年费模式
◆ 独立部署买断模式(最低2万终身使用)
◆ 车辆挂靠模式
咨询热线:
029-88443911
刘经理 15309291022(微信同号)