随着建筑设计的发展,石材早已经成为建筑、装饰等重要原料之一。
关于石材的施工工艺可分为干挂、湿贴、湿挂、干贴这四种,但常规工艺做法并不能够完全满足设计要求。
许多室内装饰部位的石材厚度受使用受空间的限制,像电梯门洞口处,用传统干挂法施工,很难满足设计对完成面的要求,遇到这种情况怎么更好的处理呢?
一起来看下面这两种新的墙面石材工艺做法:
新型石材工艺做法
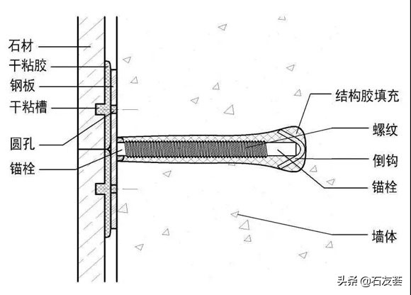
一.墙面石材钢板干粘工艺

△石材钢板干粘节点

△石材钢板干粘构造
施工流程:
1)先将基层处理平整,在4块石材的分缝交点位置,打一个圆孔,再将结构胶填入圆孔内。
2)将锚栓-钢板焊接为一个整体,然后将这个结构构件植入圆孔,与墙面产生结构连接。
3)再将粘贴至钢板位置的石材背面杂物以及钢板上的锈斑清理干净,将石材利用专用干粘胶直接粘在钢板上,并用云石胶临时固定。
Ps:这一步的清理工作十分重要,关系到整个施工质量的问题,处理不当石材容易出现脱落。
4)钢板在粘贴石材位置钻有一圆孔,圆孔内充满干粘胶,增强干粘胶和钢板之间的剪切力。
5)钢板和锚栓通过焊接连接,锚栓通过和墙体内的结构胶和墙体固定牢固,自身的螺纹增强和结构胶之间的握裹力,倒钩的设置增强和墙体之间的固定,防止锚栓被拉出墙体之外。
适用范围:
①新工艺可用于高度不超过5m的室内装饰空间,针对锚栓结构的设计,并经过研究测试(拉拔强度检测报告),该锚栓结构能用于混凝土墙面及空心砖、混凝土砌块等墙体。
②因为工艺对室内空间占用少,所以它比一般的石材干挂使用范围更广。
二.墙面石材锚栓干挂工艺
目前室内外石材干挂普遍均采用横竖龙骨加角码结构,尤其是石材背面开槽和角码利用胶粘接,这种做法在室内外都具有很大的安全隐患。
石材背面开干挂槽,角码生锈和胶容易老化等都会导致石材脱落。另外,横竖龙骨材料成本也大大提高了成本。

△专用弹勾锚栓和八字形挂件干挂
八字形组合挂件安装工艺简单,能在上、下、左、右、前、后六个方向固定石材,所以对石材的安全固定起到良好的作用。
而且八字形组合挂件在六个方向有可调节性好的特点,对石材安装的位移的调节起到关键作用。

▲砖墙体专用弹勾锚栓和八字形组合挂件连接

△锚栓构件
施工流程:
1)首先将基层处理平整。
2)按照石材排版图,在墙面放线,在每块石材的分缝位置打入锚栓挂件。
3)在石材背面开小槽,通过干挂的形式安装石材。

新工艺干挂做法

传统干挂做法
工艺特点:
使用的干挂减少,基层厚度得到控制,完成面厚度足以满足绝大多数情况下的设计要求。且使用的干挂减少,极大地简化了施工,人工成本和时间成本都得以减少。总的来说,施工便捷性增加,施工成本降低。
石材新工艺优势
对比常规工艺做法,墙面石材新工艺做法的优势有4点:
(1)节省横竖龙骨钢材,施工工艺减少,成本降低;
(2)现场无焊接工艺,减少安全隐患;
(3)石材厚度可以更薄,从而控制成本;
(4)石材安装空间减少,室内有效空间变大。
当然,因为该工艺是近年来逐步推广的一种新型工艺,在执行过程中,因为工人师傅水平的高低,及一些其他环境因素的影响,可能在主流的设计项目中,效果不如传统的做法那么理想,因此,暂时还不能代替传统的石材节点做法。