目前市场上我们可选的普通VPS云主机商家相对比较丰富一些,但是对于独立服务器和站群服务器商家并不多,毕竟对于独立服务器的门槛还是需要体现商家的实力的,一般个人用户是没有实力承担服务器的成本。当然,对于我们有需要站群、多IP业务的用户可选择商家目前并不是太多。我们可能常见的包括BlueHost、HostEase、RakSmart等商家。
依托BlueHost 强大的背景和技术实力,商家有新增美国站群服务器项目,服务器机房位于美国犹他州机房,全新服务器性能稳定,线路优秀,适合有需要站群网站或者多IP业务需求的用户。同样的,商家独立服务器和站群服务器,支持提供优质的客服,24小时在线客服支持,且支持支付宝付款,和中文服务。在这里,我们简单的评测BlUEHOST站群服务器性能和配置情况。
第一、基础的配置情况

我们可以看到,服务器CPU是八核超线程,1Gbps带宽出口,128个免费独立IP地址。我们看看系统的配置信息。
1.CPU

2.硬盘

3.内存

第二、服务器PING速度测试

这里我们采用IPIP全网节点测试工具测试全球节点的PING速度。
我们可以看到节点PING测试速度还是比较好的。对于美国机房的服务器线路,能够在200ms之内的速度,算是比较好的。
第三、随机路由去程测试
1.电信节点路由去程

2.移动节点路由去程

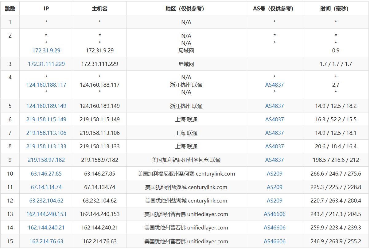
3.联通节点路由去程
4.

第四、网络回程节点测速
1、广州

2、上海

第五、CPU性能和IO硬盘读写能力

第六、SpeedTest 随机节点上传和*载下**测速
这里笔者选择国内的电信、联通、移动 三个网络随机多个节点测试*载下**和上传测试,看看速度是否适合我们的项目使用。
总结,通过上面的测试,我们可以看到老牌的BlueHost 也有新增美国站群服务器,多达129个免费独立IP地址,而且采用超高配置全新独立服务器,适合我们有需要的美国站群业务和多IP项目使用,这个也普通的传统商家确实是不小的竞争力。