( 映维网Nweon 2023年07月10日 )特定近眼显示器会采用光导光学元件LOE以形成具有平行外部主表面,以及与主表面倾斜具有一组部分反射的内部表面的透明材料模块。准直图像由图像投影仪产生并注入LOE,以便通过内部反射在LOE内传播,直到由部分反射的内部表面逐渐耦出用户的眼睛。
可以通过这种布置显示的视场角度尺寸受到几何光学考虑的限制。针对这个问题,Lumus在名为“Display with stacked light-guide elements providing different parts of field of view”的专利申请中提出,可以通过堆叠的LOE来提供视场的不同部分,并允许显示器可以实现比单个波导所能传输的更大视场。
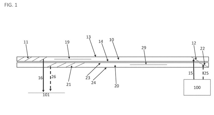
图1-图5显示了相关的实现,其中眼睛假设位于指定的101区域:“眼动框/Eye Motion Box(EMB)”。EMB表示眼睛位置的范围。两个LOE 10和20与主表面14和23并置在一起,以这样一种方式堆叠,它们保留了作为独立波导的特性,可通过主表面的内部反射引导光在每个LOE内的传播。这可以通过在并置表面之间保持气隙来实现,方法是提供具有较低折射率的材料的中间层。
图像投影仪100配置为投射与具有角度视场的准直图像相对应的图像照明,并光学耦合到复合光导装置,以便引入通过在第一LOE 10内反射传播的图像照明的第一部分和通过在第二LOE 20内反射传播的图像照明的第二部分。
第一LOE 10包括具有第一多个相互平行的部分反射表面11的第一耦出配置,部分反射表面11部署在主表面13和14之间,并与主表面13和14成斜角。第一多个部分反射表面11位于复合光导装置的第一区域中,用于耦出图像照明的视场的第一部分。
第二LOE 20包括具有第二多个相互平行的部分反射表面21的第二耦出配置,部分反射表面部署在主要表面23和24之间,并与主要表面23和24成倾斜角度。所述第二多个部分反射表面21与所述第一多个部分反射表面11不平行,并且位于所述复合光导装置的第二区域中,以用于耦出所述图像照明的视场的第二部分。
即图像照明15和25的第一和第二光线平行地从图像投影仪100出现,并分别耦合到第一和第二光导光学元件10和20中,同时在第一和第二光导光学元件内以不同角度传播。
Lumus指出,这种设计存在诸多优点。
由于每个波导只需要传输角视场的一个子区域,因此在耦输配置的部分反射表面和各种其他组件中使用的角选择涂层的设计要求相对宽松。具体来说,每个耦出表面在所需图像对应的角度范围内,对红、绿、蓝光最好是部分反射的,而对共轭图像对应的角度范围内的红、绿、蓝光则是高度透明的。如果所述属性只需要图像视场的一部分,则设计要求相当宽松。
另外,这允许显示器可以实现比单个波导所能传输的更大视场。在每个波导中,视场中不需要由波导传递的部分可以允许超过角度限制,而且不会影响在眼动盒中可见的图像质量。同时,图像的所有部分都来自单个图像投影仪的事实降低了制造成本,并简化了保持显示图像的不同部分之间对齐的任务。

图1说明了具有两个LOE 10和20的显示器实现,每个LOE都形成透明材料的板结构,或具有足够折射率以支持波导传播的其他材料。如前所述,每个LOE具有两个主要平行表面13和14,一组内部平行表面11,其部分反射涂层与主要表面呈斜角。
LOE任选地还包括与具有部分反射的主要表面平行的内表面19,29,从而均匀化输出强度分布。这种内表面的一个特别优选实现是在波导的中间平面上有一个表面,在与波导内传播的图像照明对应的角度范围内具有大约50%的反射率,并且在接近垂直穿过波导的视角处具有低反射率。
图像投影仪100优选配置为产生准直图像,即其中每个图像像素的光是平行光束,准直至无限远,并具有与像素位置对应的角方向。因此,图像照明跨越与二维角度视场相对应的角度范围。
图像投影仪100包括至少一个光源,通常部署以照亮空间光调制器。所述空间光调制器调制所述图像的每个像素的投影强度,从而产生图像。或者,图像投影仪可以包括扫描装置,其扫描来自激光光源的照明穿过投影仪的图像平面,而光束的强度在逐像素的基础上与运动同步变化,从而为每个像素投影所需的强度。
在这里所示的特别优选实施例中,图像投影仪100通过主要表面24之一将图像照明注入复合光导装置中。在这种情况下,图像照明的第一部分通过第一反射器12耦合到第一LOE 10中,并且图像照明的第二部分通过第二反射器22耦合到第二LOE 20中。
尽管表面11和21不平行,并且反射器12和22不平行,如果这些表面与LOE的主表面之间的绝对角相等(即,表面12和14与表面11和14之间的绝对角度相等,表面22和24之间以及表面21和24之间的角度相等),则进入两个LOE的平行光线15和25将同样平行地从内表面阵列离开LOE(光线16和26)。

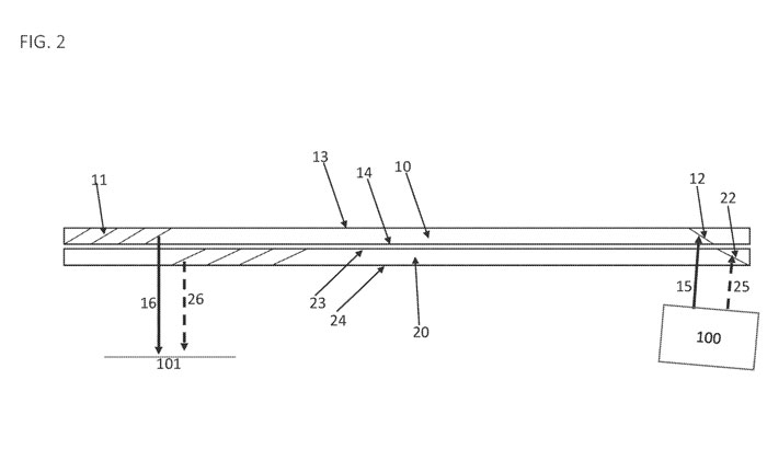
另外,如图2所示,即便耦入表面和耦出表面阵列不平行于主表面或与主表面成相同的绝对角度,只要两个LOE的角度差相同,则进入两个LOE的平行光线15和25将同样平行地从内部部分反射表面阵列离开LOE(光线16和26)。
在图1和图2的示例性实施方式中,第一反射器12和第二反射器22是非重叠关系的全反射器。在这种情况下,两个LOE的输入孔径宽度大致等于每个输入孔径的总和。

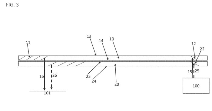
在图3所示的一组可选实施例中,第二反射器22是部分反射器,并且光通过第二反射器22后到达第一反射器12。在图3中,反射器12和22是集成在LOE内的内部反射器,即在相应主曲面的平面之间。输入孔径的空间重叠减小了输入孔径的总宽度。对于这种实现,对于靠近图像投影仪的LOE,耦合表面反射率应设置为50%。因此在图3中,表面12和22重叠,表面22的反射率应该约为50%。
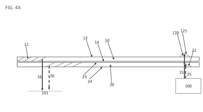
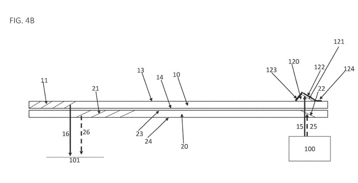
在4A-4C中,第二反射器22位于第二LOE20的内部,而第一反射器直接或间接与棱镜120的表面相关联,棱镜120附着在远离图像投影仪100的第一LOE120的主表面13上。

具体而言,在图4A中,棱镜120粘接在LOE 10上,光线通过棱镜120的表面121反射并耦合到LOE中。

在图4B所示的另一选择方案中,与直接在棱镜上形成反射面不同,棱镜120可以与作为“第一反射面”的外反射面122配合,使得光线从棱镜120输出,从外表面122反射,再进入棱镜120,从而引导到LOE内部。如图4B所示,其中光线15由外表面122经棱镜120反射到LOE 10中。
在这种情况下,表面121可以设置AR涂层。任选地,外部反射面122的定位可以通过将相关表面粘附到LOE10和/或棱镜120的非光学活性区域来固定。
在特别优选的实施例中,显示器可具有允许对第一反射器的角度进行微调的调节机制。所以在图4B的实施中,可以使用主动对准系统和过程来确保从两个LOE射出的射线的平行性。在这样的校准过程中,一个单一的准直光束耦合到两个LOE。光束同样在输出端被测量,并通过部分反射的内表面11和21阵列从LOE耦出。
如果21和22的角度差不等于11和12的角度差,则离开LOE 10的光线将不平行于LOE 20的光线。如果使用如图4B所示的外反射镜,则可以使用合适的调节机构倾斜反射镜的俯仰和偏转,直到光线16和26之间达到平行,然后通过粘合表面123和124来固定位置,以保持反射器122的方向。
另外,即使在图4A所示的具有集成反射面121的棱镜120的情况下,都可以通过提供一组角度差异较小的可互换棱镜来实现类似的主动对准过程。所述棱镜可以暂时粘接在LOE10,并且选择光线16和26之间角差最接近的棱镜永久粘接在LOE10。

现在来看看图5A-6C。第一光导光学元件10优选地包括在第一LOE 10的主要表面13、14之间部署的第一组相互平行的、部分反射的偏转表面17。所述第一组偏转表面17部署为将在第一LOE内传播的图像照明逐步偏转至所述第一多个部分反射表面11。
类似地,第二LOE 20包括部署在第二光导光学元件20的主要表面23、24之间的第二组相互平行、部分反射的偏转表面27。所述第二组偏转表面27部署为将在第二LOE内传播的图像照明的部分逐步偏转至第二多个部分反射表面21。
在5A-6C中,第一LOE 10包括与第一组偏转面17平行的第一内部反射面18,并部署用于将在第一LOE内传播的图像照明部分偏转至第一组偏转面。类似地,第二LOE 20包括第二内部反射面28,其平行于第二组偏转面27,并用于将在第二LOE内传播的图像照明部分偏转至第二组偏转面。
图5A和6A分别为第二LOE 20的正视图和侧视图。5B和6B则显示第一LOE 10的相似视图。5C和6C显示组装显示器的相应视图。
因此,除了通过图1至4C的结构实现LOE在X方向上的孔径扩展之外,所述实施例同时实现了沿Y方向的孔径扩展的附加尺寸。偏转表面17和27是部分反射表面,而内部反射表面18和28平行于它们各自的偏转表面。
由表面22从图像投影仪100耦入的将由第二LOE 20引导的光被表面28反射,以便朝向偏转表面27偏转,在那里它被表面27渐进地偏转和反射。由于表面27和28都是平行的,来自阵列27的表面的最终偏转的光线将平行于通过表面22耦合到LOE中的光。这同样适用于由LOE 10内部的表面18和17偏转的射线。
因此,尽管表面27和17可能不平行,但耦合到第一LOE 10和第二LOE 20中的平行光线依然可以平行出现。
在一个实施例中,第一组偏转曲面17与所述主要曲面13、14的平面交点线与第二组偏转曲面27与所述主要曲面的平面交点线不平行。
在一个实施例中,第一组偏转表面17和/或第二组偏转表面27与LOE的主要表面正交。在这种情况下,直接像及其共轭像都被所述表面偏转,并重定向到离耦区域。在备选实施例中,第一组偏转表面17和/或第二组偏转表面27斜向所述LOE的主要表面。在这种情况下,只有一个图像逐渐偏转到耦合出区域,而表面在与不需要的图像对应的入射角范围内优选地基本透明。
上述属性最优选地对于不同颜色基本为均匀,从而允许通过每个LOE显示彩*图色**像视场的相关部分。
相关专利 :Lumus Patent | Display with stacked light-guide elements providing different parts of field of view
名为“Display with stacked light-guide elements providing different parts of field of view”的Lumus专利申请最初在2022年4月提交,并在日前由美国专利商标局公布。