经过雨季骑行后,爱车往往会出现刹车皮磨损,夹器偏摆等状况,导致刹车手感下降,在清洗刹车并换上新的刹车块后,刹车手感也不尽人意,下面是正确的钳形夹器的安装和调整方法,只需一套内六角,实际操作非常简单:
安装刹车夹器:按住刹车臂,在刹车块紧紧接触轮圈的同时,使用5MM六角扳手锁紧固定螺母至扭力8-10NM。

2
调整刹车块位置,产生0.5mm前束(刹车块尾端较前端靠外), 对前束的调整能带来流畅的刹车操作,保持刹车块距轮圈上缘1mm以上,使用4mm六角扳手固定刹车块至刹车臂,扭力5-7NM。


3
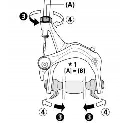
将快速拆装手柄拨至闭合位置,调整中心调节螺丝(A)使左右刹车块距轮圈距离相等。

4
按住刹车臂在左右刹车块距轮圈2MM时固定刹车线。
5
再次利用中心调节螺钉对刹车块中心位置进行微调。
6
转动刹车线调整螺母调整左右刹车块距轮圈1.5-2mm。

7
在使用刹车前,反复按压刹车手柄约10次,检查一切操作是否正确,刹车块间隙是否正常。

Tips:
可根据实际情况通过刹车臂上的弹簧调节螺丝适当降低或者增加刹车弹簧力度。