支架为钢管桩+贝雷梁的结构形式,贝雷梁纵向按不大于6米一跨布置,当通过桥墩断开时,在墩顶两侧加钢管桩基础支撑。
钢管桩顶设2I40a工字钢作为下横梁。贝雷梁上铺I12.6工字钢作为横向分布梁,纵向间距30cm,分布梁上设纵向方木支撑箱梁底模。钢管桩规格为&529×10mm,箱梁顶宽16.4时横向每排布置6根、顶宽大于16.4m时横向每排布置6~10根,钢管桩上下各焊接一块钢板,下端支撑在条形基础上,上端布置砂箱作卸落装置。砂箱上下钢板分别与钢管桩顶上钢板和下横梁焊接固定。

支架立面图
2.支架结构
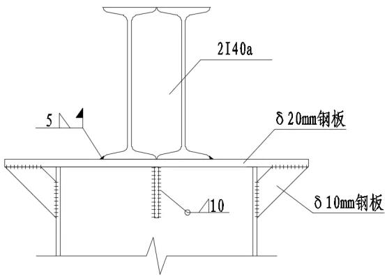
管桩规格为529×10mm,贝雷梁纵向按不大于6米一跨布置,当通过桥墩断开时,在墩顶两侧加钢管桩基础支撑。钢管桩顶设2I40a工字钢作为下横梁。贝雷梁上铺I12.6工字钢做为横向分布梁,纵向间距30cm,分布梁上设纵向方木支撑箱梁底模。支架典型断面如下图所示:

支架断面布置图
箱梁顶宽16.4m时,钢管桩横向每排6根,按3+2.5×3+3m间距布置。箱梁顶宽大于16.4m时,横向每排布置6~10根钢管桩,横向间距按3+2.5+L×n+2.5+3m间距布置,L数值不大于3m。
2.1、地基基础
原地貌为稻田软基区,同时由于纵向便道设置在左右幅中间,桩基钻孔施工的泥浆池、沉淀池均设置在墩与墩之间,再次形成部分软基,现场地基承载力较差。同时承台厚度有2.5米、3米结构形式,现场埋设约2~3米,承台基坑开挖深度约5米,采用放坡明开挖,基坑开挖的面积与深度均较大,基坑周围回填区被水浸泡再次形成软基区。
现浇梁支架施工前,先挖除淤泥质软基或泥浆沉渣彻底清除干净,再换填片石,片石层上施工条形基础。
根据现场地质条件,换填片石平均厚度约2.5米,宽3.0米,条形基础宽1.5米,高1.5米,上下各布置一层钢筋网片。
2.2、钢管桩
支架钢管桩采用529×10mm规格钢管桩,随箱梁顶宽变化、每6~10根为一排,纵向分布间距不大于6米,墩柱处加密。每根钢管桩上下各焊接一块80×80×2cm钢板,同时上钢板与钢管桩之间对称焊接4块加肋板,使钢管桩均匀受力。

桩帽加强板
钢管桩需接长时,采用焊接接头。焊接过程中应及时清渣,焊缝表面应光滑、饱满,焊缝高度不小于设计值,对接的两根钢管应位于同一轴线。接头构造如下图所示:

钢管桩接头示意图
2.3、砂箱
为了调整梁底面高度,并考虑模板拆除工艺,在钢管桩桩顶上设置砂箱。砂箱由&570*10mm螺旋钢管与&529*10mm螺旋钢管制作,高0.45~0.82m,底部填充15~25cm厚标准砂,在下砂箱钢管根部设置2个泄砂装置。构造图如下图所示:

砂箱示意图
2.4、剪刀撑
每排钢管桩之间横向采用[14槽钢焊接剪刀撑连接,以增加横向刚度,共焊接两道,两道剪刀撑高度间距6米,第一道剪刀撑距地面高度2米。
纵向相邻的两根钢管桩之间采用[14槽钢焊接剪刀撑连接,以增加钢管桩纵向稳定性,共焊接一道。剪刀撑距地面高度2米。[14槽钢剪刀撑与钢管桩夹角45度,剪刀撑焊接前对槽钢端头进行切割处理,确保槽钢剪刀撑与钢管桩的有效结合面积。
2.5、横梁
桩帽上设置两根I40双拼工字钢作横梁支撑主梁贝雷片;为防止主梁工字钢倾覆,将工字钢边缘与砂箱顶帽钢板焊接牢固。

横梁立面示意图
2.6、贝雷梁
采用16Mn贝雷片、90型花架两片连接成一组,左幅10组、右幅10~14组。主梁贝雷片采用“U”型卡固定在横梁上。贝雷片在墩柱处断开时,采用重叠贝雷片的方式进行加强。

贝雷片布置示意图

贝雷片与横梁U型卡示意图
2.7、分配横梁
贝雷梁上铺I12.6工字钢做分布梁,间距30cm,分布梁上纵向方木,支撑箱梁底模。
在距箱梁边腹板内侧0.5m处,顺桥向布置两根通长型钢与所有分配横梁焊接在一起,使分配横梁形成一个整体。分配横梁顺桥向每间隔10米采用倒“U”型卡与贝雷梁固定。
2.8、底模
顺桥向纵梁上铺9×9cm松木作分配横梁,方木横向间距20cm,分配横梁上安装1.2cm竹胶板作底模。
3、支架搭设
支架安装施工工艺流程图如下:

3.1、测量放样
在支架施工前,对工程的测量点测量网进行全面复核。结合连续梁墩的平面位置,根据支架方案钢管桩布置图计算每根桩的中心坐标。按施工先后顺序放样条形基础轮廓线。
3.2、基槽开挖放样完成后,使用挖掘机开挖基槽。换填片石厚度平均为2.5m,加上条形基础厚度1.5m,则基槽开挖深度约为4.0m。基槽长度根据箱梁顶宽变化、宽均为3.0m。
如遇到水塘、泥浆池等地质条件较差的位置,应适当将开挖深度加深、换填厚度加厚,并应及时通知监理工程师现场确认。3.3、换填片石
施工现场处于稻田、鱼塘等软基区域,且受*地征**影响,便道设置在左右幅之间,泥浆池、沉淀池也设置在红线内墩与墩之间,地基状况较差,因此对地基拟采用片石换填的方式进行处理,换填宽度3.0m、厚度平均约2.5m。选用强度大于15Mpa的优质片石作为回填的填料。石料的最大粒径不得超过压实层厚的2/3,超过的应进行破碎。填筑时,采用分层填筑,填筑厚度不大于50cm,逐层用挖掘机整平、拍打密实。填筑时,应先铺填大块石料,大面向下,小面向上,摆设平稳,再用小石块找平,石块之间的空隙可以扫入石渣、砂砾石使空隙填满。
3.4、检测地基承载力
根据支架计算书,换填地基承载力需达到设计数值方能保证支架的安全性。换填完成后,项目部试验室应对其承载力进行检测,满足要求方可进行下一步施工。如不满足要求,则需对换填的片石重新进行压实,直到检测合格。
3.5、施工条形基础
条形基础采用现浇C25砼钢筋混凝土。条形基础宽1.5m、厚1.5m。地基换填完成后,在地基上安装条形基础钢筋。然后安装模板,模板采用1.2cm竹胶板,9×9cm松木加固。浇筑条形基础混凝土时,应振捣密实、顶面抹平。
3.6、测量基础高程
条形基础浇筑完成后,需对每根钢管桩位置的高程进行测量,并记录好。通过实测高程,计算钢管桩长度。
3.7、安装钢管桩
①安装钢管桩下钢板
测量放样,在条形基础上放出钢管桩中心,中心处安装钢管桩下钢板。 在条形基础上钢板外侧紧靠钢板钻孔插钢筋固定。钢筋采用直径20mm,埋入条形基础深度不小于30cm.每块钢板四个钢筋,成正方形布置于钢板四边,并与钢板点焊。
②安装钢管桩
根据条形基础实测高程,在加工场内将每根钢管桩及砂箱加工完成,用平板拖车运送至施工现场。下钢板画出钢管桩外轮廓,钢管桩立在轮廓内,确保平面位置的准确性,钢管桩采用25t汽车起吊安装,挂垂线校正钢管桩垂直度,发现发生倾斜时,应及时调整垂直度。钢管桩就位后,与下钢板焊接固定。
③砂箱安装
钢管桩顶上焊接上钢板,上钢板顶上安装砂箱,砂箱与钢板点焊固定。
3.8、桩帽处理、安装横梁
钢管立柱顶采用焊接桩帽钢板与管桩焊接,桩帽钢板与管桩之间采用三角加肋板加强。在加工场内,将横梁加工好,运送至施工现场,采用25t汽车吊、起吊、安装。横梁安装顶面标高偏差不大于10mm。桩帽、横梁之间要连接紧密,如有间隙要及时采用钢板抄垫,防止承重后横梁受力不均造成支架沉降。
3.9、剪刀焊接、纵梁安装
钢管柱纵向、横向之间均采用[14槽钢焊接“X”型剪刀支撑,确保支架整体稳定。横梁施工完成后,用全站仪于横梁上放样纵梁位置,纵梁“321”贝雷片两片一榀预先拼装,整榀吊装就位。安装过程中确保承重梁与贝雷梁连接处为贝雷梁直腹杆计算节点位置,并及时安装贝雷花架。贝雷销子必须连接牢靠,并安装保险销,贝雷梁限位槽钢与下横梁焊接牢固。3.10、安装分配梁
分配梁采用I12.6的工字钢,按30cm间距纵向布置,与贝雷梁之间采用“U”型螺栓连接牢固。
3.11、方木安装
纵梁上铺设宽9×9 cm方木作为横梁,间距0.20m一根,方木上钉1.2cm厚优质竹胶板作为底模。
3.12、施工期间之间监测
施工过程中支架检测主要分支架预压阶段和混凝土浇筑阶段两部分进行,确保施工期间支架体系安全。
3.12.1、支架预压
支架组装施工完成,铺设梁底模板之后,进行支架的预压。
(1)支架预压的目的:
①检查支架的安全性,确保施工安全; ②浇筑混凝土之前,应对支架进行预压,以消除支架地基的不均匀沉降和支架的非弹性变形并获取弹性变形参数,有利于桥面线形控制。
(2)预压荷载
预压采用分级、对称堆载预压,预压荷载为上部结构的自重以及未铺设模板重量之和的1.2倍,预压荷载采用堆载混凝土预制块。
(3)观测点设置
沿结构纵向每隔1/4跨径布置一个观测断面,每个断面横向设置5个标高观测点点,底模左、中、右各设一个点,两侧侧模顶面各设一个点,观测点对称布置。
(4)加载
支架预压加载的过程分三级进行,依次施加荷载为单元内应加荷载的60%,80%,100%。荷载施加,纵向由跨中向两侧支点对称施加;横向由结构中心向两侧进行,在加载过程中,测量人员随时监测支架变形情况,每级荷载加载完成后,间隔12小时对支架沉降量进行观测,当支架连续两次测点沉降差小于2mm时方可进行下一级加载。全部荷载加载完成后,每间隔24小时观测一次,计算前后两次沉降差。
(5)支架预压合格判定
在全部加载完成后的支架预压监测过程中,当满足下列条件之一时,应判断支架预压合格:
a、各监测点最初24h的沉降量平均值小于1mm;
b、各监测点最初72h的沉降量平均值小于5mm。
当支架预压沉量较大时,需立即采取加固措施。
(6)卸载
当支架预压判定合格后,按总重的100%→80%→60%→0依次进行卸载。卸载要求与加载要求相同,每卸载一级砂袋,保持静载30分钟,测得各观测点的变形值。卸载纵向对称、左右均衡、同步卸载,防止支架偏心受压过大。
(7)施工预拱度的设置
为了使梁在完成后达到规定的标高,模板调整时要考虑设置预拱度。
设未加载前梁底模上各观测点的标高值为H1,加载至100%后测得梁底模上各观测点标高值为H2,卸载前梁底模上各观测点标高值为H3,卸载6小时后梁底模上各观测点标高值为H4。
支架在设计荷载作用下的非弹性变形量H1-H4。通过试压后,可认为支架、模板、方木等的非弹性变形已经消除。
支架在设计荷载作用下的弹性变形量=H4-H3。根据该弹性变形值,在底模上设置预拱度δ3,以使支架变形后梁体线型满足设计要求。
根据H2-H3,大体可以看出在设计荷载持续作用下对支架变形的影响程度。
3.12.2砼浇筑支架监测
(1)监测目的
为防止现浇梁混凝土浇筑过程中,支架局部受压导致局部失稳,引起支架整体坍塌,混凝土浇筑过程中须加强对支架的监测,确保混凝土浇筑过程中的安全
(2)监测内容
钢管桩下沉、钢管桩剪刀撑开焊、贝雷梁钢销子松脱、支架局部沉降急剧加大等。(3)监测方法
钢管桩下沉量:每跨监测3排钢管,在管桩上采用红油漆作显著标记,混凝土浇筑过程中,随时进行观测,当发现钢管桩发生下沉时,立即停止浇筑,分析原因,必要时对支架进行整体加固。剪刀撑开焊:两人一组,在混凝土浇筑过程中进行巡查,当听到异常响动时,必须立即停止浇筑,查找异常响动来源。贝雷梁钢销子松脱:混凝土浇筑前,首先整体进行排查,发现松脱及时加固,浇筑过程加强巡查。支架局部沉降急剧加大:每跨布置三排观测点,随时进行观测,当发现支架局部沉降急剧加大时,立即停止浇筑,分析原因,必要时对支架进行整体加固。
4、箱梁施工
根据设计文件,为多跨连续现浇梁,采用逐跨浇筑方式,施工总流程如下:
(1) 搭设第一跨、第二跨支架,并支模浇筑至设计连接位置:

(2)搭设第三跨支架,待第一跨张拉完成后,进行第二跨施工:

(3)搭设第四跨支架,待第二跨张拉完成后,进行第三跨施工:

(4)拆除第一跨支架,搭设下一跨支架,待第三跨张拉完成后,进行下一跨施工:

单跨现浇箱梁施工详细工艺流程如下:
地基处理→地基预压→沉降观测→支架搭设→支座安装→安装底模及侧边模→绑扎底板、横梁及腹板钢筋→安装预应力管道→钢绞线穿索→安装横梁、内模及腹板模板→绑扎顶板钢筋→安装预应力管道→钢绞线穿索→浇筑梁体混凝土→混凝土养生→预应力张拉及压浆→支架下落→拆除底模、内模及侧模→支架拆除并转运。
每跨砼浇筑均采用2台56m泵车同时灌注(另备用1台),布置在各跨两端,从两端向跨中,纵向均衡、横向对称先边腹板后中腹板浇筑。
4.1、支座安装
现浇梁采用公路盆式支座,分单向(DX)、双向(SX)及固定(GD)三种类型。支座下钢板采用锚栓固定安装,支座上钢板与梁底预埋钢板采用连续角焊缝焊接牢固,焊缝高度不小于10mm。施工方法如下:
4.1.1、施工准备
支座安装前先将垫石顶面浮浆除去,检查支座垫石顶面标高、平整度以及锚栓孔位。垫石顶标高应符合设计要求,顶面应平整、四角高差不得大于2mm,锚栓孔位应满足盆式支座的安装要求,对偏差较大的项目应进行修整。处理完的垫石顶面应清洁、平整、无油污。
4.1.2、测量放样
在支撑垫石上按设计图纸标出支座位置中心线,同时在橡胶支座上也标上十字交叉中心线,将橡胶支座安放在垫石上,使支座中心线同垫石上的设计中心线相重合,支座就位准确。
4.1.3、灌浆、放置锚栓
支座就位后,在预埋孔内灌入适量支座灌浆料,然后将锚栓轻轻放入预埋孔内。4.2、模板制作和安装
根据箱梁施工工序安排,模板安装分两次进行,第一次安装底腹板模板,底腹板钢筋绑扎完成,搭设内模支架,安装顶板内模,进行顶板混凝土浇筑。第36联现浇梁内外模板均采用1.2cm厚竹胶板加工成型。
4.2.1、底腹板
箱梁底模和侧模均采用1.2cm厚竹胶板加工成型,为防止竹胶板遇水及热胀冷缩,箱梁外模每间隔10m设置1cm宽伸缩缝,缝内采用玻璃胶填塞抹平。模板安装时,先将模板清理干净,涂刷隔离剂,事先在用测量仪器准确定位,确保模板正确的线形,每节模板接缝间结合部,用乳胶粘贴薄海绵以防止漏浆。模板就位后对于模板安装尺寸各项指标进行严格检验。
4.2.2、顶板内模
内模支架采用45*3.5mm钢管搭设,立杆横向间距1.2米,纵向间距0.9米,立杆上端设置顶托调节高度,横桥向在顶托上布置两根钢管作分配横梁,纵向采用9*9cm木方作分配纵梁,纵梁间距25cm,上铺竹胶板。
为了在顶板浇筑过程中,对内模支架正常检查,同时确保浇筑完成后内模支架顺利拆除,故在顶板浇筑的过程中按设计图纸预留施工人洞。
4.3、钢筋、波纹管的绑扎、安装
钢筋在加工场加工后,由吊车进行吊装到已经安装好的模板内进行绑扎。钢筋严格按设计图所示形状和尺寸在钢筋加工场加工,直接在底模绑扎成型。施工中绑扎铁丝尾端不得留在保护层内。由于箍筋数量多而密,位置不好控制,为此,采取在模板侧面划线定位的方法,用以准确无误地掌握箍筋的根数及间距。腹板及底板部分钢筋全部成型后。开始焊接波纹管定位筋,由于波纹管线形为曲线,为准确控制每一根定位筋的位置,施工中采用尺杆刻度定位法,即按照设计图给出的钢绞线的坐标,算出波纹管底部定位筋的坐标,刻于木方尺杆上,用这尺杆在腹板上划出定位筋的位置,再焊接定位筋,并按照图纸要求,斜腹板平弯段设置防崩钢筋。钢筋连接采用焊接接头,钢筋接头质量必须符合规范要求,受力钢筋接头设置在内力较小处,并错开布置,两接头间距不小于1.3倍搭接长度,配置在搭接长度区段内的受力钢筋,其接头截面面积占总截面面积的百分比:在受拉区内不超过50%。钢筋骨架具有足够的强度和刚度,钢筋骨架各部分结构尺寸,钢筋数量、规格,间距等符合设计及规范要求��梁体内各部预埋件的安装尺寸应准确,加固牢固,以免砼浇筑过程中发生移位。钢筋由监理工程师检查合格后方可进行下道工序。为保证钢筋保护层厚度,除在钢筋骨架成型时用架立钢筋控制好间距外,再用垫块加以控制,垫块采用与梁体同等寿命的材料进行预制,将按设计要求厚度的垫块呈梅花状绑在钢筋的交叉点上。腹板钢筋绑扎完成后,将波纹管按顺序逐根穿入,用20~22#铅丝与定位筋绑扎牢固,防止波纹管在施工中产生移位或上浮,最后将加工好的钢纹线两端用电工胶布包好包紧,从波纹管一端穿入,从另一端伸出。
4.4、混凝土施工
4.4.1浇筑前准备工作
在混凝土浇筑前,应对以下几个方面进行检查验收。
(1).支架验收
在浇筑前现场技术员和主管工程师必须对所有支架的连结点进行仔细检查,不得有节点不密贴的现象。
2.模板验收
主要检查模板接缝是否严密、模板几何尺寸和支撑的稳固性。
3.预埋件的验收
按照图纸逐一、重新复核预埋件的规格、数量、位置及加固质量。
4.机械设备工作状态及就位检查
为了保证浇筑过程的顺利进行,在浇筑前对泵车、振动棒等设备及工具进行使用状态检查验收,确保设备在浇筑全过程的正常运转使用。浇筑时使用两台56m泵车对称浇筑,施工前必须复核泵车泵送混凝土的有效范围,振动棒按每工作面配置,以满足两台泵车连续出料振捣为宜。
4.4.2混凝土的拌合
1.准备工作
混凝土拌和前,拌和站人员对所有机械设备、工具、使用材料进行认真检查,确保混凝土的拌制和浇注正常连续进行。搅拌混凝土前,试验室人员测定粗细骨料的含水率,按选定的理论配合比换算成施工配合比,计算每盘混凝土实际需要的各种材料数量,提供给拌和站进行计量标定。拌和站在接到开始拌和的指令后,方能拌和。
2.拌和工艺
按施工配合比准确计量混凝土原材料重量,拌和时,先向搅拌机投入细骨料、水泥和矿物掺合料和外加剂,搅拌均匀后,再加入所需用水量,待砂浆充分搅拌后再投入粗骨料,并继续搅拌至均匀为止。搅拌时间不小于120秒,也不宜超过3分钟。4.4.3混凝土的运输
混凝土采用罐车运送到工地,然后由泵车泵送入模。罐车运输途中应以2~4转/min的慢速进行搅拌,运输到工地的混凝土如发现离析,严重泌水或坍落度不符合要求时,必须退回处理。当罐车到达浇筑现场时,应将罐车高速旋转20~30s,再将混凝土拌和物喂入泵车受料口。泵送混凝土前,先用水和同标号水泥浆冲洗管道。开始泵送时,混凝土泵处于慢速、匀速并随时可反泵的状态。泵送速度先慢后快,逐步加速。同时观察混凝土泵的压力和各系统工作情况,待各系统运转顺利后,方可以正常速度进行泵送。保持连续泵送混凝土,必要时刻降低泵送速度以维持泵送的连续性。若停泵,每隔4~5min开泵一次,正转和反转两个冲程,同时开动料斗搅拌器,防止料头离析。如果泵停45min,或者混凝土离析时,要将管中混凝土清除,并清洗泵机。
4.4.4混凝土的浇筑
1.浇筑前的准备工作
①再次仔细检查钢筋保护层垫块的位置,数量及其紧固程度,并指定专人做重复性检查,以提高钢筋保护层厚度尺寸的质量保证率。构件侧面和底面的垫块应为4个/m²,绑扎垫块和钢筋的铁丝头不得伸入保护层内。
②办理模板、钢筋等工序的检查签证手续。
③检查各种原材料和计量器具否符合要求、是否完好;④检查振动设备以及混凝土输送泵系统运转是否正常。在灌注混凝土之前振捣棒及振捣人员应分段明确、责任到人。各负责段的相关人员应在灌注前将振捣棒的插入部位仔细观察,是否有影响振捣棒插入的钢筋,当影响振捣棒插入的为普通钢筋时应调整钢筋的位置,以确保振捣棒能顺利插入。(为了保证混凝土密实及振捣棒插入和拔出这种调整是必须的)⑤收听天气预报,保证晴天和正温天气施工。混凝土入模温度控制在5~30℃。自检完毕后报监理工程师检查验收,验收通过后方可进行混凝土的浇筑。
2.混凝土的质量要求
a、混凝土由自建搅拌站提供,标号C50。混凝土配合比应根据泵送混凝土浇筑工艺进行设计,在满足强度条件下应具有良好和易性,设计坍落度为160~200mm,混凝土初凝时间不小于8小时。b、试验室应对浇筑混凝土温度进行有效监控,宜选择室外气温较低时浇筑混凝土;冬季入模温度不低于5℃,宜选择室外气温较高时浇筑混凝土。
c、混凝土运输到工地后进行现场检查监控:按要求做坍落度试验,并观察混凝土的流动性、和易性,符合要求方能允许浇筑入模。
3.浇筑顺序箱梁混凝土分两次浇筑成型,第一次浇筑到顶板翼缘与腹板相接的位置。
(1)、第一次砼浇筑:浇筑底腹板使用两台泵车分别从主墩开始向两端对称浇注底板混凝土,混凝土浇筑注方式总体采用水平分层的方式浇注,振捣采用插入式振动棒捣固密实,及时对底板混凝土进行抹平、压实和表面赶光。底板浇注到位后再由主墩开始向两端对称灌筑两侧腹板混凝土,以梁纵向中心线左右对称浇筑。此时混凝土捣固采用插入式振动棒进行,振动棒插入下层混凝土10cm,扰动腹板下半部分已接近初凝混凝土,避免产生接缝。本次施工千万注意每层混凝土浇注必须保证下层混凝土初凝前完成。要求两层相差时间不大于4小时。也就是要求腹板混凝土施工既要分段又要分层。特别要求防止漏振。同时保证对称施工,确保模板不发生侧移。

底板浇筑示意图

腹板浇筑示意图
横向:由中间向两侧对称浇筑,先浇筑对称中间的两个腹板,后对称浇筑两侧边腹板。
(2)、第二次砼浇筑:浇筑顶板
第一次底腹板砼浇筑完成后,搭设内模支架,绑扎顶板钢筋,进行第二次砼顶板浇筑顶板混凝土浇筑由主墩向两端进行浇筑,由梁纵向中心线对称向两侧翼缘板全断面浇筑,混凝土在振捣平整后即进行第一次抹面,顶板混凝土应进行二次抹面,第二次抹面应在混凝土近初凝前进行,以防早期无水引起表面干裂,混凝土浇筑完毕后,覆盖土工布进行湿润养护。洒水养护时间不少于7 天,每天洒水次数以能保持砼表面经常处于湿润状态为宜。