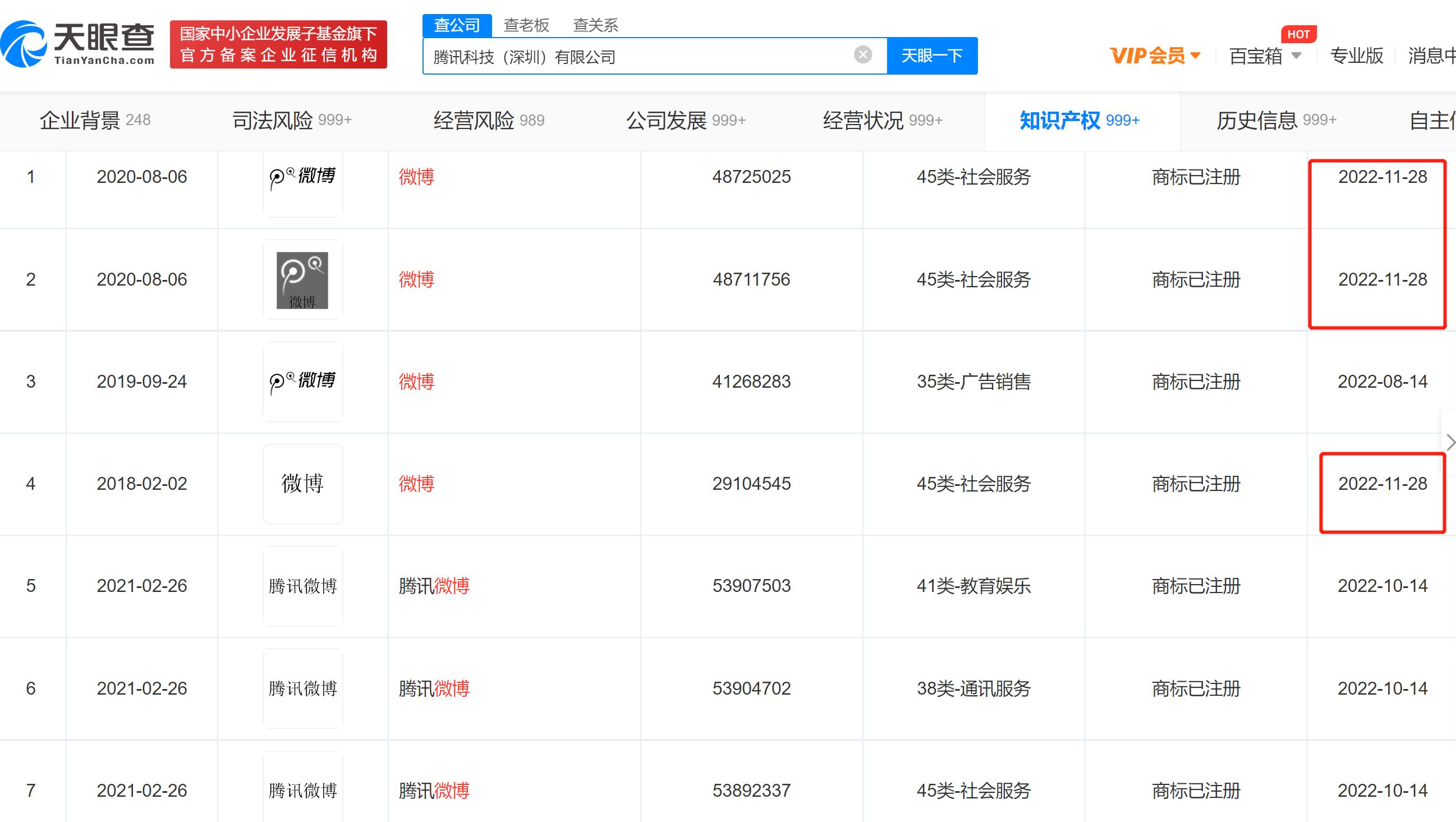
据 十象知产 了解,近日,腾讯科技(深圳)有限公司两年前申请注册的3枚“微博”图文商标,国家知识产权局已准予注册。这3枚商标分别申请于2018年2月和2020年8月,国际分类均为社会服务,注册日期为2022年11月28日,此前商标状态一直处于驳回复审中。

据悉,该公司于2021年2月、7月再申请多枚“腾讯微博”及“微博”商标,其中多枚“腾讯微博”商标已于今年10月完成注册。
10年前,各大门户纷纷推出微博服务,其中做的最为出色的,便是新浪微博和腾讯微博两家。随后,腾讯微博在竞争中落败,于2020年9月28日,坐拥3亿用户的腾讯微博正式停止了服务和运营。

如今,随着社交媒体影响力的日益增大,新浪微博早已成为年青一代的娱乐阵地。而“微博”商标的成功注册,这是否是腾讯发出重启微博业务的信号?
不过,腾讯无论是为回归做准备,还是仅仅作为防御商标,提前做好商标布局对于企业来讲至关重要。
商标是企业重要的无形资产,提高知识产权意识,及时完善商标布局,把握好自身商标权,这既是对进入市场做好前期准备,也是对品牌发展规划的巨大助力。