中国游艺机游乐园协会(CAAPA)主办的2020中国(北京)国际游乐设施设备博览会将于6月22-24日于北京·中国国际展览中心举办,展会规模约80000平米,展商约800家,汇聚来自50+国家的60000+文旅行业专业观众,展品覆盖主题公园、景区景点、度假区、水上乐园、城市娱乐中心、冰雪乐园/滑雪场、特色小镇、田园综合体等业态的文化旅游装备,助力文旅产业品质全面升级。

近日,国家标准化管理委员会发布了《关于批准发布<内六角圆柱头螺钉细牙螺纹>等173项国家标准和2项国家标准修改单的公告》,其中小编就涉及的游乐设施制修订国家标准予以摘选出来,详见下文。

03
观览车类游乐设施通用技术条件
本标准按照GB/T 1.1-2009给出的规则起草。
本标准代替GB/T 18164—2008((观览车类游艺机通用技术条件》,与GB/T 18164—2008相比,除 编辑性修改外主要技术变化如下:
——修改了范围(见第1章,2008年版的第1章);
——增加了术语和定义(见第3章);
——增加了风险评价的要求(见5.1);
——增加了对柱脚、风载、防高空坠物、高空装饰物连接、冗余的制动装置或机械锁定装置、地板防 滑措施、辅助上下客的同步站台、回转支承的连接、座舱横向游动量、D型观览车回转臂轴线位 置公差和误差补偿、防止座舱空摆时间、C型观览车驱动装置输出轴强度校核、A型和B型观 览车轿厢防水措施等的技术要求(见5.2);
——增加了束缚装置、压杠锁紧装置、座椅拦挡结构、轿厢门锁、轿厢安全警示标识、A型和B型观 览车轿厢结构、轿厢门防夹等的技术要求(见5.3);
——增加了故障-安全原则、电机容量校核、传感器防护、启动联锁功能、防雷装置、视频监控系统、 通信传输系统、防止偏载失速、附属设施的电气控制系统、A型和B型观览车备用电源、烟雾 报警等的技术要求(见5.4);
——增加了应急救援备用电源、应急发电机、独立救援设备、救援联动机制等的技术要求(见5.5);
——增加了金属结构防护、漆膜附着力、热镀(浸)锌等的技术要求(见5.6);
——增加了外观状态、主要技术参数测试、应力测试、运行试验等的技术要求(见5.7);
——增加了检验、检测与试验的要求(见第6章);
——增加了随机文件、标志、包装、运输和贮存(见第7章)。
本标准由全国索道与游乐设施标准化技术委员会(SAC/TC 250)提出并归口。
本标准起草单位:中国特种设备检测研究院、温州南方游乐设备工程有限公司、中山市金马科技娱 乐设备股份有限公司、浙江巨马游艺机有限公司、江苏省特种设备安全监督检验研究院、四川省特种设 备检验研究院、江苏金刚文化科技集团股份有限公司、国汇机械制造泰州有限公司。
本标准主要起草人:梁朝虎、沈功田、赵强、马宁、田博、陈建生、陈朝阳、林泽钊、吕梦南、张新东、 胡兼、黄建文、龚高科、郭俊杰、李璟、黄琪、林强帅、韩孟、高胜杰。
本标准所代替标准的历次版本发布情况为:——GB/T 18164—2000.GB/T 18164—2008。
1范围
本标准规定了观览车类游乐设施的总则,技术要求,检验、检测与试验要求,随机文件、标志、包装、 运输和贮存。
本标准适用于观览车类游乐设施。
2规范性引用文件
下列文件对于本文件的应用是必不可少的。凡是注日期的引用文件,仅注日期的版本适用于本文 件。凡是不注日期的引用文件,其最新版本(包括所有的修改单)适用于本文件。
GB/T 191包装储运图示标志
GB/T 755旋转电机定额和性能
GB/T 1184-1996形状和位置公差未注公差值
GB/T 1804-2000 一般公差未注公差的线性和角度尺寸的公差
GB 8408大型游乐设施安全规范
GB/T 8923(所有部分)涂覆涂料前钢材表面处理 表面清洁度的目视评定
GB/T 9286—1998色漆和清漆漆膜的划格试验
GB/T 13384机电产品包装通用技术条件
GB/T 13912金属覆盖层钢铁制件热浸镀锌层技术要求及试验方法
GB/T 16855.1机械安全 控制系统安全相关部件 第1部分:设计通则
GB/T 20306游乐设施术语
GB/T 20438(所有部分)电气、电子、可编程电子安全相关系统的功能安全
GB/T 28265—2012游乐设施安全防护装置通用技术条件
GB/T 34370(所有部分)游乐设施无损检测
GB/T 34371游乐设施风险评价总则
GB 50057建筑物防雷设计规范
GB 50222—2017建筑内部装修设计防火规范
MH/T 6012—2015 航空障碍灯
3术语和定义
GB/T 20306界定的以及下列术语和定义适用于本文件。
3.1
有主轴摩天轮型 wonder wheel with main axis type
由立柱组成的支承架上装有支承轴,大转盘绕支承轴旋转,大转盘上装有多个轿厢随转盘一起旋转 的观览车类游乐设施。
注:参见附录A图A.1。
3.2
无主轴摩天轮型 wonder wheel without main axis type
封闭导轨固定于垂直面内的建筑结构上,轿厢分布于导轨并可沿导轨运行的观览车类游乐设施。注:参见图A.2。
3.3
摆锤型 pendulum type
由倾斜柱组成的支承架上装有支承轴,摆动吊臂绕支承轴来回摆动或旋转,吊臂下端装有座舱,座 舱绕摆动吊臂旋转,或与吊臂固定的观览车类游乐设施。
注:参见图A.3。
3.4
遨游太空型top spin type
垂直平面内的支承架内侧装有支承轴(半轴或通轴),支承轴上各装有回转臂,回转臂一端与座舱连 接。座舱可随同回转臂正反方向旋转,同时可自由摆动。当回转臂装有摆动关节时,两个臂可不同步转 动,座舱随之上下左右扭动的观览车类游乐设施。
注:参见图A.4。
3.5
时空穿梭型 time and space shuttle type
垂直立柱上端装有支承轴,支承轴上装有回转臂,回转臂一端与座舱连接,回转臂可正反向旋转,座 舱与回转臂固定或可左右摆动的观览车类游乐设施。
注:参见图A.5。
3.6
飞毯型 flying carpet type
座舱与回转臂一端连接,随回转臂绕支承轴作平移运动,可作正反向转动的观览车类游乐设施。注:回转臂一般为双臂或四臂,对应支承立柱为双柱或四柱(参见图A.6)。
3.7
摩天环车型 pendulum loop type
垂直立柱上端装有支承轴,支承轴两端伸出分别装有回转臂,回转臂一端为座舱。座舱沿固定环形 内滑道驱动回转臂旋转,可正反方向旋转。座舱与回转臂固定或可绕其转动的观览车类游乐设施。
注:参见图A.7。
3.8
其他型 other type
设备乘人部分绕水平轴回转或摆动及运动形式类似,但不属于3.1〜3.7定义的观览车类游乐 设施。
3.9
故障-安全 fail-safe
设备出现故障后,其控制系统或机械机构能够维持安全状态或向安全状态转移,以避免出现更大故 障或事故的模式。
3.10
高度 height
设备停止运行时从安装基面至设备本体最高点之间的垂直距离,不含避雷针和装饰物。
3.11
单一失效点 single point of failure
游乐设施上的一个零件、结构连接点或电气元件,其失效将会导致整个设备失效或严重危及乘客
安全。
4 总则
4.1观览车类游乐设施的设计、制造、安装、改造、修理、试验和检验、标志、包装、运输和贮存应满足
GB 8408的有关规定和本标准的相关要求。
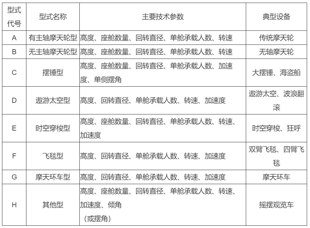
4.2观览车类游乐设施常见型式和主要技术参数宜按表1选取。
表1观览车类常见型式主要技术参数

5技术要求
5.1基本要求
5.1.1观览车类游乐设施的设计文件应至少包括设计说明书、设计计算书、使用维护说明书、风险评价 报告、设计验证大纲及符合国家相关标准的全套设计图纸。
5.1.2观览车类游乐设施设计阶段应按GB/T 34371进行风险评价,需要改造的或整机使用年限到期 后仍继续使用的观览车类游乐设施也应进行风险评价。风险评价应分别从受力结构与受力零部件、电 气控制系统与部件、设备运行环境、设备周围障碍物、人为因素、意外因素、应急救援等方面进行,并对单 一失效点进行辨识。设计阶段应避免不可接受的风险,不应有不可检测或监测的单一失效点。
5.1.3观览车类游乐设施难以检验检测的重要轴(销轴)应按无限寿命设计。
5.2机械及结构
5.2.1柱脚采用法兰连接时,安装接触面的接触斑点百分率应不少于70%且安装接触面边缘最大间隙 不应大于1 mm。
5.2.2 C型观览车各柱脚与基础连接处宜设有抗横向剪力的结构或有相应的措施。
5.2.3观览车类游乐设施结构在计算极限风时,至少取允许使用地50年一遇的风载,风向应考虑垂直 转盘面和平行转盘面的两个方向。对于海边和有台风的地区,宜按照100年一遇风载选取。
5.2.4 A型、B型观览车高度不小于40 m时,整机构件的活载荷计算应根据设计使用环境考虑裹冰载 荷。A型、B型观览车的使用维护说明书中应明确允许的最大风速及地面粗糙度。
5.2.5 A型、B型观览车高度不小于40 m时,应进行安装验算。
5.2.6主体支承轴实际轴心线与其理论轴心线的平行度偏差应不大于两支承中心距离设计值 的1/1 500。
5.2.7 A型观览车采用垂直立柱结构支承时,立柱中心线与水平面的垂直度偏差不大于设计值 的1/1 000。
5.2.8 A型观览车两立柱上转盘支承轴轴承或回转支承中心的距离与其设计值的偏差不大于1/1 000。
5.2.9 A型观览车转盘上驱动环的径向圆跳动和端面圆跳动偏差不大于驱动环直径的1/1 500。
5.2.10 A型观览车采用销齿轮传动时,销齿轮径向圆和端面圆跳动偏差不应大于销柱齿轮节圆直径 的1/2 000,齿轮应安装误差补偿装置。
5.2.11 C型观览车主轴中心线水平度及主轴与摆臂的垂直度不大于1/1 000。
5.2.12 A型观览车转盘轮辐采用部分或全部缆索结构时,缆索应调节适度,不应有弯曲、垂曲等明显 松弛的现象,缆索之间不应相互接触。上半圆位置的缆索在满载和15 m/s的风载下应大于最小设计 拉力。
5.2.13 A型观览车停运时,应设有限制转盘因风载荷而产生转动和横向移动的装置。
5.2.14 A型、B型观览车运行过程中,应无明显打滑(下滑)现象。
5.2.15 A型、B型观览车转盘垂直投影下方宜设置防高空坠物设施或人员隔离设施。
5.2.16观览车类游乐设施各主要受力结构及高空装饰物应连接牢固。
5.2.17观览车类游乐设施各可动部件应运动平稳、灵活,不应有明显的抖动、爬行、卡滞、跳动、异响等 现象。
5.2.18上下乘客时有溜车可能的观览车类游乐设施,应有冗余的制动装置或机械锁定装置,座舱不应 有危及乘客上下的摆动。
5.2.19辅助上下客的同步站台应运行平稳可靠,相对运行速度不大于0.3 m/s。
5.2.20频繁换向的C型、D型、E型、F型观览车回转支承的连接应设置可靠的定位措施。
5.2.21 A型、B型观览车的偏载工况的计算,应考虑最大设计风速为15 m/s且连续满载轿厢数为总轿 厢数的1/4和3/4的正常运行情况以及1/2的非正常运行情况。
5.2.22 A型观览车摩擦轮驱动系统应设驱动轮压紧装置。转盘直径大于40 m的A型观览车宜采用 随动系统压紧装置。其他类型观览车,当采用充气轮胎摩擦轮驱动时,摩擦轮胎对摩擦盘的压力应可调 整,保证驱动、制动有效。
5.2.23 D型观览车左、右回转臂轴线的同轴度及回转法兰安装面与地面的垂直度不大于1/1 000。
5.2.24 E型、G型观览车,由于轴承游隙或回转支承虚位造成的座舱横向游动量应小于摆臂回转半径 的 1/1 000o
5.2.25 D型观览车转臂与座舱连接处设置补偿功能,以保证两臂运行自如。
5.2.26 D型观览车旋转臂与座舱臂连接采用十字节结构时,宜采用整体锻造结构。
5.2.27 C型、D型、E型观览车停止运行或失电时应设有防止座舱空摆次数过多的措施,空摆时间不应 超过5 mino
5.2.28 F型观览车类游乐设施摆臂的上、下轴孔中心线距离尺寸应保持一致,线性尺寸偏差值应不低 于GB/T 1804—2000中规定的m级(中等级),摆臂上、下轴孔中心线平行度、垂直度应不低于 GB/T 1184—1996中10级精度要求。
5.2.29 F型观览车类游乐设施载人平台与摆臂连接轴中心线平行度应不低于GB/T 1184-1996中 10级精度要求,两轴中心线距离尺寸应与对应的立柱主轴中心线距离尺寸一致,线性尺寸偏差值应不 低于GB/T 1804-2000中规定的m级(中等级)。当采用四个连接点时,平台两端的每一对连接轴应 同心。
5.2.30 F型观览车类游乐设施立柱上的支承轴(两轴或四轴)应在同一水平面上,偏差应小于被测值的 1/1 000o支承轴轴心线平行度、垂直度应不低于GB/T 1184—1996中11级精度要求。四轴时,位于 同一轴心线的两个半轴的同轴度应不低于GB/T 1184-1996中10级精度要求。
5.2.31 G型观览车类游乐设施圆环内圆滚道的径向圆跳动偏差不大于内圆直径的5/1 000,滚道表面 平整、没有明显的凹凸缺陷。
5.2.32 G型观览车类游乐设施轿厢的驱动轮与滚道接触良好、压紧力适当、运行平稳,应设有压紧力 自补偿装置。
5.2.33 G型观览车类游乐设施驱动臂支承轴轴心线应与滚道圆平面垂直,驱动臂中心线与回转轴轴 心线垂直度偏差不大于1/1 000o
5.2.34 A型观览车转盘支承轴宜采用整体加工轴,当采用焊接结构时应选用可焊性好的材料,焊后应 进行消除应力处理。
5.2.35 A型、B型观览车轿厢吊挂轴宜设置保险装置。
5.2.36 C型观览车摆臂驱动装置输出轴应进行抗弯、抗扭和疲劳强度校核,校核时冲击系数不小于 1.5。
5.2.37观览车类游乐设施的重要轴(销轴)和重要焊缝应进行无损检测,无损检测方法和要求按 GB/T 34370执行。常见的重要轴(销轴)和重要焊缝示例参见附录B。
5.2.38 A型、B型观览车轿厢应设防积水措施,轿厢内的底板与支承结构之间的排水口应方便检查和 维修。
5.3乘载系统
5.3.1按照GB 8408加速度分区要求,加速度在区域4和区域5的观览车类游乐设施,应设置两套独 立的乘客束缚装置或一套失效安全的束缚装置,安全压杠应设至少两套锁紧装置,锁紧装置应便于 检查。
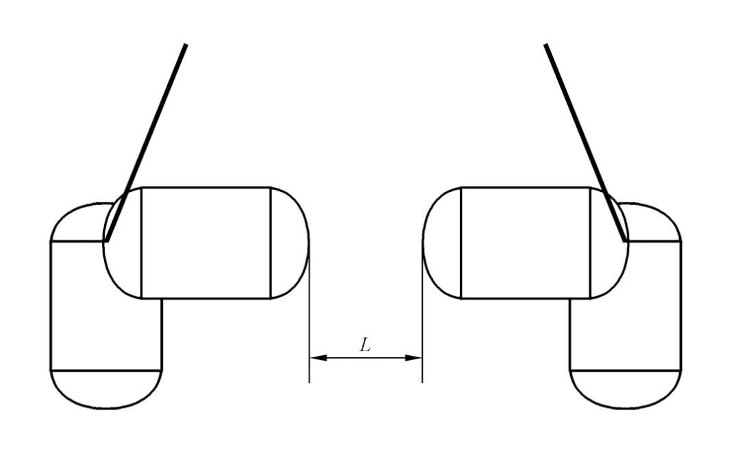
5.3.2按照GB 8408加速度分区要求,加速度在区域4和区域5的观览车类游乐设施,乘客座椅面两 边和前部应设有效拦挡结构,压杠锁紧后,座椅面前部拦挡结构与压杠前端之间的最小距离L不大于 70 mm,如图1所示。

图1座椅面前部拦挡结构与压杠前端之间的最小距离L
5.3.3 A型、B型观览车轿厢门及其固定和锁紧装置的结构应能够抵抗乘客沿着轿厢门开启方向的推 力,其推力应按作用点位于轿厢门锁紧位置且不小于1 kN计算。
5.3.4 A型、B型观览车在运行过程中,轿厢门锁不能从内部打开。
5.3.5 A型、B型观览车当轿厢为外开门时,轿厢与支承结构间的最小距离L,应保证轿厢开门最大宽 度时,门与支承结构间不相互干涉(参见附录C图C.3)。
5.3.6 A型、B型观览车轿厢在转盘上的分布间隔合理,当相邻轿厢外廓按照理论最大回转半径旋转 时,其间距L(参见图C.4)应能保证两轿厢不相互干涉。
5.3.7 A型、B型观览车轿厢窗户能打开时应加拦挡物,拦挡物间隙设置应防止乘客头部和身体伸出。非封闭式轿厢,应设防止乘客在运行中与周围障碍物相干涉的安全装置或留出不小于500 mm的安全距离。
5.3.8 A型、B型观览车应在轿厢显著位置设安全警示标识,明确额定乘客数量和乘坐时应注意的 事项。
5.3.9 A型、B型观览车非封闭轿厢地板与拦挡物的高度不小于1 200 mm。轿厢进出口不应高出踏台 300 mm。
5.3.10 A型、B型观览车运行高度不小于40 m时,轿厢应设有轿厢与地面联络的系统,封闭式轿厢宜 设空调装置,并应设有通气孔。
5.3.11 A型、B型观览车吊挂式轿厢内的底板与水平面之间夹角不大于15°。A型、B型观览车吊挂式 轿厢应设减小轿厢摆动频率和摆动角度的阻尼装置。采用伺服装置维持内部底板水平的轿厢,当伺服 装置故障时,应有自动脱离装置。
5.3.12 A型、B型观览车环抱式轿厢内的底板与水平面之间夹角不大于2.5°,保持轿厢内的底板水平 状态的机构应可靠。采用伺服装置维持内部底板水平的轿厢,当伺服装置故障时,应有自动脱离装置。
5.3.13 A型、B型观览车轿厢悬挂轴轴承应保持润滑良好、转动灵活。
5.3.14 A型、B型观览车轿厢支承结构及其连接螺栓和焊缝应方便检查和维修。
5.3.15 A型、B型观览车的门窗玻璃应具有足够的强度。
5.3.16 A型、B型座舱门自动关闭时应有防夹伤装置,夹持力不大于150 N,防夹伤装置应工作正常。
5.3.17 A型、B型观览车轿厢设有电气装置时,其轿厢及其装饰材料的燃烧性能等级宜不低于 GB 50222-2017中*级A**,并设置灭火装置。灭火装置要固定可靠、取用方便,并有明显的使用标识。如使用灭火器时,灭火器应在有效期内。设有电气装置时,轿厢内电缆应采用阻燃电缆。
5.4电气控制系统
5.4.1安全相关电气控制系统应符合故障-安全原则,设计时应至少考虑出现信号采集、控制线路断线、 供电线路断线、短路、接地等故障时导向安全。
5.4.2观览车类游乐设施采用多台电机同时驱动时,各电机应载荷均衡、工作平稳。
5.4.3控制系统安全部件的选用宜符合GB/T 16855.1的规定;控制系统电气电子可编程器件中的硬 件和软件的选用宜符合GB/T 20438的规定。
5.4.4当观览车使用地点的海拔高度超过1 000 m时,应按GB/T 755的规定对电动机容量进行校核, 超过2 000 m时,应对电器件进行校核。
5.4.5根据结构和功能要求,集电器可采用轴向或端面滑环的结构型式。滑环应选用导电性能良好的 材料。
5.4.6集电器电刷和滑环应接触良好,每个滑环上应设置不少于两个电刷接入点,并满足电流容量 要求。
5.4.7室外外露的集电器应采取防水措施或具有防水功能,满足外露情况下的使用要求。
5.4.8观览车类游乐设施的控制及通信采用无线传输系统时,应采取措施抑制电磁干扰的产生和提高 设备抗电磁干扰度。
5.4.9有超速可能的观览车类游乐设施应设置防超速装置,防超速装置应安全可靠。
5.4.10观览车类游乐设施应设有正、反向运转或摆动的控制,采用自动控制或手动控制时,应使每个 运动能单独控制。
5.4.11安全防护装置选用的传感器防护应符合GB/T 28265-2012中4.4.5的要求。
5.4.12观览车类游乐设施高度大于45 m时,应设置航空障碍警示灯,警示灯应符合MH/T 6012— 2015的要求。
5.4.13采用升降站台或移动平台的观览车类游乐设施,设备运行时应有可靠的防止站台误动作的措 施,并采用联锁控制。
5.4.14按照GB 8408的要求,加速度在区域4和区域5的观览车类游乐设施,应设有安全压杠闭合并 锁紧后才能启动的联锁控制功能。安全压杠闭合最大锁紧位置应能有效锁紧乘客须知中允许乘坐的最 大乘客。
5.4.15高度大于15 m的室外观览车类游乐设施应设防雷装置,采用接闪杆的应在杆塔处设置引下线;采用等电位接地的,当法兰盘过渡电阻大于0.03 Q时,应在法兰盘设置跨接线,并应采取防闪电电 涌侵入的措施。高度超过60 m的,还应增加防侧向雷击的防雷装置。防雷装置应符合GB 50057的规 定,并经过相关部门验收合格。
5.4.16观览车类游乐设施应设有视频监控系统,保证设备运行时整机运行情况处于随时监控状态,监 控显示画面应清晰无干扰。
5.4.17观览车类游乐设施的控制及通信采用有线传输系统时,应使用带屏蔽层的通信线。
5.4.18上下客站台地面以及吊厢地板应设有防滑措施。A型、B型观览车应具有防止偏载失速的功能。
5.4.19 C型观览车应设置两套独立的极限位置检测装置,极限位置检测装置应灵敏可靠,正常运转时 处于冗余状态。
5.4.20 A型、B型观览车类游乐设施的装饰照明等附属设施的电气控制系统应独立于观览车类游乐设 施的电气控制系统。
5.4.21 A型、B型观览车轿厢采用自动推拉门时,应设置锁紧信号反馈系统。当设备故障失电或断电 时,工作人员可从外部打开轿厢门。
5.4.22 A型、B型观览车驱动系统采用常开式制动装置时,其制动装置应配备不小于运转两圈容量的 在线式UPS或备用电源。
5.4.23 A型、B型观览车每轿厢乘员不少于20人时,宜设置烟雾报警器。
5.5应急救援
5.5.1设备发生故障、断电或其他可预见的意外情况时,应有必要的应急救援装备和乘客疏导措施,避 免长时间高空滞留,保证乘客的安全。
5.5.2应急救援备用电源、应急发电机应随时保持在可用状态,宜设置为充电状态与开机联锁,应急发 电机油量应充足。
5.5.3对于一端有配重的观览车类游乐设施,当动力电源失去或制动后,座舱应能靠自重回到下客位 置,并有可靠的操作措施避免卡在死点位置。对于两端都安装座舱的型式,应配置备用电源及手动救援 措施,确保乘客的安全疏散。
5.5.4 A型、B型观览车高度大于120 m或单个轿厢载客超过20人时,宜设置一套独立运行的救援 设备。
5.5.5 A型、B型观览车设备应与当地消防部门建立联动机制,在极端情况下联合救援,一年至少演练 -次。
5.5.6 A型、B型观览车高度不小于40 m时,应有一套备用电气控制系统,并与主电气控制系统有效 隔离。
5.6表面防护
5.6.1游乐设施金属结构应采取适当的表面防护措施,如涂防锈漆、热(浸)镀锌等,或采用不锈钢材料。
5.6.2采用涂防锈漆进行金属结构表面防护,涂装前应进行除锈处理,达到GB/T 8923中的Sa2级;主 要受力构件之外的构件应达到Sa2或St2级(手工除锈)。漆面应均匀、细致、光亮、完整和色泽一致,不 应有粗糙不平、漏漆、错漆、皱纹、针孔及严重流挂等缺陷。推荐漆膜总厚度不小于80 Mmo漆膜附着力应符合GB/T 9286中规定的一级质量要求。
5.6.3采用热(浸)镀锌进行金属结构表面防护的,热(浸)镀锌层应符合GB/T 13912的规定。
5.7 整机
5.7.1游乐设施整机应外观状态良好,无破损。
5.7.2主要技术参数中的高度、回转直径、座舱数量、单舱承载人等静态参数应符合设计要求;在使用 允许的空载、满载、偏载等正常工况下对转速、单侧摆角、运动幅度、速度等动态参数与设计计算值的允许偏差在一10%〜5%;
5.7.3设计加速度分区在区域3、区域4、区域5的设备应进行加速度测试,测试值不大于设计值(含冲 击系数)的5%。
5.7.4新设计的首台产品的重要受力结构应进行应力测试。新安装的C型、D型、E型、F型、G型观览车的主要旋转臂应进行应力测试。应力测试结果应满足设计要求。
5.7.5整机运行试验应包含空载、偏载和满载试验。运行试验时不应有异常的振动、冲击、发热、声响 及卡滞现象。运行试验后,机械及结构零部件不应有异常磨损、变形、脱落、永久变形及损坏等现象,电气零部件不应有脱落、损坏、异常发热现象。基础不应有不均匀沉陷和开裂。
6检验、检测与试验要求
6.1基本要求
6.1.1制造、安装单位应依据相关标准、设计文件、制造工艺和设备特点制定具体的检验方案,方案应 包括机械及结构、乘载系统、电气控制系统、应急救援系统、整机等方面的检验、检测与试验。
6.1.2每台产品安装调试完毕后应按制定的检验方案全部检验项目合格方可交付使用。
6.1.3 试验时风速应不大于8 m/s。
6.1.4特殊要求除外,环境温度应为一5 °C〜35 °C,环境相对湿度宜不大于85%。
6.1.5试验载荷与其额定值的误差应不超过±5%。
6.1.6试验前应检查游乐设施机械及结构、乘载系统、电气控制系统、应急救援系统和附属装置中的零 部件、元器件及其连接的完整性,与设计的一致性。
6.1.7试验后对于有问题或疑问的部件应进行检查,对发现的问题及时判明原因并采取措施,做好详 细记录。
6.1.8各项检验结束后,应编写检验报告,检验报告至少应包含以下内容:
a)检验时间、地点;
b)设备名称、编号、主要技术参数;
c)检验依据;
d)检验项目的名称、要求、方法、结果、检验人员签字;
e)检验结论;
f)检验报告的编制、审核、审批人员签字。
6.1.9制造单位应保存产品检验报告和有关记录、图样、质量证明文件及技术文件。
6.2机械及结构
6.2.1试验前后应进行机械结构的检验,内容至少包含基础、钢结构、机械传动零部件、重要焊缝、重要 轴(销轴)、重要螺栓连接等。
6.2.2观览车类游乐设施在设计允许的最大满载和偏载状态下,以最大额定速度运行,每种工况下试 验不少于5次,机械结构、传动机构应无明显的晃动、打滑、失速和声响、永久变形等现象。
6.2.3减速制动装置试验,分别在设计允许的空载、偏载、满载工况及可预见的故障工况下,每种工况 下试验不少于3次,减速制动过程应平稳,减速制动装置有效,制动时间满足使用要求。
6.2.4冗余的制动装置或机械锁定装置试验,模拟设计允许的偏载工况下上、下客,在允许最大满载和 偏载工况运行,试验制动装置、冗余制动装置或机械锁定装置各3次,制动装置或机械锁定装置应有效。
6.2.5形状位置误差检测,用仪器测量所要求的垂直度、平行度、水平度、同轴度、端面跳动、径向跳动, 不同方位测量不少于3处,其最大值不超过设计允许值。整机安装完毕后无法测量的,应查阅安装时的 测量记录或报告。
6.2.6防止座舱空摆措施试验,对C型、D型、E型观览车模拟突然停止运行或失电状况,至少抽取3个 座舱,观察座舱明显的空摆时间。
6.2.7柱脚法兰接触面用塞尺测量其间隙,在不同位置测量不少于3次,取最大间隙。
6.2.8在设计允许的空载、偏载、满载和额定速度工况下,D型遨游太空类设备上、下客过程中,座舱要 保持水平,并需设置制动装置,以防座舱在上、下客过程中倾覆或旋转。每种工况试验3次。
6.2.9 C型观览车主轴中心线水平度及主轴与摆臂的垂直度测量,用水平仪、经纬仪在不同位置测量 不少于3次,取最大值。
6.2.10 D遨游太空类左、右立柱回转法兰安装面应保证同轴度、垂直度用测量同轴度、垂直度的仪器 测量,在不同方位测量不少于3处,取最大值。
6.2.11 G型观览车驱动轮自补偿压紧装置试验,运行设备,驱动轮应能始终压紧滚道,运行平稳。
6.2.12 E型、G型观览车座舱横向游动量试验,在设备静止状态下,对座舱施加横向作用力,测量座舱 横向游动量。
6.3乘载系统
6.3.1试验前后应进行乘载系统的检验,内容至少包含座椅钢结构连接、安全压杠及其锁紧装置、安全 带及其固定连接等的检查。
6.3.2安全压杠锁紧装置试验,设有两套安全压杠锁紧装置的,在设计允许的载荷下试验,每套锁紧装 置应能独立起作用。对每套锁紧装置试验不少于3次。
6.3.3安全压杠锁紧装置试验,安全压杠闭合锁紧时,在乘客扶手位置施加500 N的力,力的方向应垂 直于压杠回转力臂连线,压杠及其锁紧装置应有效,且不应有明显变形或损伤。每种类型安全压杠试验 不少于3个。
6.3.4运行安全包络范围试验,对非封闭座舱,在静态情况下测量安全距离或验证隔离措施是否有效, 试验不少于3次。若无法在静态时完全确认安全距离,则采用模拟包络范围的框架进行运行试验。
6.3.5 A型、B型观览车类游乐设施轿厢门锁紧装置试验,使用拉力计对吊厢门开启方向施加1 kN的 力,模拟开启,至少测量3次,吊厢门锁紧装置应有效。
6.3.6 A型、B型观览车类游乐设施轿厢摆角试验,模拟启动、制动、轿厢偏载工况下,测量轿厢最大摆 角,至少测量3个,每个至少测量3次,取最大值为轿厢最大摆角。悬挂式轿厢最大摆角以不大于±15° 为合格,环抱式轿厢最大摆角以不大于2.5°为合格。
6.3.7 A型、B型观览车环抱式轿厢自动脱离装置试验,模拟每个轿厢伺服装置故障,自动脱离装置应 有效动作,轿厢地板与水平面的夹角以不大于2.5°为合格。
6.3.8 A型、B型观览车类游乐设施轿厢的门窗玻璃试验,以至少70 kg的沙袋或水人从轿厢内最大空 间高度自由落下3次,玻璃不应破碎(参见图C.1和图C.2)。
6.3.9 C型、D型、E型、F型游乐设施座椅前部中间的凸起拦挡结构与压杠前端距离的测量,中间拦挡 上端在垂直中心线方向与压肩式压杠下沿之间距离不大于30 mm。对每套座椅测量不少于3次,取最 大值。
6.4电气控制系统
6.4.1试验前后应进行电气控制系统的检验,内容至少包含各种电气控制元件、线路及其连接,安全连 锁功能等。
6.4.2在允许的正常工况进行试验,电气和控制系统应满足设备运行且不应危及人员安全。
6.4.3联锁或误启动试验,模拟设备前序动作未准备就绪,后续动作不应启动。试验安全压杠闭合、锁 紧、自动门开闭、活动平台移动等,每项试验不少于3次。
6.4.4防止超速试验,设备在运行条件下,达到最大运转速度后,测量运行速度不应超过设计值。试验 次数不少于3次。
6.4.5限位装置试验,模拟达到极限位置,限位装置和极限位置的检测和控制装置应有效。试验次数 不少于3次。
6.4.6绝缘电阻测试,测量设备带电回路和地之间、电动机的相间、变压器初次级绕组之间的电阻,每 个测试点电阻应符合要求。每个测试点连续测量3次,取最小值为测量值。
6.4.7接地电阻测试,测量正常情况下不带电的金属外壳与地之间的电阻,每个测试点电阻应符合要 求。每个测试点连续测量3次,取最大值为测量值。
6.4.8断电模拟试验在设计允许的运行工况下,模拟突然断电或设备可能发生的故障,操作人员和相 关工作人员能够借助应急救援装备,采取安全有效的疏导措施,及时将乘客疏导至安全区域。
6.4.9备用电源试验在设计允许的运行工况下,切换至备用电源供电,备用电源容量应满足随时顺利 疏散乘客的要求。
6.4.10升降站台或移动平台连锁功能试验,采用升降站台或移动平台的观览车类游乐设施,模拟升降 站台或移动装置误动作,试验联锁控制功能是否有效。试验不少于3次。
6.4.11安全压杠闭合和锁紧与设备启动的联锁控制功能试验,模拟安全压杠闭合和锁紧,试验其联锁 控制功能是否有效。对每套安全压杠试验不少于3次。
6.4.12轿厢门开关试验,A型、B型观览车轿厢采用自动推拉门时,模拟开关门,锁紧信号反馈应符合 设计。模拟故障失电或断电,轿厢门应能从外部打开。每个轿厢试验至少1次。
6.5应急救援
6.5.1应急救援的检验应至少包含预案中各种可预见工况下的救援装置、救援措施的有效性和时 效性。
6.5.2模拟设备断电或其他可预见的意外情况,采用规定的应急救援装备和乘客疏导措施,在使用允 许的满载、偏载工况下,能有效疏导乘客至安全区域,每种情况模拟一次,每次疏导时间不超过1 h。
6.5.3正常供电系统失效,采用备用电源开展救援的设备,设备可按设定的功能工作或实施救援。
6.6表面防护
6.6.1漆膜总厚度的检测,使用漆膜厚度仪在主要受力构件每10 !!?(不足10 m2的按10 m2计)作为 一处,每处测3〜5点,每处所测各点厚度的平均值不低于总厚度的90%,也不高于总厚度的120%,测 得的最小值不低于总厚度70%。
6.6.2漆膜附着力的检测,按GB/T 9286中规定的方法,在主要受力构件上分别取6处。其评定等级 不低于1级。
6.6.3金属结构热(浸)镀锌层检测,检查热(浸)镀锌层的外观,应符合GB/T 13912的规定,在主要受 力构件上分别取6处,热(浸)镀锌层厚度应符合设计。
6.7 整机
6.7.1宏观目视检测应包括所有机械及结构、乘载系统、电气控制系统、应急救援系统、涂装等内容。所有部件应外观状态良好,无破损和毁坏;电气接线良好,无松动。
6.7.2对转速、单侧摆角、运动幅度、速度等动态参数进行测试,每种工况不少于3次后取平均值,该参 数的测试值为各种工况下平均值的最大者。
6.7.3设计允许最大速度下,在允许的空载、偏载和满载工况下对重要受力结构的高应力或应力集中 部位进行应力测试。测试时对每个测点在同种工况下重复测试不少于3次,取最大值作为测试值。在自重作用下产生的应力,应由制造单位提供其计算值或由实测得到。各测点应力值应为载荷作用下的 测试值与自重作用下的计算应力值之和。
6.7.4运行试验前、试验后对游乐设施整机进行目视检测。
6.7.5空载试验应按照实际工况连续运行1 h。
6.7.6满载试验应按照实际工况的额定载荷加载,按实际工况连续试验每天不小于8 h,连续无故障累 计运行试验不小于80 h。
6.7.7座舱或轿厢偏载试验应按照实际工况的1/2倍额定载荷加载,载荷应集中在座舱或轿厢一边, 对A、B型观览车偏载试验还应按连续轿厢数为总轿厢数的1/4和3/4额定载荷进行加载。偏载试验应连续试验1 h。
7随机文件、标志、包装、运输和贮存
7.1随机文件、标志
7.1.1产品交付前至少应包括下列随机文件,且宜放置于控制柜包装箱或主机包装箱内:
a)产品合格证明书;
b)产品使用维护说明书和维修用图纸;
c)备件及易损件清单;
d)主要外购件的合格证和说明书;
e)专用工具、仪器清单(如有时);
f)移动式观览车类游乐设施应附有拆装说明书。
7.1.2观览车类游乐设施应在显著位置处设置产品铭牌,产品铭牌内容至少包括制造单位名称、制造 地址、制造许可证号、设备型号、产品编号、制造日期、主要技术参数。
7.2包装、运输和贮存
7.2.1观览车类游乐设施的产品及其零部件的包装应符合GB/T 191及GB/T 13384的有关规定。
7.2.2在解体运输中,解体的零部件连接处宜有清晰的对应性永久标记和编号;导线接头宜进行编号。
7.2.3外露加工面应有防锈处理。
7.2.4大型零部件和包装箱的质量、重心、吊挂点宜有标志,并标明件号。
7.2.5产品及其零部件贮存时,应注意防潮、防锈、防尘和防止变形。
附录A
(资料性附录)
观览车类游乐设施常见类型示意图
观览车类游乐设施常见类型示意图见图A.1~图A.7。

图A.1 有主轴摩天轮型(A型)

图A.2 无主轴摩天轮型(B型)

图A.3 摆锤型(C型)

图A.4 遨游太空型(D型)

图A.5 时空穿梭型(E型)

图A.6 飞毯型(F型)

图A.7 摩天环车型(G型)
附录B
(资料性附录)
常见重要轴(销轴)、重要焊缝示例
常见重要轴(销轴)、重要焊缝示例见表B.1。

表B. 1
附录C
(资料性附录)轿厢最大空间高度示意图
轿厢最大空间高度示意图见图C.l〜图C.4。

图C.1 轿厢最大空间高度示意图

图C.2 回转式轿厢放大示意图

图C.3 开门最大高度时需留有的距离L示意图

图C.4 轿箱翻转时需留有的距离L示意图
04
游乐设施状态监测与故障诊断
第4部分:振动监测方法
GB/T36668((游乐设施状态监测与故障诊断》分为以下6个部分:
——第1部分:总则;
——第2部分:声发射监测方法;
——第3部分:红外热成像监测方法;
——第4部分:振动监测方法;
——第5部分:应力检测监测方法;
——第6部分:运行参数监测方法。
本部分为GB/T36668的第4部分。
本部分按照GB/T1.1-2009给出的规则起草。
请注意本文件的某些内容可能涉及专利。本文件的发布机构不承担识别这些专利的责任。
本部分由全国索道与游乐设施标准化技术委员会(SAC/TC250)提出并归口。
本部分起草单位:郑州大学、中国特种设备检测研究院、河南省特种设备安全检测研究院、华强方特文化科技集团股份有限公司。
本部分主要起草人:董辛旻、沈功田、郝旺身、刘辉、王国防、李娟娟、胡斌、刘然、陈宏、张君娇、陈磊、王晓亮。
1范围
GB/T36668的本部分规定了应用振动监测技术对游乐设施转动部件进行运行状态监测与诊断的方法及结果评价与分级。
本部分适用于新制造和在用游乐设施转动部件的状态监测与故障诊断。
2规范性引用文件
下列文件对于本文件的应用是必不可少的。凡是注日期的引用文件,仅注日期的版本适用于本文件。凡是不注日期的引用文件,其最新版本(包括所有的修改单)适用于本文件。
GB/T2298 机械振动、冲击与状态监测词汇
GB/T13824 旋转与往复式机器的机械振动对振动烈度测量仪的要求GB/T14412 机械振动与冲击加速度计的机械安装
GB/T20737无损检测通用术语和定义
GB/T20921机器状态监测与诊断词汇
GB/T23718.2机器状态监测与诊断人员培训与认证的要求第2部分:振动状态监测与诊断
GB/T34370(所有部分)游乐设施无损检测
GB/T36668.1游乐设施状态监测与故障诊断第1部分:总则
3术语和定义
GB/T2298.GB/T20737.GB/T20921.GB/T36668.1界定的以及下列术语和定义适用于本文件。
3.1
振动监测vibrationmonitoring
对游乐设施转动部件运行状态的振动数据和信息进行监测和采集。
3.2
振动烈度vibrationseverity
振动强烈程度。
注:国际标准化组织推荐振动烈度用机械设备上指定点处的振动速度的均方根值表示。
4方法概述
4.1基本原理
游乐设施的转动部件在无故障正常运转时,其振动烈度一般较低。当出现机械结构损伤或磨损、裂纹、安装不当等情况时,其振动烈度一般会增大,并且设备的不同状况(状态级别)的振动烈度范围是不同的。通过监测振动烈度的变化,对游乐设施的转动部件进行状态评级。
4.2用振动进行设备状态监测
振动监测应选择合适的参数分析振动系统获取的数据。其评价结果不仅依赖于所测振动参数的绝对值,而且还依赖于在特定的运行状态下振动参数的变化趋势。应注意振动特性将会因设备、运行状态和设备负荷的不同而变化。
4.3振动监测的优点和局限性
振动监测的优点包括:
a)非介入式的;
b)由于灵敏度较高,可以提前发现故障信息;
c)能实时监测物体运行状态;
d)振动测量的频率范围较宽,能同时作静态和动态测量,适用性强。
振动监测的局限性包括:
a)易受高的运行背景噪声的影响;
b)不能将监测到的振动缺陷特征与准确的故障机理相联系。
5安全要求
本章并未列出实施时所有的安全要求,使用本部分的用户应在实施前建立安全准则。
实施过程中的安全要求至少如下:
a)监测人员应遵守游乐设施现场运行的安全要求,根据监测地点的要求穿戴防护工作服和佩戴有关防护设备;
b)应注意被监测设备外露的旋转部件(如齿轮、轴等),以免衣袖、裤腿、电缆等被绞入;
c)应注意被监测设备的温度状态,以免烫伤;
d)监测时,应注意游乐设施启动及运转时轿厢的移动,防止人员碰撞及连接电缆的阻碍;
e)在高空进行操作时,应考虑人员、监测设备器材坠落等因素,并采取必要的保护措施。
6人员要求
采用本部分进行监测的人员应按GB/T23718.2的要求或有关主管部门的规定取得相应人员资格鉴定机构颁发或认可的等级资格证书,方可从事相应资格等级规定的监测工作。
7监测仪器的要求、维护和校准
7.1要求
监测仪器应包括传感器、主机(含釆集、存储、显示等)等单元。监测仪器的性能应符合GB/T13824和附录A的要求。
7.2维护和校准
监测仪器使用单位应制定校准作业指导书,对设备进行周期性维护、检查和校准,以保证仪器功能,校准结果应有相应记录和报告。
8监测工艺规程
8.1通用监测工艺规程
从事振动监测的单位应按本部分的要求制定通用振动监测工艺规程,其内容应至少包括如下要素:
a)适用范围;
b)引用标准、法规;
c)实施人员资格;
d)监测仪器设备:传感器、信号线、仪器主机、监测数据采集和分析软件等;
e)被监测设备与部件的信息:名称、类型、编号、结构形式、尺寸、安装地点、设计与运行参数;
f)传感器安装位置及传感器安装方式;
g)运行工况和监测时机;
h)监测过程和数据分析解释;
i)监测结果的评价;
j)监测记录、报告和资料存档;
k)编制、审核和批准人员;
l)编制日期。
8.2监测作业指导书或工艺卡
对于每个被监测部件或每套被监测设备,应按照8.1的要求制定振动监测作业指导书或工艺卡。
9监测方法
9.1监测前的准备
9.1.1资料审查
资料审查应包括下列内容:
a)被监测件制造文件资料:产品合格证、质量证明文件、竣工图等,充分了解被监测设备的结构、运动和工作模式等;
b)被监测件运行记录资料:日常维护保养记录、开停车情况、运行参数、载荷变化情况以及运行中出现的异常情况等;
c)检验资料:历次检验与监测报告、失效故障的历史、以往的振动数据;
d)其他资料:修理和改造的文件资料等。
9.1.2现场勘查
应找出所有可能出现的噪声源,如电磁干扰、空气噪声、运行背景噪声和机械背景噪声等,并设法尽可能排除这些噪声源。
9.1.3实施条件确定
9.1.3.1人员联系方式的确定
根据现场情况确定实施条件,建立振动监测人员和设备运行控制人员的联络方式。
9.1.3.2确定游乐设施运行程序
根据设备的类型和实际运转工况确定设备的运行程序。
9.1.4监测作业指导书或工艺卡的编制
对于每个监测部件或每套被监测设备,应根据使用的仪器和现场实际情况,按照通用监测工艺规程编制振动监测作业指导书或工艺卡,确定振动传感器安装的部位和表面条件,同时对被监测设备进行测绘,对监测部位进行编号,画出被监测设备结构示意图。在不影响监测的情况下,传感器应安装在尽可能靠近转动部件的部位。
9.2传感器的安装
传感器的安装应满足如下要求:
a)按照示意图确定的传感器安装部位安装传感器;
b)对传感器的安装部位进行表面处理,使其表面平整并无油污;
c)将传感器固定(胶粘、强磁吸附或螺纹连接等方式)在确定的安装部位,使传感器与安装部位接触面具有良好的接触刚度;
d)安装方法按照GB/T14412的相关规定。
9.3监测仪器的启动与设置
将已安装的传感器连接到系统主机采集通道接口,并开机启动,设置初步工作参数。
9.4监测实施
9.4.1被监测设备的加载
被监测设备的负荷条件及运行时间阶段和持续时间长度应满足以下要求:
a)在额定载荷条件下,被监测设备按其运行方式正常运转,运行时间应保证获取足够的监测归宀Lr~r
数据;
b)应分别采集设备启动、运行、停机等3个阶段的数据。每阶段应连续采集至少10个运转周期。
9.4.2监测环境
监测应在尽量接近设备实际的工作环境条件下进行。
9.4.3釆集参数设置
采集参数设置的准则至少包括以下内容:
a)采样频率的设置应至少为最高分析频率的2倍;
b)采样长度的设置应使频谱分辨率不小于1Hz;
c)采样组数应不小于10组。
9.4.4数据保存与过程观察
在设备运行中采集振动信息时,振动数据保存与过程观察应注意下列因素的影响:
a)采集数据保存时应至少保存各通道的波形信号;
b)监测过程观察时,应观察振动烈度随时间的变化趋势。
9.4.5监测数据分析
监测数据进行分析时,应包括以下内容:
a)画出设备振动的有效值和烈度的趋势,分析设备的状态变化情况;
b)利用FFT、功率谱等方法分析设备的振动特征,对照相关资料中故障特征确定故障类型。
9.5监测记录
监测记录的主要内容至少包括第13章列出的内容,监测记录和数据应在设备全生命周期内予以保存。
10监测结果评价与分级
10.1结果分级
设备分类按照附录B的表B.1进行,监测的设备状态的结果分级按照表B.2进行。
10.2结果验证
监测结果评价等级为I级的,不需要进行验证。若连续几次监测结果均为I级,可适当延长监测周期。
监测结果评价等级为II级的,不需要进行验证,可根据被检部件的使用情况缩短监测周期。
监测结果评价等级为m级的,应大幅缩短监测周期并根据实际情况确定是否需要验证。
监测结果评价等级为w级的,应立即停止设备的运行,拆卸转动部件,采用其他检测方法进行验证。
监测结果评价的验证应按GB/T34370所规定的检测方法进行表面和(或)内部缺陷检测。
11故障诊断
11.1测量间隔
应根据设备的新旧程度、运行状况和上一次监测结果确定下一次监测时间间隔,首次监测后一般不超过12个月应再次监测。测量间隔的调整用于掌握故障发生征兆以及预期故障的劣化速度和行为,目的在于准确预报故障。
11.2振动信号判读
数据分析的主要目的是将振动测量结果和运行状态联系起来,以帮助识别设备的状态。
由振动评价设备运行状态所采用的准则至少包括:
a)振动信号强度随时间的延续持续增大;
b)表现出异常状态的频谱特征。
11.3故障诊断程序
典型的故障诊断可遵循如下步骤:
a)分析振动有效值和烈度的趋势与频谱特征,结合转动部件的运转参数,诊断故障发生部位;
b)分析振动频谱特征,结合转动部件的运转参数,诊断故障类型;
c)发布报告。
12维修策略
维修策略应依据验证后的振动评估结果进行设置。
转动部件的维修应考虑拆卸和不拆卸两种情况。对于不易拆卸的大型转动部件,应提高一个维修等级;对于可拆卸转动部件,按照GB/T36668.1执行等级划分。
13记录和报告
13.1记录
应按监测工艺规程的要求记录监测数据或信息,至少应包括13.2中所列的内容,并按相关法规、标准和(或)合同要求保存所有记录。
13.2报告
振动监测报告至少应包括以下内容:
a)被监测设备使用单位名称、地址及联系方式;
b)被监测设备名称、类型、安装地点、日期;
c)被监测转动部件的类型、型号、转速;
d)监测周期和缺陷情况;
e)执行标准和(或)参考标准编号;
f)监测方式、仪器型号、传感器型号及固定方式;
g)传感器安装位置示意图;
h)监测软件名及数据文件名;
i)典型振动信号的波形图、频谱图;
j)监测结果分析、等级划分;
k)故障诊断结论;
l)监测人员、报告编写人和审核人签字及资格证书编号;
m)监测和出具报告的日期。
附录A
(规范性附录)
振动监测仪器(系统)性能要求
A.1传感器
传感器的响应频率推荐在10Hz〜3000Hz范围内,其灵敏度不小于60dB,传感器在响应频率和工作温度范围内灵敏度变化应不大于3dB。
A.2信号电缆
传感器到系统主机之间的信号电缆应能屏蔽电磁噪声干扰。信号电缆衰减损失应小于1dB/30m。信号电缆长度不宜超过5m。
A.3系统主机
A.3.1振动系统主机应有至少4个通道。
A.3.2各个通道的独立采样频率应不低于传感器响应频率中心点频率的10倍。
A.3.3门槛精度应控制在±1dB的范围内。
A.3.4振动信号计数测量值的精度应在±5%范围内。
A.3.5各通道可同步采集。
A.3.6峰值幅度测量值的精度应在±2dB范围内,同时满足信号不失真的动态范围不低于65dB。
A.3.7振动分析软件至少应具有振动有效值和烈度趋势曲线、幅值谱、功率谱等分析功能。
附录B
(规范性附录)
被监测设备状态评价等级
B.1游乐设施分类的规定
游乐设施分类按表B.1的规定。
表B.1游乐设施分类表

B.2评价等级

B.3设备状态评价等级
游乐设施振动分级按表B.2的规定。
表B.2游乐设施状态评价等级表

05
游乐设施状态监测与故障诊断
第5部分:应力检测/监测方法
GB/T36668((游乐设施状态监测与故障诊断》分为以下6个部分:
——第1部分:总则;
——第2部分:声发射监测方法;
——第3部分:红外热成像监测方法;
——第4部分:振动状态监测方法;
——第5部分:应力检测/监测方法;
——第6部分:运行状态监测方法。
本部分为GB/T36668的第5部分。
本部分按照GB/T1.1—2009给出的规则起草。
请注意本文件的某些内容可能涉及专利。本文件的发布机构不承担识别这些专利的责任。
本部分由全国索道与游乐设施标准化技术委员会(SAC/TC250)提出并归口。
本部分起草单位:中国特种设备检测研究院、河北大学、济南大学、武汉理工大学。
本部分主要起草人:丁克勤、沈功田、陈光、尹欣然、宋伟科、刘关四、刘然、方立德、曹树坤、赵章焰、周伟、张洋。
1范围
GB/T36668的本部分规定了使用电阻应变片对游乐设施关键结构部件进行应力检测的方法和使用光纤光栅传感器对游乐设施大型框架结构或支承件进行应力状态监测、疲劳损伤诊断的方法。
本部分适用于新制造和在用游乐设施的关键结构部件应力检测、游乐设施大型框架结构或支承件的应力状态监测及疲劳损伤诊断。
2规范性引用文件
下列文件对于本文件的应用是必不可少的。凡是注日期的引用文件,仅注日期的版本适用于本文件。凡是不注日期的引用文件,其最新版本(包括所有的修改单)适用于本文件。
GB8408大型游乐设施安全规范
GB/T13992 金属粘贴式电阻应变计
GB/T18159 滑行车类游乐设施通用技术条件
GB/T20306 游乐设施术语
GB/T20737 无损检测通用术语和定义
GB/T20921 机器状态监测与诊断词汇
GB/T33213 无损检测基于光纤传感技术的应力监测方法
GB/T33218 无损检测基于光纤传感技术的设备健康监测方法
GB/T34370(所有部分)游乐设施无损检测
GB/T36668.1游乐设施状态监测与故障诊断第1部分:总则
3术语和定义
GB/T20306.GB/T20737.GB/T20921.GB/T36668.1界定的以及下列术语和定义适用于本文件。
3.1
应力检测stressdetection
使用电阻应变片对游乐设施关键结构部件进行应力测试,并对应力进行定性定量分析。
3.2
应力状态监测stressstatemonitoring
采用监测仪器在线监测游乐设施大型框架结构或支承件的应力变化,当监测的应力值接近控制值时发出报警,并基于监测数据进行结构疲劳损伤寿命预测。
3.3
损伤诊断damagediagnosis
利用游乐设施结构的应力响应数据分析结构物理参数的变化,判断结构损伤状况的过程。
4方法概述
4.1应变片应力检测方法
4.1.1基本原理
将电阻应变片粘贴或焊接在游乐设施关键结构部件上,应变片敏感栅随着被测结构伸长或缩短,使得敏感栅电阻值随之变化。电阻应变片的电阻变化率与所测应变成正比,通过测量电阻应变片的电阻,可以计算出检测区域的应变。
4.1.2检测目标
使用电阻应变片对游乐设施关键结构部件进行应力检测的目标主要包括以下3个方面:
a)获得游乐设施关键结构部件的应力分布规律和应力集中情况;
b)检验游乐设施关键结构部件的强度;
c)验证游乐设施关键结构部件的设计合理性。
4.1.3优点和局限性
使用电阻应变片进行应力检测主要有以下优点:
a)测量灵敏度与精度高;
b)容易安装;
c)测量范围广;
d)可以测量多种力学信号,如扭矩、剪切应力、集中应力等。
其局限性如下:
a)受电磁干扰,测量结果易因干扰发生漂移;
b)不适用于长期监测。
4.1.4干扰因素
电磁和无线电频率干扰可能影响应力检测结果,为防止电磁干扰,桥盒和应变片之间的连线要用屏蔽线,并且屏蔽网要做好接地处理。
4.2光纤光栅传感应力监测方法
4.2.1基本原理
将光纤光栅传感器粘贴或焊接在游乐设施的大型框架结构或支承件上,游乐设施工作时的载荷和外界环境变化将引起其结构应力和温度等物理量发生变化,导致光纤光栅传感器的光栅周期或有效折射率发生变化,光纤光栅反射中心波长发生漂移。通过检测光纤光栅传感器中心波长的漂移量,即可得到被测结构温度和应力等物理量的变化情况。
4.2.2监测目标
光纤光栅传感应力监测是为了监测游乐设施大型框架结构或支承件持续工作期间的应力时间历程曲线。一方面是对出现的异常及时发现并采取补救措施,另一方面是基于实时监测的应力数据对结构进行损伤诊断分析和寿命预测。
4.2.3优点和局限性
使用光纤光栅传感进行应力状态监测主要有以下优点:
a)容量大。可在一根光纤上同时测量几十个点的多种参量变化。
b)精度高。不受光源功率波动、光纤微弯效应及耦合损耗等因素影响。
c)无零漂。出厂后不需要定期检定,系统维护成本很低。
d)抗电磁干扰。电绝缘材料做成的光纤利用光子传输信息,避免了电磁场干扰。
e)耐久性好。光纤化学性能稳定,耐酸碱腐蚀能力强,适合在恶劣环境中使用。
f)便于安装。传感器结构简单、尺寸小,适于各种应用场合,尤其适合于埋入材料内部构成所谓的智能材料或结构。
g)可长周期监测。
其局限性如下:
a)点式监测,一个传感器只能覆盖结构一个测点;
b)光纤光栅传感器同时受应变和温度变化,在监测应变时,应进行温度补偿。
4.2.4干扰因素
光纤光栅传感器存在应变和温度的交叉敏感问题,单个光纤光栅反射波长的变化难以分辨出应变和温度的变化量。使用光纤光栅传感器进行应力监测时,应对光纤光栅传感器进行温度补偿。
5安全要求
本章并未列出实施时所有的安全要求,使用本部分的用户应在实施前建立安全准则。实施过程中的安全要求至少如下:
a)检测/监测人员应遵守游乐设施现场运行的安全要求,根据检测/监测地点的要求穿戴防护工作服和佩戴有关防护设备;
b)检测/监测时,应注意游乐设施启动及运转时轿厢的移动,防止人员碰撞及连接电缆和光缆的阻碍;
c)在进行高空操作时,应考虑检测/监测人员、设备等坠落因素,并采取必要的保护措施。
6人员要求
按本部分进行应力检测或应力监测的人员应经过相关专业培训,同时熟悉游乐设施检验规程。
7设备和器材要求
7.1应力检测设备器材
应力检测所需仪器设备器材及工具主要包括:已安装数据采集软件的电脑、电阻应变仪、带线及适配插座的应变片、砂纸、棉纱/棉球、*酮丙**/乙醇、黏结剂、聚乙烯/四氟乙烯薄膜、游标卡尺和钢卷尺等。
7.2应力监测设备器材
7.2.1光纤应力监测硬件系统(见图1)
光纤应力监测硬件系统由光纤传感子系统、数据采集子系统和数据传输子系统组成,包括:光纤光栅传感器、解调仪、传输光缆、计算机、数据发送模块等单元。其中光纤光栅传感器、解调仪和传输光缆的性能应符合GB/T33213的规定。

图1光纤应力监测系统示意图
7.2.2光纤应力监测软件系统(见图1)
软件系统应至少包括初始化设置模块、数据显示模块、数据处理模块、数据分析模块。各模块功能如下:
a)初始化设置模块:对待测设备的传感器布点编号、测点位置、监测物理量、分辨率、应变系数、工作温度等信息进行配置与管理,对测点部位材料参数进行配置。
b)数据显示模块:实现所有测点位置、各测点实时数据和历史数据的曲线显示,并显示各测点历史最大值。
c)数据处理模块:对数据进行接收和实时存储,并实现各测点数据查询。
d)数据分析模块:对各测点监测数据进行筛选、压缩;对数据进行统计分析;实现基于损伤度的结构健康状态诊断和基于累积损伤理论的结构剩余寿命预测等。
7.3设备的维护和校准
仪器设备应进行周期性的检测和调节来校正仪器的参数,以保证仪器功能。
使用前,应仔细检查、校对检测/监测用仪器设备,所备仪器应满足检测/监测项目内容、精度的要求,在校验有效期内,并处于完好状态。
使用过程中,如发现仪器设备产生错误或部分变化,也应对仪器功能进行检查和调节,维护工作应按照制定的书面程序进行,并应对每次维护检查的结果进行记录。光纤光栅传感器的校准应按GB/T33213的要求进行,其他部件的校准应按仪器制造商规定的方法进行。
使用完成后,应按照仪器设备存放管理要求存放仪器设备。
8检测/监测工艺规程
8.1通用检测/监测工艺规程
从事应力检测/监测的单位应按本部分的要求制定通用检测/监测工艺规程,其内容应至少包括如下要素:
a)适用范围;
b)引用标准、法规;
c)实施人员资格;
d)检测/监测仪器设备;
e)被检测/监测设备与部件的信息:名称、类型、编号、结构形式、尺寸、安装地点、设计与运行参数;
f)传感器安装位置及传感器安装方式;
g)运行工况;
h)检测/监测过程和数据分析解释;
i)检测/监测结果的评定;
j)检测/监测记录、报告和资料存档;
k)编制、审核和批准人员;
l)编制日期。
8.2检测/监测作业指导书或工艺卡
对于每个被检测/监测部件或每套被检测/监测设备,应按照9.1的要求制定应力检测/监测作业指导书或工艺卡。
9检测/监测方法
9.1检测/监测前的准备
9.1.1资料审查
资料审查应包括下列内容:
a)被检测/监测件制造文件资料:产品合格证、质量证明文件、竣工图等,充分了解被检测/监测设备的结构、运动和工作模式等;
b)被检测/监测件运行记录资料:日常维护保养记录、开停车情况、运行参数、载荷变化情况以及运行中出现的异常情况等;
c)检验资料:历次检验与监测报告、以往应力测试数据;
d)其他资料:修理和改造的文件资料等。
9.1.2现场勘查
应对现场的安全隐患进行排查,并合理选择仪器设备的安置地点,保证人员和仪器设备的供电与安全问题。
9.1.3实施条件确定
9.1.3.1人员联系方式的确定
根据现场情况确定实施条件,建立应力检测/监测人员和设备运行控制人员的联络方式。
9.1.3.2游乐设施运行程序
根据设备的类型和实际运转工况确定设备的运行程序。
9.1.4检测/监测点的确定
a)根据设计单位或使用单位的要求确定;
b)依据GB8408,选择相应的重要零部件和关键轴;
c)根据结构有限元仿真分析得到的结构应力热点区确定,在不影响检测/监测的情况下,传感器应安装在尽可能靠近应力热点区的部位;
d)根据历史损伤数据分析的结果确定;
e)应考虑整机的运动特点,最好考察整机的最大应力状态;
f)对于滑行车类游乐设施检测/监测点应覆盖GB/T18159规定的被测结构。
9.1.5检测/监测作业指导书或工艺卡的编制
对于每个被检测/监测部件或每套被检测/监测设备,应根据使用的仪器和现场实际情况,按照通用检测/监测工艺规程编制应力检测/监测作业指导书或工艺卡,确定应变片或光纤传感器安装的部位和表面条件,同时对被检测/监测设备进行测绘,对检测/监测部位进行编号,画出被检测/监测设备结构示意图。
9.1.6应变片选型
应变片选型要求如下:
a)尺寸大小:1mm、3mm、5mm、10mm等;
b)电阻值:120Q、35OQ、1000fl等;
c)待测试件材质,涉及不同的温度补偿,如:钢材约为HX10-6/°C.铝材约为23X10-6/°C等;
d)导线长度:1m、3m、5m等;
e)轴数:单轴、双轴、三轴。
贴片前,还应对待用的应变片进行外观检查和阻值测量。外观检查可凭肉眼(必要时借助放大镜)进行,重点观察敏感栅有无锈斑和缺陷、是否排列整齐、基底和覆盖层有无损坏以及引线是否完好。阻值测量可采用惠斯顿电桥或数字欧姆表,检查敏感栅是否有断路、短路,并进行阻值分选,对于共用温度补偿的一组应变片,阻值相差不得超过0.5Q。同一次测试中采用的应变片,其灵敏系数应相同。
9.2传感器的安装
9.2.1应力检测传感器的安装
应力检测采用电阻应变片,其粘接工艺按GB/T13992的规定进行,具体如下:
a)贴片前,应对待用的应变片进行外观检查和阻值测量。
b)待测表面的清洁:对于金属零件,首先清除表面油漆、氧化层和污垢。
c)待测表面的打磨:用细砂纸沿45°交叉方向进行打磨,打磨后粗糙度应达到3.2ym左右,打磨面积约为应变片面积的5倍左右。
d)待测表面的清洗:用洁净棉纱或脱脂棉球蘸乙醇或*酮丙**等易挥发溶剂对贴片部位进行反复擦洗,直至棉纱或棉球上见不到污垢为止。
e)应变片的定位:在待测表面上画出贴片的准确部位。
f)贴片工艺(见图2):粘结剂分常温固化和加热固化两种,一般选用常温固化胶水。贴片过程为:在贴片位置涂抹胶水,用应变片背面将胶水涂匀,用镶子拨动应变片,调整位置和角度。定位后,在应变片上垫一层聚乙烯或四氟乙烯薄膜,用手指轻轻挤压出多余的胶水和气泡,待胶水初步固化后再松开手指。粘贴好的应变片应保证位置准确、粘接牢固、胶层均匀、无气泡和整洁干净。

图2应变片粘贴结构7F意图
g)导线的焊接与固定:待胶水固化后,进行导线焊接与固定。常温静态测量可使用双芯多股铜质塑料线做导线,动态测量应使用三芯或四芯屏蔽电缆做导线。应变片和导线间的连接最好通过接线端子,焊点确保无虚焊。导线最好与试件绑扎固定,导线两端应根据测点编号做好标记。
h)贴片质量检查包括外观检查、电阻和绝缘电阻测量。外观检查主要观察贴片方位是否正确,应变片有无损伤,粘贴是否牢固和有无气泡等。绝缘电阻测量可以检查有无断路、短路。
i)应变片及导线的防护:应变片受潮会降低绝缘电阻和粘接强度,严重时会使敏感栅锈蚀;酸、碱及油类浸入甚至会改变基底和粘结剂的物理性能。为了防止大气中游离水分和雨水、露水的浸入,在特殊环境下防止酸、碱、油等杂质侵入,对已干燥、固化并已焊接好导线的应变片,应立即涂上防护层。常用室温防护剂有凡士林、蜂蜡、石蜡、炮油和松香的混合物、环氧树脂等。
9.2.2应力监测传感器的安装
应力监测采用光纤光栅传感器,其安装方法按照GB/T33213的要求。
9.3系统初始设置
应力检测的初始设置如下:测试前,在设备静止状态下,进行仪器调零。设备停止运行后,卸载到无载应力状态,检查各应变片回零情况,回零良好可进行下一次测试,否则应检查设备连接状态重新测量。
应力监测的初始设置如下:将已安装好光纤光栅传感器的监测系统开机预热至系统稳定工作状态,对光纤光栅传感器进行初始参数设置,记录此时的传感器波长。
9.4检测/监测实施
对于应力检测,如设备具有多种工况,应在设备实际运行的每一种工况下分别测试。每种工况连续测试至少3次。对于每一种工况,在空载、偏载、满载条件下分别进行测试。
对于应力监测,自监测系统调试完成后,监测系统需在设备正常运行期间进行连续、实时监测。
9.5检测/监测数据分析
对于应力检测,应严格记录检测开始时间和结束时间,设备运行工况和应力时程曲线应在检测记录中清晰标识。
对于应力监测,监测记录可以按照月度、季度、年度等周期定期编制,监测数据应在设备全生命周期内予以保存。
10检测/监测数据处理方法
10.1检测数据处理方法
检测数据应进行异常值剔除,异常值剔除参考10.2。
10.2监测数据处理方法
首先将应力监测采集的应力-时间历程数据处理成便于提取循环数的数据,这个过程包括异常值剔除、等值数压缩、峰谷值检测和无效幅值的去除。
a)异常值剔除:检测出异常大的值并进行去除;
b)等值数压缩:将采样应力-时间历程中,连续相等的数据只保留一个;
c)峰谷值检测:将数据中的峰谷值提取出来,为下一步无效幅值去除做准备;
d)去除无效幅值:将应力幅值很小的对疲劳影响不显著的数据元素去除。
11评估方法
11.1基于应力数据的安全判定方法

表1安全系数

11.2基于应力的健康状态评估方法
游乐设施大型框架结构或支承件结构健康状态评估是基于长期监测应力谱计算疲劳累积损伤。疲劳累积损伤的计算方法按GB/T33218。
对于无限寿命设计的游乐设施应符合GB8408中给出的安全系数值,对于有限寿命设计的游乐设施,当循环载荷的最大计算应力大于材料的疲劳极限时,用疲劳载荷谱计算零部件的使用寿命。
对服役年限接近甚至超过使用寿命的结构或部件,应根据监测数据定期进行评估。
12检维修策略
对于应力检测结果,若某结构部件的应力出现异常值,应按如下方法进行检查和维修:
a)使用单位自检;
b)若自检不能发现问题原因,利用无损检测手段进行探伤,按GB/T34370执行;
c)若大型框架结构出现问题,或发现轻微裂纹损伤,需进行相应的裂纹修复;
d)若形式复杂的结构出现问题,或问题较为严重,需更换部件。
通过长期的应力状态监测,若应力出现异常值,排除噪声干扰的因素,需要对监测值异常的结构或部件进行检查,检查维修方法同上,根据异常程度和部件重要性,选择相应的维修策略。
13记录和报告
13.1记录
应按检测/监测工艺规程的要求记录检测/监测数据或信息,至少应包括10.2中所列的内容,并按相关法规、标准和(或)合同要求保存所有记录。
检测/监测时如遇不可排除因素的外界干扰,如人为干扰、恶劣天气等,应如实记录,并在检测/监测结果中注明。
13.2报告
检测完成或监测到时间节点出具检测/监测报告。报告的内容应根据检测/监测要求制定,至少包括以下要素:
a)被检测/监测设备使用单位名称、地址及联系方式;
b)被检测/监测设备名称、类型、安装地点、安装日期;
c)被检测/监测结构部件的类型、型号、材料参数;
d)设备说明书;
e)执行标准和(或)参考标准编号;
f)检测/监测的日期、时间;
g)检测/监测仪器类型(传感器类型、采集仪型号等);
h)传感器安装位置示意图;
i)检测/监测数据原始记录及数据处理结果;
j)应力分析结果;
k)检测/监测人员、报告编写人和审核人签字;
l)检测/监测和出具报告的日期。