根据联合国《保护非物质文化遗产条约》申遗包括三类:1、人类非物质文化遗产代表作名录;2、急需保护的非物质文化遗产名录;3、保护非物质文化遗产的计划、项目和活动(优秀实践名册)。目前缔约国178个,收录630个项目。

(图一)
目前中国收录项目43个,日本22个,韩国21个。网传端午节被韩国申遗了,端午节是韩国的,表述不对。

(图二)
2008年韩国申请的项目叫“江陵端午祭”(见上“图二”红色框),摘选项目简介:在位于朝鲜半岛太白山脉以东的江陵及周边地区,每年都要举行江陵端午祭。节庆包括在大关岭山举行萨满祭神仪式,以敬拜山神和男女守护神。制作端午祭扇子、酿造神酒、绘制官奴假面剧面具,制作并品尝Surichiwi米糕,用菖蒲水清洗头发。
2009年,中国“端午节”收录进了名录,见下图红色方框:

(图三)
项目简介为: 端午节是中国的传统节日,节期在农历五月初五 。迄今已有2500余年历史。由驱毒避邪的节令习俗衍生出各地丰富多彩的祭祀、游艺、保健等民间活动,主要有 祭祀屈原、纪念伍子胥、插艾蒿、挂菖蒲、喝雄黄酒、吃粽子、龙舟竞渡、除五毒 等。各种活动因地域差别而略有不同,尤以湖北省秭归县、黄石市更具典型性。端午节是蕴涵独特民族精神和丰富文化内涵的传统节日,对中国民俗生活有重大影响。
可以看到,不仅对节日做了明确的定义,也包括了日间、各地的吃粽子、龙舟等等都包含在内,虽然被韩国抢先用了“端午祭”。 申遗并不是看项目发源于哪里,可以理解为是不是代表当地的一种特色。 比如中国在2009年对“中国传统木结构建筑营造技艺”(见“图三”蓝色方框)申请了收录进非遗目录,但是韩国在2010年申请了“南韩-大木匠与传统的木结构建筑艺术”(见“图二”蓝色方框),日本在2020年申请了“与日本木构建筑的保护和传承有关的传统技艺、技术和知识”,见下图:

(图四)
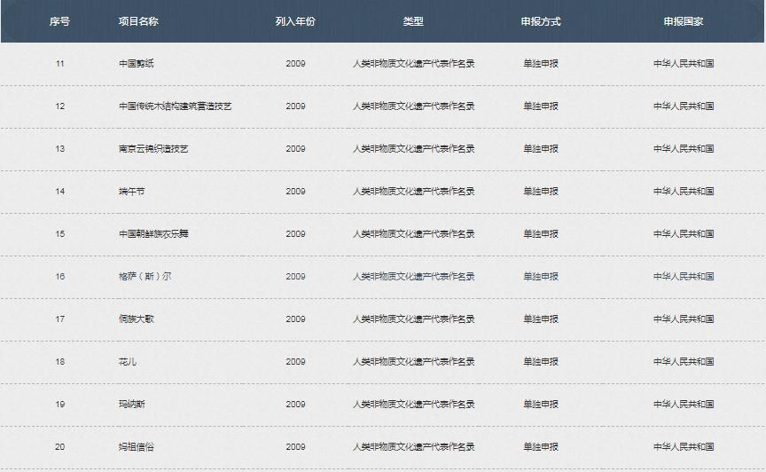
下面是咱中国已经收录进非遗的完整清单:

(图五)

(图六)

(图七)

(图八)

(图九)
可以看到2009年是申遗最多的一年,共25个,占43个总项目的58%!比较欣喜的是,中国书法、剪纸、篆刻、雕刻、中医针灸、藏医、活字印刷术、珠算、二十四节气、宣纸传统制作技艺等都早已收录进去。
烟花申遗,这个大家虽然口头上说赞成韩国去申遗,其实骨子里都是希望有关部门能够积极保护我们的文化传承。希望烟花的“四大重镇”:浏阳、万载、上粟、醴陵的地方政府能够积极站出来,联合保护这个文化传承!也希望国家有关部门加大对国家非物质文化的保护力度!