近日哈雷公布了一份2019年就已经建档,但是现在才正式公开的专利文件,关于在V型双缸发动机上额外加上增压装置来提升性能。专利文件中的图片中可以看出,这组增压装置被设计在变速箱上方,气缸后面,并有皮带传动和曲轴连结。

虽然从专利看来,这组增压系统可能是原厂标配,但是考虑到哈雷的改装市场,以选配的形式出现并不是没有可能。而且哈雷目前也正在出售性能强化套件,可以把车的活塞和气缸替换成不同的尺寸,甚至可以选择和原厂配置不同的发动机总成,那么这组增压系统很有可能会出现在选装配件目录中。哈雷和印第安等复古品牌非常注重为车主定制独一无二的爱车。

从基础构造来看,这组增压系统主要就是增加低转速时的动力以及扩展能够输出强大扭力的转速范围,与川崎 Ninja H2系列-依赖特定转速范围内输出更多动力并延伸极速的方针正好相反。

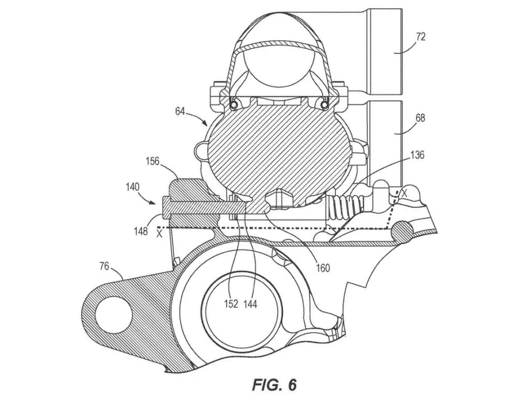
当皮带传动开始将发动机的动力传递到增压装置时,必须随时保持适合的张力,通常来说要有很多个张紧机构来完成这项重大的任务,但哈雷的设计看来并非如此。整个增压系统与一对滑轨机构连结,使得增压系统可以前后滑动,并且滑轨前端的弹簧会将液压机构往后方挤压,借此将皮带传动保持在最佳的紧度,即使皮带长期使用后老化、松弛,也不会降低传动效率。

让增压系统能够前后移动使得增压用的进气管路和发动机的空滤以及进气支管保持连结的任务变得复杂,但哈雷采用了滑动的方式来改变长度的硬质管路,并且在连结用的管路中也安装了O环来确保伸缩动作进行时的气密效果,这样的方法也进一步延长了增压系统能够正常工作的生命周期。

目前这组增压系统只是一份专利文件,是否会在未来的车型上正式采用也不得而知,喜欢哈雷的车友只能拭目以待了。
