距离现款Diverge上市已经过去了两年,由于全地形公路车市场持续火热,闪电不断在完善全地形公路车的产品线,于去年推出了“AETHO瓜”超轻全地形公路车CRUX。既然有轻型的了,那么是不是还有重型的?所以全新Diverge STR它来了。

Diverge大家都懂,但STR是什么意思呢?其实它是“Suspend The Rider”的简写,可以简单粗暴地理解为把骑士吊起来。这是因为它是一辆带前后Future Shock、主打骑行乐趣和恶劣路况的全地形公路车。

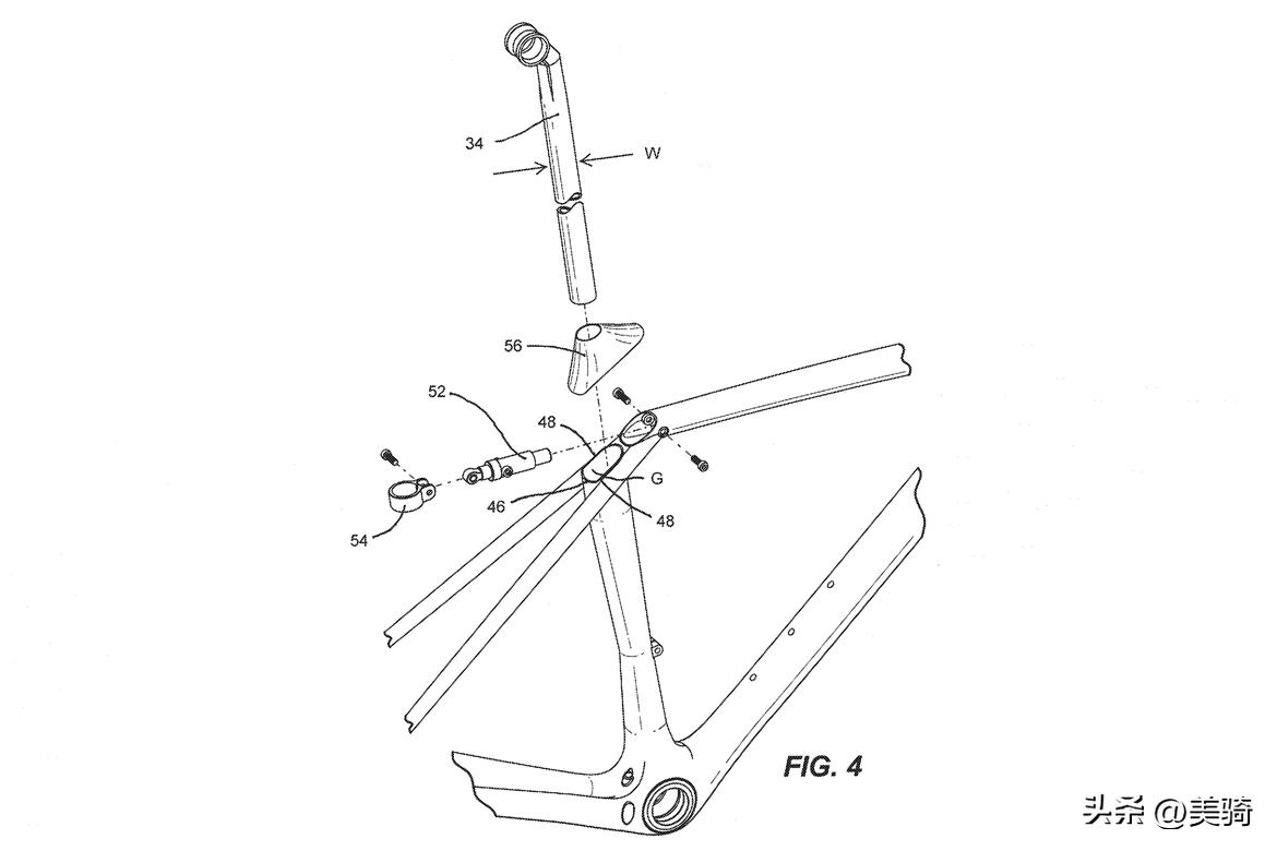
去年初,外媒就曝光了闪电公布的一项专利,是一个十分复杂的减震结构。小编本以为这么复杂的东西是保护性注册了专利,没想到疯狂的闪电还真把这东西给造出来了……
其实这辆车的灵感来源于闪电加利福尼亚研发中心外面的Eureka峡谷,这是一条8km长、又快又难的技术型下坡。闪电概念工程师Chris D’Aluisio在被这段路虐时,迸发出了灵感,造一辆给骑士提供减震,而不是在轮子上安装悬挂的全地形公路车,Diverge STR就此立项。
闪电的工程师们在2018年就开始测试各种减震结构的可行性,造出了多款原型车。

这就是最早的可动连杆原型。这款车架拥有一个可摆动的五通,固定的立管上,通过一只气压后胆进行减震调节。虽然拥有几乎最好的平顺性,但骑士的力量输出效率和反馈并不尽如人意。

第二代原型车架进行了改进。这只车架拥有一个可转动的偏心五通,相似的立管结构,通过下管内部的气压后胆进行调节。这款车架有更好的踩踏效率和反馈感,但对于一个产品计划来说,最终被证明过于复杂。

第三代原型也就是专利中的样子了,采用了Diverge STR的布局。特点是改进的Future Shock阻尼器,粗糙的连接杆,以及用于密封立管的简单外壳。这一代原型车验证了弹性套管能高效地起到弹簧的作用,并且能为骑士提供不同的刚性和重量的可调性,抛弃气压后胆是可行的。

最后一代原型车把减震结构嫁接到2017款Diverge车架上,来验证早期产品修改的阻尼、管套、连接杆和弹性套管。这只原型最初是在摩根山的复合材料实验室进行加工和堆叠,并将学到的经验应用在生产设计、加工和堆叠上。

下面,我们就来看看全新Diverge STR的细节。Diverge STR总共有三款车型,分别是S-Works、PRO和EXPERT,展示和试骑的样车为Diverge STR EXPERT。

看到这战斗痕迹,你们应该可以猜到它和小编我经历了些什么……

既然是辆“全避震公路车”,车头自然是继续使用带可调阻尼的Future Shock 2.0头管减震,它已经配备于多款车上了,小伙伴儿们应该对它非常熟悉了。

虽然说是辆“Diverge Plus”,但还需要根据使用场景进行一些优化。Diverge STR由于需要面对更多恶劣路况,所以把轮胎间隙加大到了47mm,使用650B轮组时则可兼容2.1的山地胎。

前叉左右各增加了一个螺丝孔,增加了挂载能力。

▲前叉上的挡泥板孔保留了下来,但后叉的取消了

参加活动的小伙伴对土黄色+金色Logo的涂装评价比较两极分化,你们怎么看?

由于添加了一组减震,车架组的重量会上升,所以全系使用顶级11R碳纤维,来确保性能。Diverge SRT车架组相比Diverge,仅增重约100克左右。咦,这不是当年Venge的套路么?顶级只是多了S-WORKS的标……但这也就意为着,Diverge SRT售价的起点会比较高……


下管依然是高配Diverge同款,非常粗壮,内置SWAT储物袋,可以装在内胎和补胎工具。

由于会面对更多恶劣路况,Diverge SRT的下管保护也进行了加码,除了橡胶“底盘装甲”外,还给下管贴上了厚厚的犀牛皮。

由于立管没有位置走线了,所以Di2的电池挂架整合在了下管里,托运时会比较麻烦。反正三款整车都是SRAM配置的,问题不大。

架型最大的特色就是为了安装后Future Shock,三通位置使用特殊设计,来腾出位置。后上叉连接上管,显得特别长。


后Future Shock就是Diverge STR的核心了,它由三部分组成。

弹性套管固定在立管下方,通过碳纤维形变来提供约30mm的减震行程。每辆车会提供两根套管(需要其他硬度可以单独购买),而每根套管又有两个安装位置提供不同刚性系数,所以一共有4种硬度设定,用户可以根据说明书里的表格,根据体重和用途来设定。在同一根套管上进行硬度转换十分方便,松掉这颗螺丝,把套管旋转到指定位置,锁紧后再调整座管和座管夹位置即可。如果需要更换套管的话,则需要拆卸阻尼杆,比较麻烦,建议交给技师施工。
另外,由于后Future Shock有一定预压角度,所以调整座高和坐垫角度时需要注意一下。

但表格只是提供建议,最终还是要通过试骑,根据自己的使用习惯来进行选择。哦对了,Diverge STR说明书是我见过最厚的闪电说明书,大多数内容都是围绕后Future Shock的,十分复杂。

由于立管内部给弹性套管留了巨大的活动空间,所以管口需要使用这个巨大的胶套来帮助密封,且胶套有螺丝辅助固定。


阻尼器内置在上管中。由于是个拉伸阻尼器,所以拨杆是拉伸阻尼的调节,讲人话就是减震的软硬调节。拉伸阻尼有三个档位,分别对应软、中、硬,可以根据地形的变化进行调节。

阻尼器的功能十分强大,还有回弹阻尼调节。从立管下方的洞插进一根3mm内六角即可进行调节,不过找螺丝位置可是和技术活……如果觉得座管太“跳”了,可以增加一些回弹阻尼。


阻尼器通过这个造型十分科幻的连杆连接弹性套管。

五通自然是BSA规格,毕竟Diverge的维护保养频率会比一般公路车高,螺纹中轴用起来更加简单靠谱。


由于Future Shock的加入和轮胎间隙的增加,Diverge STR只兼容单盘传动系统。既然只能使用单盘,就不必使用Diverge上那个超薄实心后下叉来增加轮胎间隙。

为了对应更加频繁的链条跳动,Diverge STR将护链贴升级为闪电山地车同款波浪造型,据说可以打破链条在颠簸路段产生的正弦波形态,降低噪音。
Diverge STR的车架几何与Diverge差不多,但有细微差别。五通下沉量从80mm提升到85mm。因为增加了轮胎间隙,后下叉长度从425mm增加到429mm。立管角度大了约0.5°,以补偿后Future Shock在静态下的预载。



这辆“最低配”的Diverge SRT的套件也十分硬核,使用Sram Rival Axs混搭GX Eagle AXS后拨和飞轮,充足的齿比范围可以挑战更陡的爬坡和恶劣路况。

▲飞轮则是50T的XG-1230,搭配40T牙盘

刹车前后均为160mm的PACELINE碟片,值得一提的是,Diverge的前叉碟刹座也根据使用场景进行了优化,为160mm/180mm规格,如果160mm碟片满足不了你,可以升级180mm碟片。


轮组为Terra C碳纤维全地形公路轮组,搭配42c的Tracer Pro准真空胎,可以随时切换成真空。原配的轮胎就已经相当粗了,符合Diverge STR的玩法。


操控组件方面,带Future Shock的车型自然是标配Future Shock把立。车把则显得有些抠门,配备了一支铝合金的 Adventure Gear Hover抬升外撇弯把,外撇角度为12°。

座管配备了一根传统的S-WORKS碳座管,由于已经搭载减震了,就无需使用形变量较大的Roval Terra座管了。连闪电自己都表示,Future Shock提供的减震性能已经足够了,建议搭配升降座管,来获得更好的骑行体验。坐垫则是钛轨版的POWER。
骑行感受
恰好近期在老地方黄山歙县野趣乡居有一场闪电的活动,就顺便安排了Diverge STR的试骑。在活动前,闪电的小伙伴就表示“给骑行家和美骑的老师安排了惊喜路线”。
对此,小编的内心自然就是:你给我翻译翻译,什么“哔哔”的是“哔哔”的惊喜。

就这样,在野趣乡居老板JUSTIN的带领下,我们在“惊喜路线”上开始了试骑……在图中可以明显看出,Diverge STR的轮胎宽了多少。

由于52码车架的STACK高达576mm,而且还配备了抬升把,坐上车的第一感觉就是,真的好高。考虑到这不是一款主打铺装路面的公路车,车把高点倒也可以理解。超高的车头让这款车骑着还是挺轻松愉快的。
作为一辆“重型瓜”,铺装路面自然不是它的战场,小编对它的要求也不高,能骑个30km/h左右即可。由于Tracer Pro轮胎的滚阻不算大,加上有碳轮的加成,即使在下坡降低胎压后,在平路上骑行还是能达到我的预期。

在开始骑行前,小编就已经确认FP4弹性套管设定在第三档(45nm)符合我的体重范围。在阻尼打开的情况下,弹性套管的形变量真的是非常大,像玩跳跳床一样,在平路骑行需要把阻尼开到最大,来确保踩踏效率。在阻尼最大的情况下,会感觉弹性套管硬了许多,几乎不会降低踩踏效率。因为Future Shock是“减震”而不是“悬挂”,所以摇车时不会泄力,还是能有标准公路车的骑行感受。
在碎石路爬坡时,由于全地形公路车的轮胎不像山地车那么宽,摇车会降低后轮抓地力,导致打滑,所以大多数时候都是在坐着骑。把拨杆拨到中间,可以提供恰到好处的减震效果,让我可以坐在坐垫上专注踩踏。

虽然这辆最低配的Diverge STR Expert重量已经超过了10kg,好在有50t大飞轮和Terra C碳轮的双重加成,还足够应付“惊喜路线”的爬坡,全程爬坡几乎没推车,让骑GRX套件Diverge的JUSTIN羡慕不已。

活动过半,开始了真正的“惊喜”。小编我认为与其说是惊喜,不如说是惊吓。各种沿着山壁的小道,旁边就是悬崖,非常吓人。Diverge的几何设定偏向灵敏,在这种小道低速骑行时会感觉车头有些“贼”,让人本能性地下车推或坐在上管上溜车。这时就体会到为何闪电建议搭配升降座管了……
在扛车时,免不了会怀念CRUX的好,手动滑稽。

最后还三刷了之前Diverge和Crux试骑时走过的土路下坡,这时就可以把前后Future Shock的阻尼完全打开。之前都要站着用双腿充当减震的路段,现在坐着就可以下了,感觉非常神奇。在这种路况下,能深刻体会到闪电名言“平顺即更快”。
就要注意的是前后Future Shock的调整都需要有一边手脱把操作,在颠簸路况肯定是无暇顾及的,所以对路面变化和预判非常重要。

在试骑过后,感觉Diverge STR作为一个独特的细分市场车型,能提供很好的骑行乐趣,一天骑下来感觉还是很开心的。要挑毛病的话,主要还是出在价格上。作为一款全系都是顶级车架的车,门槛就已经5万元了,不像Diverge那样能有入门款,入手还是要经过深思熟虑。另外就是作为5万元的车,还配个铝把确实有点抠门了。最后就是复杂的后Future Shock拆装比较麻烦,虽然阻尼器本身是免维护设计,但都定义为耗材,坏了只能更换,好在官方提供了2年保修。
谈到需不需要这款车,又要回到老生常谈的问题:我国基建太好了,使用场景少。每次骑Gravel和有拍摄需求时都要专门去找路,且说不准下次你骑过的路就铺上水泥路了。例如这次活动中的下坡土路,据说明年就铺好路了。也许想去XC的路段挑战下自己,才需要这辆Diverge STR?
最后就用一句话总结下Diverge STR吧。很好、很炫技、很有乐趣,但我不(mai)需(bu)要(qi)。