行业领先的人力资源服务行业技术赋能。专为招聘、社保代理、劳务派遣、岗位外包、灵活用工等人力资源服务机构打造,帮助各人力资源服务机构搭建更好服务其甲方企业和外包员工。
助力HRO与其甲方企业、外包员工及商业伙伴实现“智能服务,数据联通”,通过业务流、信息流、数据流、资金流和人员流的有机结合,赋能各人力资源服务机构构建区域人力资源服务生态圈。
基于用户服务场景提供系统架构自行搭配、用户权限自主分配。人力资源服务全流程的销售管理系统 、招聘系统、员工档案系统(私域人才库)、员工合同网签、费用自动结算、社保薪酬全程跟踪,调基补差精算,微信工资条、个税自动申报、员工微信端自助等全线上服务,帮助每一家人力资源服务机构实现智能化,数据化,可视化的人力资源服务新模式。
系统采用Springboot、Vue开发,非SaaS模式,支持独立部署服务器,更有效保障数据安全,原创开发,提供全套源代码,支持二次开发。

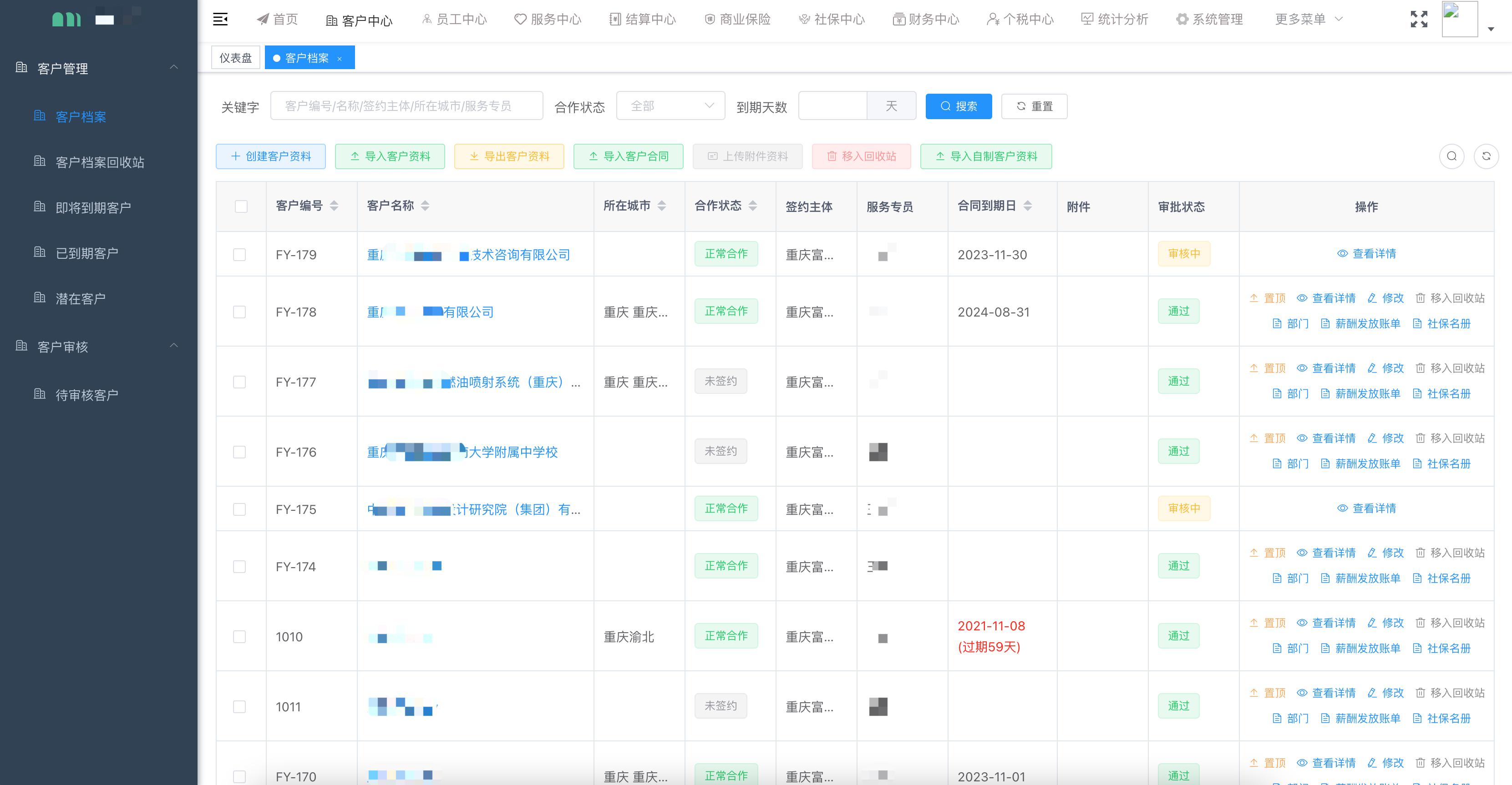
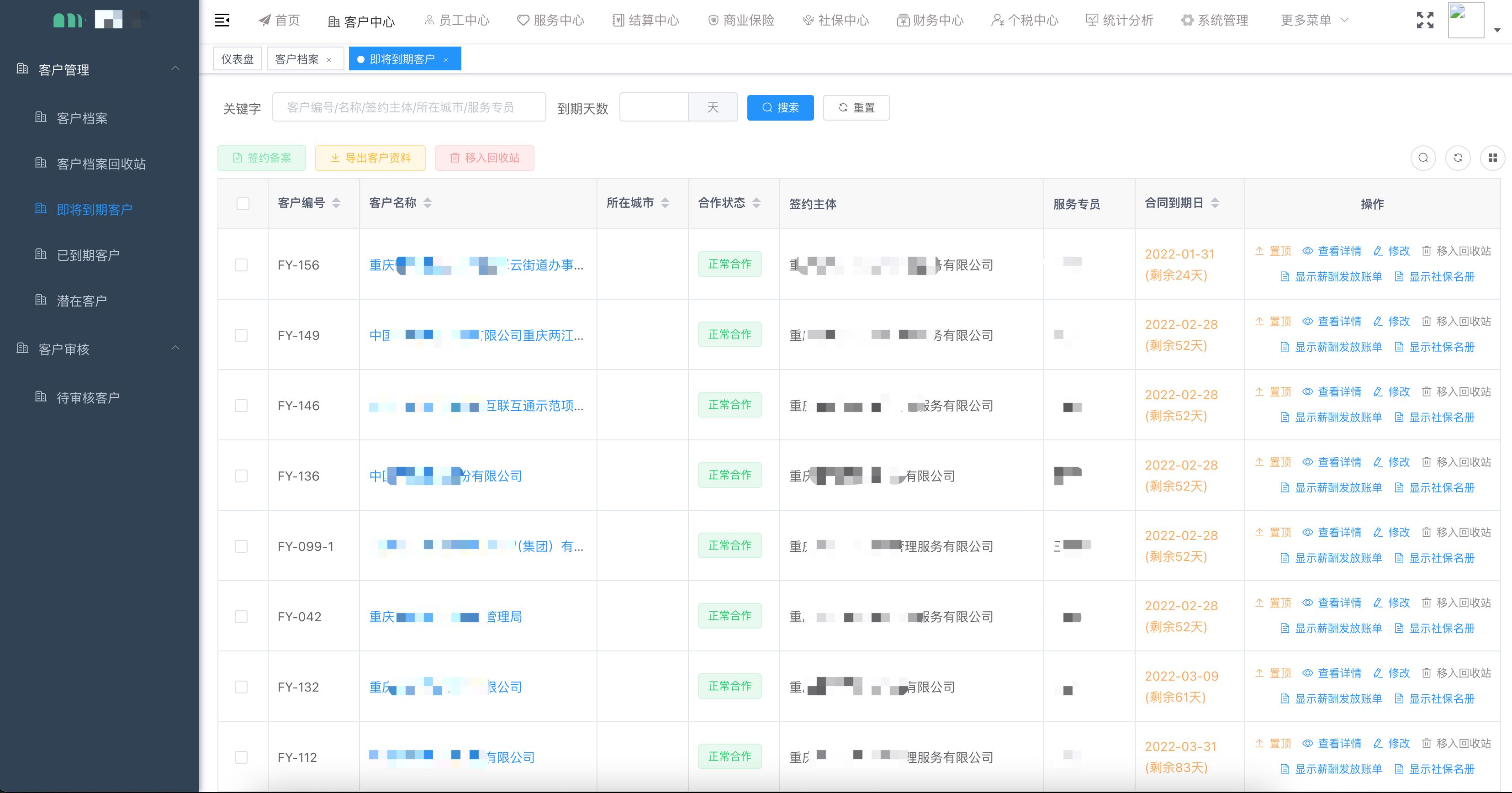
一、客户CRM管理
管理客户档案,管理客户合同。合同到期提醒等,支持批量导入,自定义模板导入。

即将到期客户提醒


二、员工中心,管理员工档案,管理员工合同


三、服务中心。



四、结算中心。自定义结算账套模板,自动生成结算账单、工资条。




回款计划


自定义结算结构计算方式

五、商业保险

六、社保中心
自定义社保公积金政策模板



七、财务中心



八、个税中心,自定义个税配置
