你也可以上程序咖(https://meta.chengxuka.com),打开大学幕题板块,不但有答案,讲解,还可以在线答题。

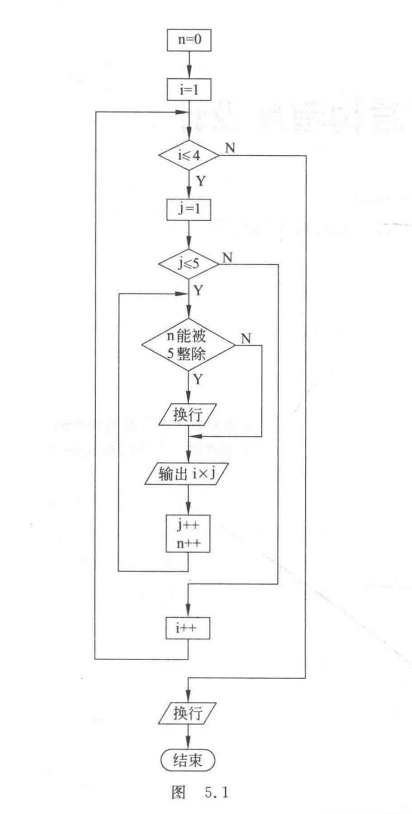
题目1:请画出例 5.6 中给出的3个程序段的流程图。
解∶下面分别是教材第5章例5.6给出的程序,据此画出流程图。
(1)程序1:
#include <stdio.h>brint main()br{br int i, j, n = 0;br for (i = 1; i <= 4; i++) // n用来累计输出数据的个数br for (j = 1; j <= 5; j++, n++)br {br if (n % 5 == 0)br printf("\n"); //控制在输出5个数据后换行br printf("%d\t", i * j);br }br printf("\n");br return 0;br}br
运行结果:

其对应的流程图见图5. 1。

(2)程序2:
#include <stdio.h>brint main()br{br int i, j, n = 0;br for (i = 1; i <= 4; i++)br for (j = 1; j <= 5; j++, n++)br {br if (n % 5 == 0)br printf("\n"); //控制在输出5个数据后换行br if (i == 3 && j == 1)br break; //遇到第3行第1列,结束内循环br printf("%d\t", i * j);br }br printf("\n");br return 0;br}br
运行结果:

遇到第3行第1列时,执行 break,结束内循环,进行第 4 次外循环。
其对应的流程图见图 5.2 。

(3)程序 3:
#include <stdio.h>brint main()br{br int i, j, n = 0;br for (i = 1; i <= 4; i++)br for (j = 1; j <= 5; j++, n++)br {br if (n % 5 == 0)br printf("\n"); //控制在输出5个数据后换行br if (i == 3 && j == 1)br continue; //遇到第3行第1列,终止本次内循环br printf("%d\t", i * j);br }brbr printf("\n");brbr return 0;br}br
运行结果:

遇到第3行第1列时,执行continue,只是提前结束本次内循环,不输出原来的第3行第1列的数3,而进行下一次内循环,接着在该位置上输出原来的第 3行第 2列的数6。
请仔细区分 break 语句和 continue 语句。
其对应的流程图见图 5.3。

题目2:请补充例 5.7 程序,分别统计当" fabs(t)>=1e-6"和"fabs(t)>=1e-8" 时执行循环体的次数。
解:
例5.7 程序是用
π4≈1−13+15−17+...
公式求 π 的近似值,直到发现某一项的绝对值小于 10-6 为止。根据本题要求,分别统计当 fabs(t)>=1e-6 和 fabs(t)>=1e-8 时,执行循环体的次数。
(1)采用fabs(t)>=le-6作为循环终止条件的程序补充修改如下∶
#include <stdio.h>br#include <math.h> //程序中用到数学函数 fabs,应包含头文件math.hbrint main()br{br int sign = 1, count = 0; // sign 用来表示数值的符号,count 用来累计循环次数br double pi = 0.0, n = 1.0, term = 1.0; // pi开始代表多项式的值,最后代表π的值,,n代表分母,br // term 代表当前项的值br while (fabs(term) >= 1e-6) //检查当前项 term 的绝对值是否大于或等于10的(-6)次方br {br pi = pi + term; //把当前项 term 累加到 pi中br n = n + 2; // n+2是下一项的分母br sign = -sign; // sign代表符号,下一项的符号与上一项符号相反br term = sign / n; //求出下一项的值 termbr count++; // count 累加1br }br pi = pi * 4; //多项式的和pi乘以4,才是π的近似值br printf("pi=%10.8f\n", pi); //输出π的近似值br printf("count=%d\n", count); //输出count的值br return 0;br}br
运行结果:

执行50万次循环。
(2) 采用fabs(t)>= 1e-8作为循环终止条件的程序,只需把上面程序的第8行如下修改即可:
while (fabs(term) >= 1e-8)
运行结果:

执行5000万次循环。
题目3:输入两个正整数 m 和 n,求其最大公约数和最小公倍数。
解:
答案代码:
#include <stdio.h>brint main()br{brbr int p, r, n, m, temp;br printf("请输入两个正整数n.m∶");br scanf("%d,%d,", &n, &m);br if (n < m)br {br temp = n;br n = m;br m = temp;br }br p = n * m;br while (m != 0)br {br r = n % m;br n = m;br m = r;br }br printf("它们的最大公约数为∶%d\n", n);br printf("它们的最小公倍数为∶%d\n", p / n);brbr return 0;br}br
运行结果:

题目4:输入一行字符,分别统计出其中英文字母、空格、数字和其他字符的个数。
解:
答案代码:
#include <stdio.h>brint main()br{brbr char c;br int letters = 0, space = 0, digit = 0, other = 0;br printf("请输人一行字符:\n");br while ((c = getchar()) != '\n')br if (c >= 'a' && c <= 'z' || c >= 'A' && c <= 'Z')br letters++;br else if (c == ' ')br space++;br else if (c >= '0' && c <= '9')br digit++;br elsebr other++;br printf("字母数:%d\n空格数:%d\n数字数:%d\n其他字符数:%d\n", letters, space, digit, other);br return 0;br}br
运行结果:

题目5:求 个Sn=a+aa+aaa+⋯+aa…a⏞n个a 之值,其中a是一个数字,n表示a的位数,n由键盘输入。例如:2+22+222+2222+22222 (此时 n=5)
解:
答案代码:
#include <stdio.h>brint main()br{brbr int a, n, i = 1, sn = 0, tn = 0;br printf("a,n=:");br scanf("%d, %d", &a, &n);br while (i <= n)br {br tn = tn + a; //赋值后的tn为i个a组成数的值br sn = sn + tn; //赋值后的 sn为多项式前i项之和br a = a * 10;br ++i;br }br printf("a十aa十aa十...=%d\n", sn);br return 0;br}br
运行结果:

题目6:求 ∑n=120n! (即求1!+2!+3!+4!+…+20!)。
解:
答案代码:
#include <stdio.h>
int main()
{
double s = 0, t = 1;
int n;
for (n = 1; n <= 20; n++)
{
t = t * n;
s = s + t;
}
printf("1!+2!+...+20!=%22.15e\n", s);
return 0;
}
运行结果:

请注意:s 不应定义为 int 型或 long 型,因为在用 Turbo C 或 Turbo C++ 等编译系统时,int 型数据在内存占 2个字节,整数的范围为-32768~32767,long 数据在内存占 4 个字节,整数的范围为 -21亿~21亿。用Visual C++ 6.0 时,int 型和 long 型数据在内存都占4 个字节,数据的范围为-21亿~21 亿。无法容纳求得的结果。今将 s 定义为 double 型,以得到更多的精度。在输出时,用 22.15e 格式,使数据宽度为 22,数字部分中小数位数为15位。
题目7:求 ∑k=1100k+∑k=150k2+∑k=1101k 。
解:
答案代码:
#include <stdio.h>
int main()
{
int nl = 100, n2 = 50, n3 = 10;
double k, s1 = 0, s2 = 0, s3 = 0;
for (k = 1; k <= nl; k++) //计算1~100的和
{
s1 = s1 + k;
}
for (k = 1; k <= n2; k++) //计算1~50各数的平方和
{
s2 = s2 + k * k;
}
for (k = 1; k <= n3; k++) //计算 1~10 的各倒数和
{
s3 = s3 + 1 / k;
}
printf("sum=%15.6f\n", s1 + s2 + s3);
return 0;
}
运行结果∶

题目8:输出所有的"水仙花数",所谓"水仙花数"是指—个 3位数,其各位数字立方和等于该数本身。例如,153是水仙花数,因为 153=13+53+33 。
解:
答案代码:
#include <stdio.h>
int main()
{
int i, j, k, n;
printf("parcissus numbers are ");
for (n = 100; n < 1000; n++)
{
i = n / 100;
j = n / 10 - i * 10;
k = n % 10;
if (n == i * i * i + j * j * j + k * k * k)
printf("%d ", n);
}
printf("\n");
return 0;
}
运行结果:

题目9:一个数如果恰好等于它的因子之和,这个数就称为"完数"。例如,6的因子为1,2,3,而 6=1+2+3 ,因此 6 是"完数"。编程序找出 1000 之内的所有完数,并按下面格式输出其因子:
6 its factors are 1,2,3
解:方法一。
答案代码:
#include <stdio.h>
#define M 1000 //定义寻找范围
int main()
{
int k1, k2, k3, k4, k5, k6, k7, k8, k9, k10;
int i, a, n, s;
for (a = 2; a <= M; a++) // a是2~1000的整数,检查它是否完数
{
n = 0; // n 用来累计 a的因子的个数
s = a; // s用来存放尚未求出的因子之和,开始时等于a
for (i = 1; i < a; i++) //检查i是否 a的因子
if (a % i == 0) //如果i是 a的因子
{
n++; // n加1,表示新找到一个因子
s = s - i; // s减去已找到的因子,s的新值是尚未求出的因子之和
switch (n) //将找到的因子赋给k1~k9,或 k10
{
case 1:
k1 = i; //找出的第1个因子赋给 k1
break;
case 2:
k2 = i; //找出的第2个因子赋给 k2
break;
case 3:
k3 = i; //找出的第3个因子赋给 k3
break;
case 4:
k4 = i; //找出的第 4个因子赋给k4
break;
case 5:
k5 = i; //找出的第5个因子赋给 k5
break;
case 6:
k6 = i; //找出的第6个因子赋给 k6
break;
case 7:
k7 = i; //找出的第7个因子赋给 k7
break;
case 8:
k8 = i; //找出的第 8个因子赋给 k8
break;
case 9:
k9 = i; //找出的第9个因子赋给 k9
break;
case 10:
k10 = i; //找出的第 10个因子赋给k10
break;
}
}
if (s == 0)
{
printf("%d ,Its factors are", a);
if (n > 1)
printf("%d,%d", k1, k2); // n > 1表示a至少有2个因子
if (n > 2)
printf(",%d", k3); // n>2表示至少有3个因子,故应再输出一个因子
if (n > 3)
printf(",%d", k4); // n>3表示至少有4个因子,故应再输出一个因子
if (n > 4)
printf(",%d", k5); //以下类似
if (n > 5)
printf(",%d", k6);
if (n > 6)
printf(",%d", k7);
if (n > 7)
printf(",%d", k8);
if (n > 8)
printf(",%d", k9);
if (n > 9)
printf(",%d", k10);
printf("\n");
}
}
return 0;
}
运行结果:

方法二。
答案代码:
#include <stdio.h>
int main()
{
int m, s, i;
for (m = 2; m < 1000; m++)
{
s = 0;
for (i = 1; i < m; i++)
if ((m % i) == 0)
s = s + i;
if (s == m)
{
printf("%d,its factors are", m);
for (i = 1; i < m; i++)
if (m % i == 0)
printf("%d ", i);
printf("\n");
}
}
return 0;
}
运行结果:

题目10:有一个分数序列
21,32,53,85,138,2113...
求出这个数列的前20项之和。
解∶
答案代码:
#include <stdio.h>
int main()
{
int i, n = 20;
double a = 2, b = 1, s = 0, t;
for (i = 1; i <= n; i++)
{
s = s + a / b;
t = a, a = a + b, b = t;
}
printf("sum=%16.10f\n", s);
return 0;
}
运行结果∶

题目11:一个球从100m高度自由落下,每次落地后反弹回原高度的一半,再落下,再反弹。求它在第 10 次落地时共经过多少米,第 10次反弹多高。
解∶
答案代码;
#include <stdio.h>
int main()
{
double sn = 100, hn = sn / 2;
int n;
for (n = 2; n <= 10; n++)
{
sn = sn + 2 * hn; //第 n次落地时共经过的米数
hn = hn / 2; //第n次反跳高度
}
printf("第10次落地时共经过%f米\n", sn);
printf("第10次反弹%f米\n", hn);
return 0;
}
运行结果∶

题目12:猴子吃桃问题。猴子第1天摘下若干个桃子,当即吃了一半,还不过瘾,又多吃了一个。第 2天早上又将剩下的桃子吃掉一半,又多吃了一个。以后每天早上都吃了前一天剩下的一半零一个。到第10天早上想再吃时,就只剩一个桃子了。求第1天共摘多少个桃子。
解:
答案代码:
#include <stdio.h>
int main()
{
int day, x1, x2;
day = 9;
x2 = 1;
while (day > 0) //第1天的桃子数是第2天桃子数加1后的2倍
{
x1 = (x2 + 1) * 2;
x2 = x1;
day--;
}
printf("total=%d\n", x1);
return 0;
}
运行结果∶

题目13:用迭代法求 x=a 。求平方根的迭代公式为
xn+1=12(xn)+axn
要求前后两次求出的 x 的差的绝对值小于 10−5 。
解:
用迭代法求平方根的算法如下∶
(1)设定一个 x 的初值 x0 ;
(2)用以上公式求出 x 的下一个值 x1 ;
(3)再将 x1 代入以上公式右侧的 xn ,求出 x 的下一个值 x2 ;
(4)如此继续下去,直到前后两次求出的 x 值( x 和 xn+1 )满足以下关系:
|xn+1−xn|<10−5
为了便于程序处理,今只用 x0 和 x1 ,先令 x 的初值 x0=a/2 (也可以是另外的值),求出 x1 ;如果此时 |x1−x0|≥10−5 就使 x1⇒x0 ,然后用这个新的 x0 求出下一个 x1 ;如此反复,直到 |x1−x0|<10−5 为止。
答案代码:
#include <stdio.h>
#include <math.h>
int main()
{
float a, x0, x1;
printf("enter a positive number:");
scanf("%f", &a);
x0 = a / 2;
x1 = (x0 + a / x0) / 2;
do
{
x0 = x1;
x1 = (x0 + a / x0) / 2;
} while (fabs(x0 - x1) >= 1e-5);
printf("The square root of %5.2f is %8.5f\n", a, x1);
return 0;
}
运行结果∶

题目14:用牛顿迭代法求下面方程在1.5附近的根:
2x3−4x2+3x−6=0
解:
牛顿迭代法又称牛顿切线法,它采用以下的方法求根:先任意设定一个与真实的根接近的值 x0 。作为第 1 次近似根,由 x0 求出 f(x0) ,过 (x0,f(x0)) 点做 f(x) 的切线,交 x 轴于 x1 ,把 x1 作为第 2 次近似根,再由 x1 求出 f(x1) ,过 (x1,f(x1)) 点做 f(x) 的切线,交 x 轴于 x2 ,再求出 f(x2) ,再作切线……如此继续下去,直到足够接近真正的根 x∗ 为止,见图5.4。

从图5.4可以看出:
f′(x0)=f(x0)x1−x0
因此
x1=x0−f(x0)f′(x0)
这就是牛顿迭代公式。可以利用它由 x0 求出 x1 ,然后由 x1 求出 x2 ……
在本题中:
f(x)=2x3−4x2+3x−6
可以写成以下形式:
f(x)=((2x−4)x+3)x−6
同样,f′(x) 可写成:
f′(x)=6x2−8x+3=(6x−8)x+3
用这种方法表示的表达式在运算时可节省时间。例如,求 f(x) 只需要进行 3 次乘法和 3 次加法,而原来的表达式要经过多次指数运算、对数运算和乘法、加法运算,花费时间较多。
但是由于计算机的运算速度越来越快,这点时间开销是微不足道的。这是以前计算机的运算速度较慢时所提出的问题。由于过去编写的程序往往采用了这种形式,所以在此也顺便介绍一下,以便在阅读别人所写的程序时知其所以然。
答案代码:
#include <stdio.h>
#include <math.h>
int main()
{
double x1, x0, f, f1;
x1 = 1.5;
do
{
x0 = x1;
f = ((2 * x0 - 4) * x0 + 3) * x0 - 6;
f1 = (6 * x0 - 8) * x0 + 3;
x1 = x0 - f / f1;
} while (fabs(x1 - x0) >= 1e-5);
printf("The root of equation is %5.2f\n", x1);
return 0;
}
运行结果∶

为了便于循环处理,程序中只设了变量 x0 和 x1,x0 代表前一次的近似根,x1代表后一次的近似根。在求出一个x1 后,把它的值赋给x0,然后用它求下一个x1。由于第1次执行循环体时,需要对 x0 赋值,故在开始时应先对 x1 赋一个初值(今为1.5,也可以是接近真实根的其他值)。
题目15:用二分法求下面方程在(-10,10)的根:
2x3−4x2+3x−6=0
解:
二分法的思路为∶先指定一个区间 [x1,x2] ,如果函数 f(x) 在此区间是单调变化,可以根据 f(x1) 和 f(x2) 是否同符号来确定方程 f(x)=0 在 [x1,x2] 区间是否有一个实根。若 f(x1) 和 f(x2) 不同符号,则 f(x)=0 在 [x1,x2] 区间必有一个(且只有一个)实根; 如果 f(x1) 和 f(x2) 同符号,说明在[x1,x2] 区间无实根,要重新改变 x1 和 x2 的值。当确定 [x1,x2] 有一个实根后,采取二分法将 [x1,x2] 区间一分为二,再判断在哪一个小区间中有实根。如此不断进行下去,直到小区间足够小为止,见图5.5。

算法如下:
(1)输入 x1 和 x2 的值。
(2)求出 f(x1) 和 f(x2) 。
(3)如果 f(x1) 和 f(x2) 同符号,说明在 [x1,x2] 区间无实根,返回(1),重新输入 x1 和 x2 的值; 若 f(x1) 和 f(x2) 不同符号,则在 [x1,x2] 区间必有一个实根,执行(4)。
(4)求 x1 和 x2 间的中点:x0=x1+x22 。
(5)求出 f(x0) 。
(6)判断 f(x0) 和 f(x1) 是否同符号。
①如同符号,则应在 [x0,x2] 中去找根,此时 x1 已 不起作用,用 x0 代替 x1,用 f(x0) 代替 f(x1) 。
②如用 f(x0) 与 f(x1) 不同符号,说明应在 [x1,x0] 中去找根,此时 x2 已不起作用,用 x0 代替 x2 ,用 f(x0) 代替 f(x2) 。
(7)判断 f(x0) 的绝对值是否小于某一个指定的值(例如 10−5 )。若不小于 10−5 ,就返回(4),重复执行(4)、(5)、(6);若小于 10−5 ,则执行(8)。
(8)输出 x0 的值,它就是所求出的近似根。
N-S图见图5.6。

答案代码:
#include <stdio.h>
#include <math.h>
int main()
{
float x0, x1, x2, fx0, fx1, fx2;
do
{
printf("enter x1 & x2:");
scanf("%f,%f", &x1, &x2);
fx1 = x1 * ((2 * x1 - 4) * x1 + 3) - 6;
fx2 = x2 * ((2 * x2 - 4) * x2 + 3) - 6;
} while (fx1 * fx2 > 0);
do
{
x0 = (x1 + x2) / 2;
fx0 = x0 * ((2 * x0 - 4) * x0 + 3) - 6;
if ((fx0 * fx1) < 0)
{
x2 = x0;
fx2 = fx0;
}
else
{
x1 = x0;
fx1 = fx0;
}
} while (fabs(fx0) >= 1e-5);
printf("x=%6.2f\n", x0);
return 0;
}
运行结果:

题目16:输出以下图案:
*
***
*****
*******
*****
***
*
解:
答案代码:
#include <stdio.h>
int main()
{
int i, j, k;
for (i = 0; i <= 3; i++)
{
for (j = 0; j <= 2 - i; j++)
printf(" ");
for (k = 0; k <= 2 * i; k++)
printf("*");
printf("\n");
}
for (i = 0; i <= 2; i++)
{
for (j = 0; j <= i; j++)
printf(" ");
for (k = 0; k <= 4 - 2 * i; k++)
printf("*");
printf("\n");
}
return 0;
}
运行结果:

题目17:两个乒乓球队进行比赛,各出3人。甲队为A,B,C3人,乙队为X,Y,Z3人。已抽签决定比赛名单。有人向队员打听比赛的名单,A说他不和 X 比,C说他不和 X,Z比,请编程序找出3对赛手的名单。
解:
先分析题目。按题意,画出图5.7的示意图。

图5.7中带 × 符号的虚线表示不允许的组合。从图中可以看到∶①X既不与 A比赛,又不与C比赛,必然与B比赛。②C既不与X比赛,又不与Z比赛,必然与Y比赛。③剩下的只能是A与Z比赛,见图5.8。

以上是经过逻辑推理得到的结论。用计算机程序处理此问题时,不可能立即就得出结论,而必须对每一种成对的组合一一检验,看它们是否符合条件。开始时,并不知道A,B,C与X,Y,Z中哪一个比赛,可以假设∶A与i比赛,B与j比赛,C与k 比赛,即∶
A—i,
B—j,
C—k
i,j,k分别是X,Y,Z之一,且i,j,k 互不相等(一个队员不能与对方的两人比赛),见图5.9。
外循环使 i 由 'X' 变到 'Z' ,中循环使 j 由 'X' 变到 'Z'(但 i 不应与 j 相等)。然后对每一组 i、j 的值,找符合条件的k 值。k 同样也可能是 'X'、'Y'、'Z' 之一,但 k 也不应与 i 或 j 相等。在 i≠j≠k 的条件下,再把 i≠'X' 和 k≠'X' 以及k≠'Z' 的 i,j,k的值输出即可。

答案代码:
#include <stdio.h>
int main()
{
char i, j, k; // i是a的对手;j是b的对手;k是c的对手
for (i = 'x'; i <= 'z'; i++)
for (j = 'x'; j <= 'z'; j++)
if (i != j)
for (k = 'x'; k <= 'z'; k++)
if (i != k && j != k)
if (i != 'x' && k != 'x' && k != 'z')
printf("A--%c\nB--%c\nC--%c\n", i, j, k);
return 0;
}
运行结果∶

说明:
(1)整个执行部分只有一个语句,所以只在语句的最后有一个分号。请读者弄清楚循环和选择结构的嵌套关系。 (2)分析最下面一个if语句中的条件;i≠'X',k≠'X',k≠'Z',因为已事先假定 A—i,B—j,C—k,由于题目规定 A不与X对抗,因此i不能等于'X',同理,C不与X,Z对抗,因此k 不应等于'X'和'Z'。
(3)题目给的是 A,B,C,X,Y,Z,而程序中用了加撇号的字符常量'X','Y','Z',这是为什么?这是为了在运行时能直接输出字符A,B,C,X,Y,Z,以表示 3组对抗的情况。