近年来,
网络司法拍卖逐渐被人关注,
网拍的成交率、溢价率成倍增长
流拍率、降价率和拍卖成本明显下降
最大限度地保护了申请执行人的切身利益
和被执行人的合法权益
这种便捷、透明的司法拍卖模式越来越被人接受
然而
值得提醒的是
司法拍卖虽然便捷,但仍需慎重!
司法拍卖
作为法院处置被执行人财产、实现债权*权人**益的重要措施
绝不等同于一般的商业活动
亲们,不能“七天无理由退货”啊
如果当事人在知晓司法拍卖流程和规则的情况下悔拍而不交纳拍卖款
保证金说没就没了!
近日,湘潭县法院就依法审理了一起悔拍行为
没收一买受人保证金10万元
案件回顾
悔拍=痛失保证金
﹀
REC

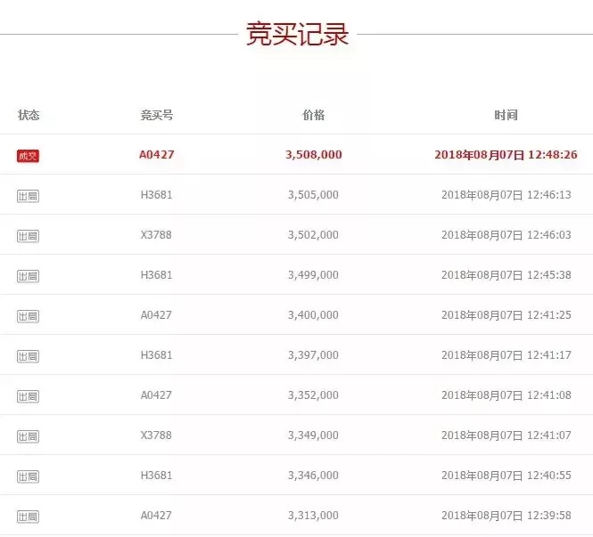
近日,湖南省湘潭县人民法院挂在司法拍卖网上的一标的物即厂房内车辆成品半成品原材料及办公设备从起拍价57万元竞拍至成交价350.8万元。然而,买受人何某悔拍,逾期未支付拍卖款。
湘潭县法院认为:开拍前对此次拍卖活动发布了《竞买公告》及《竞买须知》,其中明确提醒竞买人谨慎参拍。法院认为,竞买人何某的行为构成悔拍,裁定何某缴纳的保证金 10 万元不予退还。

因需要偿还债务,湖南一公司厂房内的车辆成品半成品原材料及办公设备等资产需变现偿还债务。该批资产经评估后,评估价格为81.463万元,湘潭县法院以评估价的70%即57.0241万元作为起拍价,增价幅度为5000元(或整倍数)挂至司法拍卖网上予以拍卖。何某等16人报名参加拍卖并分别交纳10万元保证金。拍卖当天,何某与另外两名竞拍人相继加价,使竞拍价节节攀升,直至何某出价350.8万元时落锤定音。然而,何某竞拍成功后,却未按期支付拍卖款,法院只能该标的物进行重新拍卖。因该批标的物放在厂房内,每天产生人工工资及保管等费用,故何某所交纳的10万元保证金将不予退还,用于支付拍卖所产生的费用损失及标的物放置所产生的保管费。
目前,湘潭县法院将该标的物以150万元的起拍价挂在司法拍卖网上予以重新拍卖,将保证金从10万元提高至30万元,而何某也失去了参与此次竞买的资格。
法官提醒

“
网络司法拍卖也不同于现场拍卖。网络司法拍卖中,所有拍卖环节均在网上进行,无传统实体竞拍拍卖师现场提醒风险及注意事项。竞买人所有线上活动,看似就是动动手指的事,实则已经代表参与了司法执行活动。因此,竞拍人在竞拍前务必遵照《竞买公告》的要求,进行实地看样、调查标的物信息(如过户要求、违章情况等)、了解竞买资质、委托代理及尾款支付方式等内容。如违反相关规定,所交纳的保证金可能会被法院划扣并产生其他司法处罚等后果。所以请大家理性参拍!
”

法律知识小贴士

依照《最高人民法院关于人民法院网络司法拍卖若干问题的规定》第14条第(七)项的规定,买受人悔拍后保证金不予退还。
《最高人民法院关于人民法院网络司法拍卖若干问题的规定》第24条规定,拍卖成交后买受人悔拍的,交纳的保证金不予退还,依次用于支付拍卖产生的费用损失、弥补重新拍卖价款低于原拍卖价款的差价、冲抵本案被执行人的债务以及与拍卖财产相关的被执行人的债务。
《最高人民法院关于人民法院民事执行中拍卖、变卖财产的规定》第25条规定,拍卖成交或者以流拍的财产抵债后,买受人逾期未支付价款或者承受人逾期未补交差价而使拍卖、抵债的目的难以实现的,人民法院可以裁定重新拍卖。重新拍卖时,原买受人不得参加竞买。
来一波植入,这些司法拍卖你get了吗:
案件素材来源:湘潭县人民法院
编辑:白里冰
