本农在上一篇微头条中简单介绍了一下住友电气的金属多孔体,其孔隙率达到惊人的98%,用途非常广泛。本文介绍其背后的技术,技术原理和98%的那种类似,本技术用于电解水制氢的电极,资料来源于WO2018/216322。
技术背景:
钛是具有耐腐蚀性、耐热性及比强度优良特性的金属。但是,钛的生产成本高,冶炼及加工难成为广泛利用的障碍。目前,作为利用钛及钛化合物的高耐蚀性、高强度等特性的方法之一,使用CVD(Chemical Vapor Deposition)、PVD(Physical Vapor Deposition)等的干式成膜法被一部分工业化。但是,在上述干式成膜法中,存在不能在复杂形状的基板上成膜的问题。作为能够解决该问题的钛成膜法,可以考虑在熔融盐中电析钛的方法。
例如,日本特开2015-193899号公报(专利文献1)中记载了使用在KF-KCl中添加了K2TiF6和TiO2的熔融盐浴,在Fe线的表面形成Fe和Ti的合金膜。
另外,还已知使用熔融盐浴在基材上析出高纯度钛金属的精炼方法。例如,日本特开平08-225980号公报(专利文献2)中记载了使用在NaCl浴中添加了TiCl4熔融盐浴在Ni的表面析出高纯度钛的方法
日本特开平09-071890号公报(专利文献3)中记载了使用NaCl、Na-KCl浴在钛制棒的表面析出高纯度钛的方法。
【专利文献1】日本特开2015-193899号公报
【专利文献2】日本特开平08-225980号公报
【专利文献3】日本特开平09-071890号公报
要解决的问题:
本发明一个方式的复合金属多孔体,一种具有三维网状结构骨架的复合金属多孔体。上述骨架多孔体基材覆盖上述多孔质基材表面的金属膜,上述金属膜含有钛金属或钛合金作为主要成分复合金属多孔体。
在专利文献1记载的方法中,可以使Fe和Ti的合金膜电析,但不能使金属钛膜电析。Fe和Ti的合金膜在熔融盐浴中稳定,而钛金属通过均化反应溶出到熔融盐浴中。
另外,专利文献2及专利文献3所记载的方法不是镀钛金属的方法,而是精炼的方法。即,通过专利文献2及专利文献3所记载的方法电析的钛金属为枝状,不能得到平滑的金属钛膜。
进而,例如,考虑将钛金属用于氢制造用的不溶性阳极时,通过使用表面积大的钛金属增大反应面积,可以降低电阻。为了制造表面积大的钛金属,例如可以考虑使用表面积大的基材在该基材的表面镀钛金属。作为表面积大的基材,例如可以举出具有三维网状结构的骨架的金属多孔体,但是在具有这种极其复杂的立体形状的基材的表面镀钛金属的方法是不知道的。
技术要领:

图1、 多孔金属的断面示意图
图1表示本发明的实施方式的复合金属多孔体的一例的截面放大后的放大示意图。如图1所示,复合金属多孔体10的骨架13在多孔体基材12的骨架表面形成金属膜11(以下有时称为“金属钛膜11”)形成。换言之,上述骨架13具有多孔体基材12和覆盖上述多孔质基材12的表面的金属膜11。作为构成多孔体基材12的材料,例如可以举出选自金属、合金、碳材料及导电性陶瓷中的任意一种以上的材料。(比如铝质的多孔金属表面再镀一层钛)
本发明实施方式的复合金属多孔体典型地如图1所示的复合金属多孔体10那样,骨架13的内部14为中空,但也可以如图2所示的复合金属多孔体10’那样,骨架13的内部14不为中空。例如,在使用由金属或合金形成的多孔体基材制造的复合金属多孔体的情况下,骨架的内部通常不为中空。另外,在具有三维网状结构骨架的树脂成形体(例如发泡聚氨酯等)的骨架的表面在使用通过涂布选自碳材料和导电性陶瓷中的任意一种以上的材料并使其干燥而形成的多孔体基材制造的复合金属多孔体的情况下,多数情况下,骨架的内部为中空。

图2、 非中空基体的情况
另外,复合金属多孔体10、10’具有连通气孔,由骨架13形成气孔部15。另外,复合金属多孔体10’的骨架13本身(或后述的多孔体基材90’的骨架93本身)不需要具有连通气孔。换言之,该骨架13及该骨架92本身不需要为多孔质。金属钛膜11(金属膜11)含有钛金属或钛合金作为主要成分。金属钛膜11中钛的含有率越高越好。构成复合金属多孔体10、10’的骨架13的表面的金属钛膜11中的钛的含有率只要为90质量%以上即可,优选为93质量%以上,更优选为95质量%以上,进一步优选为98质量%以上。通过钛的含有率高,金属钛膜11的耐腐蚀性提高。上述钛的含有率的上限没有特别限制,例如也可以为100质量%以下。另外,在不损害本发明的实施方式的效果的范围内,上述金属膜11也可以含有钛以外的金属或合金。其它金属和合金的实例包括镍、铝、铜、钨、钼、铬、锡或它们的合金。
本发明实施方式的复合金属多孔体,其金属膜(例如形成于骨架表面的金属钛膜)的平均膜厚为1μm以上、300μm以下。金属膜平均膜厚为1μm以上,可以充分提高复合金属多孔体的骨架的耐腐蚀性。另外,从制造成本观点出发,金属膜的平均膜厚为300μm左右以下。金属膜平均膜厚为5μm以上、200μm以下,更优选10μm以上、100μm以下,更优选为15μm以上100μm以下更优选。。
复合金属多孔体的气孔率优选为60%以上、98%以下。通过复合金属多孔体的气孔率为60%以上,可以使复合金属多孔体非常轻,另外,在将复合金属多孔体作为不溶性阳极使用的情况下,可以很好地去除气泡。另外,通过复合金属多孔体的气孔率为98%以下,可以使复合金属多孔体具有充分的强度。从这些观点出发,复合金属多孔体的气孔率更优选为70%以上、98%以下,更优选为80%以上、98%以下,进一步更优选为80%以上、96%以下。
复合金属多孔体的孔隙率由下式定义。
孔隙率=(1-(多孔材料的质量[g]/(多孔材料的体积[cm3])×材料密度[g/cm3])×100[%]
复合金属多孔体平均气孔直径为50μm以上、5000μm以下。平均孔径为50μm以上,可以提高复合金属多孔体的强度,另外,在将复合金属多孔体作为不溶性阳极使用的情况下,可以很好地去除气泡。平均孔径为5000μm以下,可以提高复合金属多孔体的弯曲性。从这些观点出发,复合金属多孔体平均气孔直径为100μm以上、500μm以下,更优选150μm以上、400μm以下,更优选280μm以上400μm以下更优选。
所谓复合金属多孔体的平均气孔直径,是指用显微镜等观察复合金属多孔体的表面,将每1英寸(25.4mm)的气孔数作为单元数进行计数,计算出平均气孔直径=25.4mm/单元数。
本发明实施方式的复合金属多孔体,其外观具有片状的形状时,上述形状的厚度优选为0.1mm以上5mm以下,更优选为0.5mm以上1.5mm以下。上述厚度例如可以通过数字六边形量规进行测定。
本发明的实施方式的复合金属多孔体,其外观优选具有片状的形状,在上述形状的厚度方向上的一侧的区域和另一侧的区域,平均气孔直径不同。在另一侧面,上述复合金属多孔体的外观具有片状的形状,从上述形状的厚度方向上的一侧的区域到另一侧的区域,平均气孔直径可以连续地变化。在另一方面,如图8所示,上述复合金属多孔体优选在比片状的复合金属多孔体20的厚度方向的中央靠上侧的区域和下侧的区域的平均气孔直径不同。
另外,复合金属多孔体的中央是指将上述形状在厚度方向上二分割时(例如大致二等分时)的边界。复合金属多孔体的平均气孔直径越大,越容易发生弯曲或压缩等变形,平均气孔直径越小,越难以变形。因此,在该厚度方向一侧的区域和另外一侧的区域(例如,比该厚度方向的中央部靠上侧的区域和靠下侧的区域)中平均孔径不同的复合金属多孔体,例如在以平均孔径大的面为内侧的方式弯曲的情况下可以使骨骼不易产生裂纹(断裂)。

图8、 厚度方向上孔隙率不同的情况
本发明的实施方式的复合金属多孔体,其外观优选具有片状的形状,在上述形状的厚度方向上的一侧的区域和另一侧的区域的单位面积重量不同。在另一侧面,上述复合金属多孔体的外观具有片状的形状,从上述形状的厚度方向上的一侧的区域到另一侧的区域,单位面积重量也可以连续地变化。在另一方面,上述复合金属多孔体在比复合金属多孔体的厚度方向的中央靠上侧的区域和下侧的区域的单位面积重量优选不同。单位面积重量是指片状复合金属多孔体的主面的表观单位面积的质量。
作为在比复合金属多孔体的厚度方向的中央靠上侧的区域和下侧的区域中单位面积重量不同的复合金属多孔体,例如,如图8所示的复合金属多孔体20那样,可以举出在比厚度方向的中央靠上侧的区域和下侧的区域中平均气孔直径不同的复合金属多孔体。另外,如图9所示的复合金属多孔体30那样,也可以举出从复合金属多孔体的一个面朝向另一个面平均气孔直径变小(或变大)的结构。在将图9所示的复合金属多孔体30弯曲成平均气孔直径大的面成为内侧的情况下,能够使骨架难以产生裂纹(断裂)。

图9、 厚度方向上孔隙率不同的搭配情况
本发明的实施方式的复合金属多孔体的外观优选具有片状的形状,在上述形状的厚度方向上的中央部的区域和比上述中央部的区域靠外侧的区域,平均气孔直径不同。
例如,如图10所示,该厚度方向上中央部的区域的平均气孔直径比中央部的区域靠外侧的区域的平均气孔直径大的复合金属多孔体40在作为不溶性阳极使用的情况下,在降低与电解液的反应电阻的同时,产生气体也难以脱离可以减小过电压。

图10、厚度方向孔隙率不同搭配情况
另外,如图11所示,该厚度方向上中央部的区域的平均气孔直径比中央部的区域靠外侧的区域的平均气孔直径小的复合金属多孔体50,在用于电解用电极的情况下,液体容易浸透到复合金属多孔体50的厚度方向的内部反应面积变宽,可以降低电阻。
在另一方面,上述复合金属多孔体的外观具有片状的形状,从上述形状的厚度方向上的中央部的区域到比上述中央部的区域靠外侧的区域,平均气孔直径也可以连续地变化。

图11、 厚度方向孔隙率不同搭配情况
例如,如图10所示,该厚度方向上的中央部的区域的单位面积重量比中央部的区域靠外侧的区域的单位面积重量小的复合金属多孔体40,在作为不溶性阳极使用的情况下,能够降低与电解液的反应电阻,同时产生气体也难以脱离,能够减小过电压。
另外,如图11所示,该厚度方向上中央部的区域的单位面积重量比中央部的区域靠外侧的区域的单位面积重量大的复合金属多孔体50,在用于电解用电极的情况下,液体容易浸透到复合金属多孔体50的厚度方向的内部反应面积变宽,可以降低电阻。
本发明实施方式的复合金属多孔体的骨架具有以多孔体基材12为基材,金属钛膜11覆盖其表面的结构。
作为构成上述多孔体基材12的材料,例如可以举出含有选自金属、合金、碳材料及导电性陶瓷中的任意一种以上的材料的材料。上述多孔体基材12为金属或合金时,优选含有镍、铝或铜作为主要成分。“作为主成分含有”是指在多孔体基材12中,镍、铝或铜的含有率为50质量%以上。多孔体基材12通过以镍、铝或铜为主要成分,成为比较轻量、具有强度优良的骨架的复合金属多孔体。
另外,在上述多孔体基材12为金属或合金的情况下,上述金属或上述合金还可以含有选自钨、钼、铬和锡中的任意一种以上的金属或它们的合金。通过多孔体基材12还含有上述金属或合金,可以提供在金属钛膜11的内侧具有耐腐蚀性或强度优良的层的复合金属多孔体10。
另外,也可以使用通过在具有三维网状结构的骨架的树脂成形体(例如发泡聚氨酯等)的骨架的表面涂布选自金属、合金、碳材料及导电性陶瓷中的任意一种以上的材料并使其干燥而得到的多孔质基材。
作为上述碳材料,例如可以举出石墨、硬碳、炭黑等。
作为上述导电性陶瓷,例如可以举出氧化铝系陶瓷等。
金属多孔体的制造工艺:
(熔融盐浴形成工序)
熔融盐浴形成工序是准备含有碱金属的卤化物和钛化合物的熔融盐浴的工序。“熔融盐浴”是指使用熔融盐的镀浴。
作为含有碱金属卤化物的熔融盐,例如可以举出KF-KCl、LiF-LiCl、LiF-NaF、LiF-NaCl、LiCl-NaF。
KF-KCl共晶熔融盐的熔点比KF单体或KCl单体的熔融盐低,而且易溶于水,因此在作为熔融盐浴使用时,可以提供水洗性优异的熔融盐浴。
另外,作为钛化合物,例如可以使用K2TiF6、TiCl2、TiCl3、TiCl4等。
例如,通过使用在KF-KCl共晶熔融盐中添加了K2TiF6的熔融盐浴进行钛金属的电镀,可以在作为阴极使用的多孔体基材的骨架的表面电析作为金属膜的金属钛膜。
KF与KCl的混合比率可以根据条件适当变更,以摩尔比计为10∶90~90∶10左右即可。在另一方面,KF与KCl的混合比例可以以摩尔比计为10∶90~45∶55,也可以为45∶55~90∶10。
通过在含有上述碱金属卤化物的熔融盐中添加K2TiF6等钛化合物,可以形成在阴极表面电析作为金属膜的金属钛膜的熔融盐浴。添加钛化合物的时机没有特别限定,可以将含有碱金属卤化物的盐和钛化合物混合后加热形成熔融盐浴,也可以在含有碱金属卤化物的熔融盐中添加钛化合物作为熔融盐浴。
使用K2TiF6作为钛化合物时,上述熔融盐浴中K2TiF6的含有率优选为0.1摩尔%以上。通过K2TiF6的含有比率为0.1mol%以上,可以形成在阴极表面电析作为金属膜的金属钛膜的熔融盐浴。上述熔融盐浴中K2TiF6的含有比率的上限没有特别限制,例如可以举出10mol%以下。
(溶解工序)
溶解工序是向通过上述熔融盐浴形成工序准备的熔融盐浴供给钛金属的工序。供给的钛金属的量只要是超过上述熔融盐浴中的Ti 4+通过下述式(1)表示的均化反应成为Ti 3+所需的最低限度的量即可。
3Ti4++Ti金属→4Ti3+式(1)
这里,上述的“必要最低限度的量”是指熔融盐浴中Ti4+的摩尔数的1/3的摩尔数。
通过在上述熔融盐浴中预先充分溶解钛金属,可以使在接下来进行的电解工序中电析的钛金属不溶解在熔融盐浴中。因此,根据本发明的实施方式的导电性材料的制造方法,能够在作为阴极使用的多孔体基材的骨架的表面形成平滑的金属钛膜(金属膜)。
供给到上述熔融盐浴中的钛金属的量更优选为上述必要最低限度量的2倍量以上,进一步优选为3倍量以上。向上述熔融盐浴供给的钛金属的量的上限没有特别限制,例如也可以为上述必要最低限度的量的120倍以下(相对于Ti 4+的摩尔数为40倍以下)。另外,例如,优选以钛金属成为不溶解于上述熔融盐浴中而沉淀的状态的方式供给钛金属。
供给的钛金属的形状没有特别限定,优选使用海绵钛或尽可能细的钛粉末等。特别是,海绵钛的比表面积大,因此容易溶解在上述熔融盐浴中,因此优选。上述海绵钛的空隙率优选为1%以上90%以下。这里,海绵钛的空隙率是指100-{(根据质量计算的体积)/(表观体积)×以100}计算。
(电解工序)
电解工序是使用设置在溶解有上述钛金属的熔融盐浴中的阴极和阳极进行熔融盐电解的工序。通过对溶解有上述钛金属的熔融盐浴进行熔融盐电解,钛金属电析,可以在作为阴极使用的多孔体基材的骨架的表面形成作为金属膜的金属钛膜。
[阴极]
如上所述,由于在阴极的表面形成作为金属膜的金属钛膜,所以作为阴极,使用具有三维网状结构的多孔体基材(例如,具有三维网状结构的骨架的片状的多孔体基材)(以下,也简称为“多孔体基材”)。

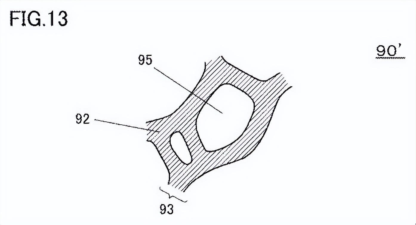
图12、 空心的多孔金属基体

图13、 聚氨酯镀金属镍的多孔金属基体
图12表示将多孔体基材的一例的截面放大的放大示意图。如图12所示,多孔体基材90的骨架93可以由选自金属、合金、碳材料及导电性陶瓷中的任意一种以上的材料92形成。多孔体基材典型地如图12所示的多孔体基材90那样骨架的内部94为中空,但也可以如图13所示的多孔体基材90’那样骨架的内部不为中空。例如,在多孔体基材由金属或合金形成的情况下,通常骨架的内部不为中空。另外,在多孔体基材是通过在具有三维网状结构骨架的树脂成形体(例如发泡聚氨酯等)的骨架的表面涂布选自金属、合金、碳材料及导电性陶瓷中的任意一种以上的材料并使其干燥而形成的,在多数情况下骨骼内部是中空的。另外,多孔体基材90、90’具有连通气孔,由骨架93形成气孔部95。
在多孔体基材90、90’的骨架93由金属或合金形成的情况下,金属或合金优选以镍、铝或铜为主成分。作为主要成分,是指在构成骨架93的金属或合金中,镍、铝或铜的含有率为50质量%以上。在另一方面,所述多孔基材90、90’可以由金属镍构成。当多孔基材90、90’的骨架93由金属或合金形成时,还可以含有选自钨、钼、铬和锡中的任意一种以上的金属或它们的合金。由此,能够提高多孔体基材90、90’的骨架93的耐腐蚀性或提高强度。
另外,为了形成纯度高的金属钛膜,可以使用在上述熔融盐浴中难以与钛合金化的金属或合金的多孔体基材。作为难以与钛合金化的金属或合金,例如可以举出钨、钼等。骨架的表面可以是钨或钼包覆的多孔基材。
作为上述碳材料,例如可以举出石墨、硬碳、炭黑等。
作为上述导电性陶瓷,例如可以举出氧化铝系陶瓷等。
作为具有三维网状结构的多孔体基材,例如,可以优选使用住友电气工业株式会社制的金属多孔体(以Ni为主要成分的金属多孔体。“金属多孔体”为注册商标)或铝多孔体(以Al为主要成分的金属多孔体。“铝多孔体”为注册商标)。另外,还可以适当获得以铜为主成分的金属多孔体或添加有其他金属元素的金属或合金。
由于在多孔体基材的骨架的表面电析作为金属膜的金属钛膜而形成复合金属多孔体,因此复合金属多孔体的气孔率及平均气孔直径分别与多孔体基材的气孔率及平均气孔直径大致相等。因此,多孔体基材的气孔率和平均气孔直径可以根据作为制造目的的复合金属多孔体的气孔率和平均气孔直径适当选择。多孔体基材的孔隙率和平均孔径定义为与复合金属多孔体的孔隙率和平均孔径相同。例如,上述多孔体基材的气孔率可以为60%以上96%以下。例如,上述多孔体基材平均气孔直径为50μm以上300μm以下。
另外,通过层叠平均气孔直径不同的多孔体基材作为阴极使用,可以在复合金属多孔体的厚度方向上的中央部的区域和比上述中央部的区域靠外侧的区域制造平均气孔直径和金属的单位面积重量不同的复合金属多孔体。在另外一方面,所述多孔体基材外观具有片状的形状,在所述形状的厚度方向上的一侧的区域和另外一侧的区域,所述多孔体基材的平均孔径不同,或者其外观具有片状的形状也可以是在上述形状的厚度方向上的中央部的区域和比上述中央部的区域靠外侧的区域中平均气孔直径不同的方式。

图14、 三维结构的发泡聚氨酯
如果不能从市场获得所需的多孔基材,则可以通过以下方法制造。
首先,具有三维网状结构的骨架的片状树脂成形体(以下,也简称为“树脂成形体”。)准备。作为树脂成形体,可以使用聚氨酯树脂、三聚氰胺树脂等。图14表示具有三维网状结构的骨架的发泡聚氨酯树脂的照片。
接着,进行在树脂成形体的骨架的表面形成导电层的导电化处理工序。导电化处理例如可以涂敷含有碳、导电性陶瓷等导电性粒子导电性涂料,或者通过非电解镀敷法形成镍及铜等导电性金属的层可以通过蒸镀法或溅射法形成铝等导电性金属的层来进行。
接着,使用在骨架的表面形成导电层的树脂成形体作为基材,进行电解镀镍、铝及铜等金属的电解镀工序。通过电解镀覆工序,可以在树脂成形体的骨架的表面形成由所希望的金属形成的层。电解镀也可以作为形成合金层的条件。另外,也可以在镀覆工序后将所希望的金属粉末涂布在骨架的表面,然后进行热处理,形成金属粉末和镀覆的金属的合金。
最后,通过进行通过热处理等除去作为基材使用的树脂成形体的除去工序,可以得到由金属或合金构成的具有三维网状结构的骨架的片状的金属多孔体(多孔体基材)。
金属多孔体的气孔率和平均气孔直径分别与作为基材使用的树脂成形体的气孔率和平均气孔直径大致相等。因此,可以根据作为制造目的的金属多孔体的气孔率和平均气孔直径适当选择树脂成形体的气孔率和平均气孔直径。树脂成形体的气孔率和平均气孔直径定义为与复合金属多孔体的气孔率和平均气孔直径相同。
另外,在多孔体基材90的骨架93的表面(骨架的外侧),难以与钛形成合金的钨或钼层的形成,例如可以通过电解镀敷法进行。
在多孔体基材骨架的表面镀钨时,通过在含有钨酸钠(Na2WO4)、氧化钨(WO3)和氟化钾(KF)的电解液中使用多孔体基材作为阴极进行电解可以在多孔体基材的骨架的表面形成钨膜。上述钨酸钠与上述氧化钨的含有比率以摩尔比计为1∶1~15∶1即可。另外,上述电解液中的上述氟化钾的含有率为1mol%以上、20mol%以下即可。
在多孔体基材骨架的表面镀钼时,在含有氯化锂(LiCl)、氯化钾(KCl)和氯化钼酸钾(K3MoCl6)的电解液中,使用多孔体基材作为阴极进行电解可以在多孔体基材的骨架的表面形成钼膜。上述电解液中的氯化钼酸钾的含有率为1mol%以上、30mol%以下即可。
[阳极]
阳极只要是导电性的材料就没有特别限定,例如可以使用玻璃碳、钛金属等。从稳定连续地制造金属钛膜的观点出发,优选将钛金属用于阳极。
[电流密度]
熔融盐电解优选以电流密度为10mA/cm2以上、500mA/cm2以下的方式进行。电流密度是指仅覆盖用作阴极的多孔体基材的每面积的电量。
通过使电流密度为10mA/cm2以上,可以防止钛离子还原为中途价数,可以有效地进行镀敷。另外,通过使电流密度为500mA/cm2以下,熔融盐浴中的钛离子的扩散不会成为限速,可以抑制形成的金属钛膜变黑。从这些观点出发,电流密度更优选为15mA/cm2以上、400mA/cm2以下,更优选为20mA/cm2以上、300mA/cm2以下,进一步更优选为25mA/cm2以上、300mA/cm2以下。
(其他条件)
进行熔融盐电解的气氛只要是非氧化性气氛即可。另外,即使在非氧化性气氛中,像氮那样形成与钛的化合物的气体由于发生金属钛膜的氮化等而不适合。例如,可以在手套箱内充满或循环有氩气等惰性气体的状态下进行熔融盐电解。
在电解工序中,熔融盐浴的温度优选为650℃以上、850℃以下。通过使熔融盐浴的温度为650℃以上,能够将熔融盐浴保持为液状,稳定地进行熔融盐电解。另外,通过使熔融盐浴温度为850℃以下
能够抑制熔融盐浴的成分蒸发而使熔融盐浴变得不稳定。从这些观点出发,熔融盐浴的温度更优选为650℃以上、750℃以下,进一步优选为650℃以上、700℃以下。
进行熔融盐电解的时间没有特别限定,只要进行充分形成目标金属钛膜的时间即可。
在电解工序之后,也可以通过水洗形成有金属膜的复合金属多孔体,除去附着在金属膜表面的盐等。
碱性电解水制氢应用的注意事项:
在基于碱水电解方式氢的制造方法中,复合金属多孔体从上面观察时(例如,从复合金属多孔体的外观为片状时的主面侧观察时)的平均气孔直径为100μm以上、5000μm以下。从上方观察复合金属多孔体时平均气孔直径为100μm以上,可以抑制产生的氢及氧的气泡堵塞在复合金属多孔体的气孔部中,水与电极的接触面积变小。另外,从上方观察复合金属多孔体时平均气孔直径为5000μm以下,电极的表面积变得足够大,可以提高水的电解效率。从同样观点出发,从上方观察复合金属多孔体时的平均气孔直径为400μm以上、4000μm以下更优选。
复合金属多孔体的厚度及金属的单位面积重量在电极面积变大时成为挠曲等的原因,因此可以根据设备的规模适当选择。金属的单位面积重量优选为200g/m2以上、2000g/m2以下左右,更优选为300g/m2以上、1200g/m2以下左右,进一步优选为400g/m2以上、1000g/m2以下左右。为了兼顾气泡的脱落和表面积的确保,也可以组合使用具有不同平均孔径的多个复合金属多孔体。
酸性电解水制氢应用的注意事项:
通过在固体高分子电解质膜的两面配置阳极和阴极,在阳极侧一边使水流动一边施加电压,使通过水的电解产生的氢离子通过固体高分子电解质膜向阴极侧移动,在阴极侧作为氢取出的方式。换言之,PEM方式是在固体高分子电解质膜的两侧配置上述复合金属多孔体,使上述固体高分子电解质膜与上述复合金属多孔体接触,使各个上述复合金属多孔体作为阳极及阴极发挥作用,向上述阳极侧供给水进行电解在上述阴极侧产生氢,取出方式。工作温度为100℃左右。与用氢和氧发电排出水的固体高分子型燃料电池以同样的结构进行完全相反的动作。由于阳极侧和阴极侧完全分离,因此具有能够取出纯度高的氢的优点。由于阳极和阴极都需要使电极透过而使水和氢气通过,所以电极需要导电性的多孔体。
由于本发明的实施方式的复合金属多孔体具有高的气孔率和良好的导电性,因此,与能够适用于固体高分子型燃料电池一样,也能够适用于PEM方式的水电解。在基于PEM方式氢的制造方法中,复合金属多孔体从上方观察时的平均孔径为150μm以上、1000μm以下。从上方观察复合金属多孔体时平均气孔直径为150μm以上,可以抑制产生的氢及氧的气泡堵塞在复合金属多孔体的气孔部中,水与固体高分子电解质膜的接触面积变小。另外,从上方观察复合金属多孔体时平均气孔直径为1000μm以下可以确保充分的保水性,抑制反应前水通过,可以有效地进行水的电解。从同样观点出发,从上方观察复合金属多孔体时的平均气孔直径为200μm以上、700μm以下,更优选300μm以上、600μm以下更优选。
复合金属多孔体的厚度及金属的单位面积重量可以根据设备的规模适当选择,但如果气孔率过小,则用于使水通过的压力损失变大,因此优选调整厚度和金属的单位面积重量,使气孔率为30%以上。另外,在PEM方式中,由于固体高分子电解质膜与电极的导通成为压接,所以需要调节金属的镀附量,使加压时的变形及蠕变引起的电阻增加在实用上没有问题的范围内。金属的单位面积重量优选为200g/m2以上、2000g/m2以下左右,更优选为300g/m2以上、1200g/m2以下左右,进一步优选为400g/m2以上、1000g/m2以下左右。另外,为了确保气孔率和电连接的兼顾,也可以组合使用具有不同平均气孔直径的多个复合金属多孔体。
固体电解质电解水制氢应用的注意事项:
使用固体氧化物电解质膜电解水的方法,根据电解质膜是质子传导膜还是氧离子传导膜,构成不同。在氧离子传导膜中,由于在供给水蒸气的阴极侧产生氢,所以氢纯度下降。因此,从氢制造的观点出发,优选使用质子传导膜。
通过在质子传导膜的两侧配置阳极和阴极,在阳极侧导入水蒸气的同时施加电压,使由水的电解产生的氢离子通过固体氧化物电解质膜向阴极侧移动,在阴极侧仅取出氢。换言之,上述[3]SOEC方式是在固体氧化物电解质膜的两侧配置上述复合金属多孔体,使上述固体氧化物电解质膜与上述复合金属多孔体接触,使各自的上述复合金属多孔体作为阳极及阴极发挥作用,向上述阳极侧供给水蒸气,使水电解在上述阴极侧产生氢,取出方式。工作温度为600℃以上、800℃以下左右。与用氢和氧发电排出水的固体氧化物型燃料电池以同样的结构进行完全相反的动作。
由于阳极和阴极都需要使电极透过而使水蒸气和氢气通过,所以电极需要导电性且特别是在阳极侧承受高温氧化气氛的多孔体。本发明的实施方式的复合金属多孔体由于具有高的气孔率、良好的导电性、高的抗氧化性及耐热性,因此,与能够适用于固体氧化物型燃料电池一样,也可以适用于SOEC方式的水电解。对于成为氧化性气氛一侧的电极,要求高的耐氧化性,因此优选使用含有钛或钛合金的复合金属多孔体。
在基于SOEC方式氢的制造方法中,复合金属多孔体从上方观察时的平均气孔直径为150μm以上、1000μm以下。从上方观察复合金属多孔体时平均气孔直径为150μm以上时,可以抑制水蒸气及产生的氢堵塞在复合金属多孔体的气孔部而使水蒸气与固体氧化物电解质膜的接触面积变小。另外,从上方观察复合金属多孔体时
均气孔直径为1000μm以下,可以抑制压损过低,在水蒸气充分反应之前穿过。从同样观点出发,从上方观察复合金属多孔体时的平均气孔直径为200μm以上、700μm以下,更优选300μm以上、600μm以下更优选。
复合金属多孔体的厚度及金属的单位面积重量可以根据设备的规模适当选择,但气孔率过小时用于投入水蒸气的压力损失变大,因此优选调整厚度和金属的单位面积重量,使气孔率为30%以上。另外,在SOEC方式中,由于固体氧化物电解质膜与电极的导通成为压接,所以需要调节金属的单位面积重量,使得加压时的变形及蠕变引起的电阻增加在实用上没有问题的范围内。金属的单位面积重量优选为200g/m2以上、2000g/m2以下左右,更优选为300g/m2以上、1200g/m2以下左右,进一步优选为400g/m2以上、1000g/m2以下左右。另外,为了确保气孔率和电连接的兼顾,也可以组合使用具有不同平均气孔直径的多个复合金属多孔体。
效果:

图15、 耐生理盐水腐蚀的能力
结果如图15所示。作为实施例的镀Ti品与作为比较例的Ni的多孔体相比,腐蚀电流密度被抑制得较低,在生理盐水的环境中显示出稳定。从该结果可知,作为实施例的镀Ti品(本实施例的金属多孔体)适合作为生物材料。另外,作为金属多孔体的上述镀Ti品与作为比较例的Ti的金属板相比,腐蚀电流密度被抑制得较低。结果表明,采用金属多孔体而不是金属板的结构进一步提高了生理盐水对环境的稳定性。

图16、 耐海水腐蚀的能力
从图16的结果可知,作为实施例的镀Ti品与作为比较例的Ti市售品相比,电流密度被抑制得较低,对海水显示出高的耐腐蚀性。发现作为实施例的镀Ti品(本实施例的金属多孔体)也有望作为食盐电解用的不溶性阳极。

图17A、燃料电池环境腐蚀电流对比

图17B、燃料电池环境腐蚀电流对比
从图17A及图17B的结果可知,作为实施例的镀Ti品(本实施例的金属多孔体)与作为比较例的Ni比较用相比,电流密度被抑制得较低,作为固体高分子型燃料电池中使用的电极材料是有希望的。