国内高考 重本分数线各个省份并不一致 , 各个年份也有所不同,一般均在 500 分以上,个别省份超过 600 分; 普本分数线一般会比重本线下调50~100分不等 。
华侨生联考 普通类院校(专业)文史、理工类: 300分 (部分院校执行400分)。艺术类院校(专业)文史、理工类: 200 分。体育类院校(专业)文史、理工类:200分。
大部分985名牌院校最低分数线 为400 分,但是并不能说 400 分就可以考上这些名牌大学,越好的大学竞争力也更大。比如 东南大学 2022年最低理科最低分 528分 ,文科最低为 545分 。
招生华侨生联考最多的暨南大学 ,此学校本科各专业最低录取分数线为4科总分不低于 350 分。医学类专业需加试生物科,且生物科成绩不低于90分。艺术类、体育类专业最低录取分数线为4科总分不低于250分。
211名校 — 南昌大学, 2022年,华侨生联考文科分数线上升到了 403 分,理科分数线上升到了 394 分。
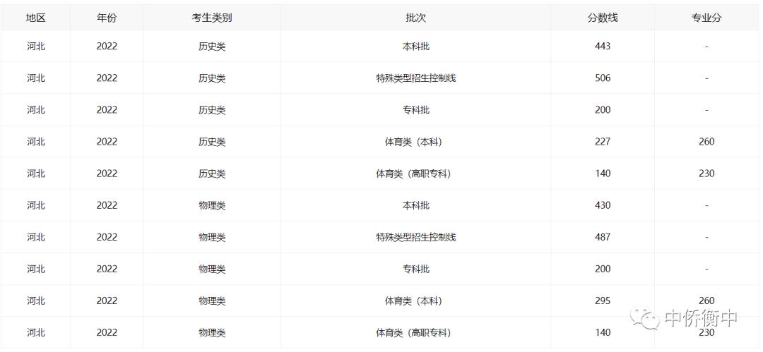
那么河北高考生400分能上什么层次的学校呢?很抱歉,400分 连本科线都达不到 。

河北考生400左右可以选择的部分院校名单如下:


再来对比一下华侨生联考本科最低录取分数为300分的院校名单如下

是选择400+上一所专科院校,还是换一种途径上一所不错的本科。我相信很多人心中已经有了明确地答案。
欢迎大家留言咨询。