在实际的生活中,你是否会遇到这样一种窘境?看到一个元器件,却是不知道,这是什么东西?不用担心,小编今天,让你一下子了解所有的常用元器件,
电阻实物图展示

插件色环电阻

光敏电阻

色环电阻

贴片电阻

黑色的是热敏电阻

金属

碳膜电阻

大功率刹车电阻

贴片电阻

压敏电阻

阻值表
电容实物图展示:

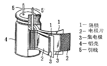
电解电容结构图

电解电容

音频专用电源

CBB电容

启动电容

贴片电容

贴片电容

各种电容

电解电容
电位器实物图展示:

电位器

电位器

电位器

电位器

电位器


电位器
二极管实物展示:

发光二极管

普通二极管

稳压二极管
三极管实物展示:

三极管

三极管

功率三极管

三极管
光电耦合器实物展示:

光耦

光耦

光耦
继电器实物展示

继电器

继电器
马达实物展示:

直流电机

电机转子

交流马达

直流马达

直流电机

马达电刷
由于时间关系,暂时先分享这一些,如果对电子感兴趣,可以关注作者,技术男带你学习电子。如果想了解更多学习方式,请发送私信“学习方式”就可以获得回答。感谢大家的支持,祝大家生活愉快,万事如意。