编者按:新冠疫情席卷全国,成为国难。我于夲年初申请的2022100626244发明,以旋磁与拔罐两种方式,并从寒湿的内因上,提出了有效的缓解办法。小型机己试用,文件虽较石材专业有点距离,但也以能量矿物较贴近,或许这是一种缓解新冠的物理办法。
新冠疫情可减化成寒湿(内因)十病毒(外因)的模式,外因通过内因起作用。十人九寒(湿),多数人必受病毒感染。拔罐(火罐),是古老的中医祛除寒湿办法,是以火引火而释放火气的能量,进而减轻病痛。配合以刮莎,艾灸,中药泻毒,构成中医的诊疗体系。中药的泻毒,特别是针对靑少年的排泻方法,与常规泻毒的时机不同。
旋磁十拔罐,是本人十年钻研的成果,活血化瘀,疏通经络,是中医治病的根本方法!
摘要
本发明提供旋磁与拔罐组合理疗装置。装置结构为床体上设置若干旋磁单元,对应人体腿部和背部的旋磁单元水平设置,对应人体腰部的旋磁单元倒V形设置,围绕旋磁单元设置若干加热器,床体上方整体覆盖环氧板,环氧板上通过石墨烯胶覆盖玉石板,倒V形旋磁单元上方配合腰用磁垫使用,并配合火罐使用,火罐通过火罐控制器在人体表面抽放吸附。本发明利用旋磁、玉石、石墨烯、供氧、负离子、远红外线和低能射线的诸多能量,对人体产生深层次且全面的保健效果。

权利要求书
1、旋磁与拔罐配合理疗的装置,其特征在于,包括旋磁组件,腰用磁垫,和拔罐组件,
所述旋磁组件包括床体和旋磁单元,
所述旋磁单元安装在安装板上,包括主旋转盘和若干副旋转盘,并组成矩阵,所述主、副旋转盘包括转盘底板、中心斜台、若干永磁环,所述中心斜台设置在转盘底板中心,所述中心斜台内设置轴承,若干永磁环以中心斜台为中心阵列在转盘底板表面,所述永磁环N极向上,所述转盘底板圆周设置有挡圈,所述挡圈与中心斜台之间空隙用石墨烯胶填充,所述主旋转盘通过电机驱动,所述副旋转盘通过转轴旋转设置在安装板上,
所述床体尾端对应设置定位磁环,
所述床体上设置有安装板,用于固定转盘底板,相邻的两个转盘底板间距为6-9mm,对应人体腿部和背部的安装板水平设置,对应人体腰部的安装板为倒V形设置,与水平面夹角为10-30°,所述床体上围绕旋磁单元周边设置若干加热器,所述床体上方通过支撑管整体覆盖环氧板,所述环氧板上通过石墨烯胶覆盖有玉石板,
所述腰用磁垫与下方的倒V形设置的副旋转盘配合起间接的导磁作用,所述腰用磁垫内部设置有若干垫用磁片,所述垫用磁片N极向下,所述垫用磁片下方填充药包,上方通过石墨烯胶覆盖玉石板,
所述拔罐组件包括抽气泵和若干个火罐,所述火罐与抽气泵连接,所述抽气泵以接近于人体心脏跳动的频率对人体进行间隙的负压吸附。
2、根据权利要求1所述的旋磁与拔罐配合理疗的装置,其特征在于,所述转盘底板内均匀设置三个或四个永磁环。
3、根据权利要求1所述的旋磁与拔罐配合理疗的装置,其特征在于,还包括玉磁枕,所述玉磁枕包括枕形框,若干枕用磁片、若干旋转杆、若干转轴,所述枕形框均匀固定连接若干立轴,若干立轴底部通过钢带连接,立轴上设置有轴承,轴承外周上布置三根水平旋转杆,相邻旋转杆角度为120°,所述旋转杆端头上下各固定一块枕用磁片,所述旋转杆通过床体上旋磁单元产生的磁力耦合作用或者微型电机进行传动,所述枕形框外表面套装穿联的玉石板壳体,所述玉石板壳体与枕形框两端的空隙内填充药包。
4、根据权利要求1所述的旋磁与拔罐配合理疗的装置,其特征在于,还包括玉磁联板,所述玉磁联板由背面粘结联板磁片的若干玉石板通过细绳穿联而成的方形板,用于紧贴人体不适部位。
5、根据权利要求1所述的旋磁与拔罐配合理疗的装置,其特征在于,石墨烯胶是用高聚物、30-60目的水晶、独居石、100-600目电气石、200-800目透闪石、50—200微米石墨烯,按15-30:20::5:5:35重量份搅拌而成,高聚物是双组分环氧树脂或不饱和树脂及固化剂通过超声波振荡器搅拌形成。
6、根据权利要求1所述的旋磁与拔罐配合理疗的装置,其特征在于,所述玉石板的材料为蛇纹玉、闪石玉、硅质玉、翡翠、叶腊石、能量陶瓷中的一种或若干种的组合。
7、根据权利要求1所述的旋磁与拔罐配合理疗的装置,其特征在于,所述玉磁枕中的药包为柏子仁、酸枣仁、决明子、艾草段,按1:1:1:3的重量份配置而成,所述腰用磁垫中的药包为独活、柴胡、当归、和艾草按3:1:1:3的重量份配置而成。
说明书
技术领域
本发明属于保健及康复技术领域,特别是涉及旋磁与拔罐配合理疗的装置。
背景技术
随着人们的健康理念不断增强,相关技术的不断提高,出现了类似旋磁机的大型疗愈设备,但其单头转盘体积庞大且价格昂贵,不能满足大众的健康需求。根据我国传统的中医理论、气血原理、经络学、阴阳学、五行学及全息论的辩证关系,罐疗器具可实施全方位的诊病治疗。ZL2018106281562的一种玉磁陀螺型理疗器,解决了不用齿轮传动而用耦合磁力进行传动的问题,尤其用玉石作为贴身器具给我们一种很好的启示,但玉的使用只有利用热量效果才更佳。ZL2021200886450的一种组合型旋转磁场理疗床,用一个主旋转盘与1-3个副旋转盘的直线排列结构,利用磁力耦合的传动方式,不仅简化了结构,且产生节电效应,但在起动时若形成四角对置则难以顺利起动,如果将旋转盘个数扩大到6—60个,从中医角度看更有通经络的益处。现行技术中床面的组合旋磁平行相对结构对腰部的作用力偏弱,还存在单面作用及器具独立使用的不足。
发明内容
本发明目的是提供旋磁与拔罐组合理疗装置,通过旋磁组件产生的旋转磁场与人体表面的拔罐配合作用,进行理疗。
本发明提供旋磁与拔罐配合理疗的装置,包括旋磁组件,腰用磁垫,和拔罐组件,所述旋磁组件包括床体和旋磁单元,所述旋磁单元安装在安装板上,包括主旋转盘和若干副旋转盘,并组成矩阵,所述主、副旋转盘包括转盘底板、中心斜台、若干永磁环,所述中心斜台设置在转盘底板中心,所述中心斜台内设置轴承,若干永磁环以中心斜台为中心阵列在转盘底板表面,所述永磁环N极向上,所述转盘底板圆周设置有挡圈,所述挡圈与中心斜台之间空隙用石墨烯胶填充,所述主旋转盘通过电机驱动,所述副旋转盘通过转轴旋转设置在安装板上,所述床体尾端对应设置定位磁环,所述床体上设置有安装板,用于固定转盘底板,相邻的两个转盘底板间距为6-9mm,对应人体腿部和背部的安装板水平设置,对应人体腰部的安装板为倒V形设置,与水平面夹角为10-30°,所述床体上围绕旋磁单元周边设置若干加热器,所述床体上方通过支撑管整体覆盖环氧板,所述环氧板上通过石墨烯胶覆盖有玉石板,所述腰用磁垫与下方的倒V形设置的副旋转盘配合起间接的导磁作用,所述腰用磁垫内部设置有若干垫用磁片,所述垫用磁片N极向下,所述垫用磁片下方填充药包,上方通过石墨烯胶覆盖玉石板,所述拔罐组件包括抽气泵和若干个火罐,所述火罐与抽气泵连接,所述抽气泵以接近人体心脏跳动的频率对人体进行间隙的负压吸附。
进一步的,所述转盘底板内均匀设置三个或四个永磁环。
进一步的,还包括玉磁枕,所述玉磁枕包括枕形框,若干枕用磁片、若干旋转杆、若干转轴,所述枕形框均匀固定连接若干立轴,若干立轴底部通过钢带连接,立轴上设置有轴承,轴承外周上布置三根水平旋转杆,相邻旋转杆角度为120°,所述旋转杆端头上下各固定一块枕用磁片,所述旋转杆通过床体上旋磁单元产生的磁力耦合作用或者微型电机进行传动,所述枕形框外表面套装穿联的玉石板壳体,所述玉石板壳体与枕形框两端的空隙内填充药包。
进一步的,还包括玉磁联板,所述玉磁联板由背面粘结联板磁片的若干玉石板通过细绳穿联而成的方形板,用于紧贴人体不适部位。
进一步的,石墨烯胶是用高聚物、30-60目的水晶、独居石、100-600目电气石、200-800目透闪石、50—200微米石墨烯,按15-30:20::5:5:35重量份搅拌而成,高聚物是双组分环氧树脂或不饱和树脂及固化剂通过超声波振荡器搅拌形成。
进一步的,所述玉石板的材料为蛇纹玉、闪石玉、硅质玉、翡翠、叶腊石、能量陶瓷中的一种或若干种的组合。
进一步的,所述玉磁枕中的药包为柏子仁、酸枣仁、决明子、艾草段,按1:1:1:3的重量份配置而成,所述腰用磁垫中的药包为独活、柴胡、当归、和艾草按3:1:1:3的重量份配置而成。
本发明具有如下有益效果:(1)采用矩阵式旋转磁场通过磁力耦合作用传动形成,简化了传动结构、降低了耗电及造价;(2)对床体、玉磁枕及腰用磁垫加热,当人体平卧在床体表面与玉石板密切接触时,利用石墨烯与玉石板在加热条件下产生的远红外线和低能射线对人体产生深层次的活血化瘀功效,凸起的腰用磁垫可对腰部产生更好的理疗效果;(3)对人体上面及侧面进行的负压拔罐,利用罐体内的供氧及负离子作用,对疏通经络也有较好的效果;(4)玉磁枕与腰用磁垫,既可与床体上的旋磁单元配合使用,也可在夜间睡眠时独立使用;(5)玉磁联板中玉石板配合石墨烯胶粘结的联板磁片利用人的体温加热产生保健功效;(6)本发明充分利用了旋磁、热量、玉石、石墨烯、供氧、负离子、远红外线和低能射线的诸多能量,能够产生深层次且全面的保健效果。本发明操作简便,用途广泛,适用于诊所及康养中心使用,具有较全面的理疗效果。
附图说明
图1、旋磁与拔罐配合理疗的装置结构图。
图2、旋磁与拔罐配合理疗的装置侧视图。
图3、玉磁枕结构示意图。
图4、玉磁联板结构示意图。
图5、腰用磁垫结构示意图。
具体实施方式
为能清楚说明本方案的技术特点,下面通过具体实施方式,并结合其附图,对本方案进行阐述。
实施例1
如图1-5所示,一种旋磁与拔罐配合理疗的装置包括旋磁组件,包括旋磁组件、腰用磁垫29、拔罐组件、玉磁枕17、玉磁联板。
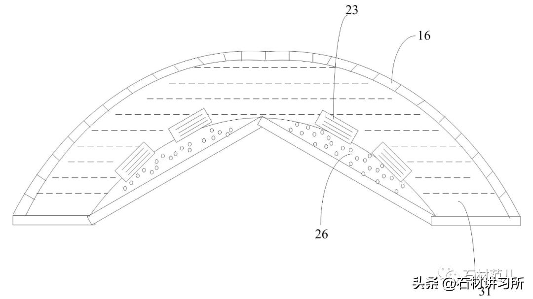
如图1和2所示,旋磁组件包括床体和旋磁单元,旋磁单元包括一个主旋转盘2和十一个副旋转盘7,一共十二个旋转盘分两列设置在床体表面,构成矩阵结构。主、副旋转盘的结构均相同,包括转盘底板5、中心斜台4、永磁环6。转盘底板5中心设置中心斜台4,四个永磁环6以中心斜台4为中心阵列在转盘底板5表面,相邻两个永磁环6间隔90度,床体尾端对应设置定位磁环12,定位磁环12与相邻的旋转盘中的永磁环6静态时形成三角对置。永磁环6材料为N52钕铁硼磁环,外径为40mm,厚度50mm,放置方向为 N极向上。转盘底板5圆周设置有挡圈3,转盘底板5和挡圈3采用碳钢车制,厚度均为3mm,挡圈3与中心斜台4之间空隙用石墨烯胶31填充,中心斜台4中心设置通孔,通孔内设置轴承9,主旋转盘2通过电机10驱动,主旋转盘2的中心斜台4与电机10的输出轴配合紧固连接,电机10与变频器15连接,电机10为400W,4极的交流电机,副旋转盘7通过转轴旋转设置在安装板11上。
床体包括方钢结构的床架1,床架1的支腿内侧焊装缓冲器8对安装板11进行弹性支撑,缓冲器8为胶垫或弹簧。床体上设置8mm厚度的304不锈钢作为安装板11,用于固定转盘底板5,相邻的两个转盘底板5间距为6mm,对应人体腿部和背部的安装板11水平设置,对应人体腰部的安装板11为倒V形设置,与水平面夹角为10-30°。倒V形设置的安装板11可用两端转轴,中间为顶杆的方式进行上下调节。
各旋转圆盘利用中心斜台4,转盘底板5和挡圈3构成导磁回路,并用N极在上的磁力线进行相互的磁力耦合,随同变频电机10进行同步运转,并在定位磁环12的定位作用下,可以避免起动时的四角对置而顺利起动。对应腰部的副旋转盘7采用倾斜一定角度的方式设置,已脱离了平行相对的磁力耦合传动,利用中部凸起的腰用磁垫29间接的磁力线传递,仍能进行可靠的同步传动。
床体上围绕旋磁单元周边设置若干加热器25,加热器25与单相电源连接,用石墨烯胶31对加热器定位及抹平。床体上方通过不锈钢支撑管14整体覆盖环氧板13,并使得主副旋转盘中的永磁环6与环氧板13之间保持3-6mm的间隙,环氧板13厚5mm,环氧板13上表面通过石墨烯胶31逐块粘结玉石板16,并使整个玉石板表面水平,玉石板面为蛇纹玉、闪石玉、硅质玉、翡翠、叶腊石、能量陶瓷的三种以上的材料间隔设置而成,构成远红外辐射体系。采用水晶、独居石、精铁粉、石墨烯、透闪石的碎粒及石粉制作的高聚石墨烯胶,同样在热量激发下,能够在独居石为主导,联动水晶、石墨烯、透闪石形成以远红外线为主导的能量扩散系统,多种矿物在受热发生的振动波,与人体的振动波接近同频率,对机体能产生十分有益的保健效果。
如图2所示,腰用磁垫29安装在床体表面上,对应倒V型安装板11顶部设置,腰用磁垫29与下方的倒V形设置的副旋转盘7配合起间接的导磁作用。腰用磁垫29 是用石墨烯胶31模压成厚度为20—35mm的马鞍形体,内部以N极向下设置若干个垫用磁片23,形成旋浮力,并在垫用磁片23下填充药包26,马鞍形体外表覆盖玉石板16。
拔火罐为手动抽拉器具,利用手动握力在人体表面负压贴敷2-8个透明的杯口,负压接近-80kpa。
玉磁联板是选取岫玉、闪石玉方板、叶腊石、能量陶瓷四种材料中的二种或两种以上加工成边长3X6cm、厚度为5mm的玉石板16,玉石板16表面粘贴1-4个联板磁片22,其后在板面四周和背面涂刷0.5-1mm厚度的石墨烯胶31进行强化,玉石板16四角处钻孔,将2片或3片玉石板16用绳27穿联而成。
玉磁枕17包括木质的枕形框20,若干枕用磁片18、旋转杆19、转轴,枕形框20内均匀固定连接两个立轴,两个立轴底部通过不锈钢材质的钢带24连接,立轴上设置有轴承9,轴承9外围上布置三根水平的旋转杆19,相邻旋转杆19角度为120°,旋转杆19端头上下各固定一块枕用磁片18,形成双联结构。枕形框20外表面套装利用穿联的玉石板16制作的壳体,壳体与枕形框20两端的空隙内填充药包26。药包26内装粒径为2-8mm的中医用颗粒,具体用柏子仁、酸枣仁、决明子、艾草段,按1:1:1:3的重量份配置。
如图1所示,当两列旋磁盘的轴承间距K1与玉磁枕17两端的轴承间距K2相等时,在玉磁枕17与相邻旋转盘的间距小于30mm时,利用与玉磁枕17相邻的旋转盘的磁力耦合作用对枕用磁片18进行联动,使得旋转杆旋转。床体端头设置挡板30,避免玉磁枕17移动。
玉磁枕17两端的药包在加热器25的加热下产生助眠等保健作用。用于制作玉石板16的矿物方板,在加热器25的一定热量激发下,产生保健的功效。当主、副旋转盘同步旋转于高速状态,转盘底板5与其下面的安装板11的距离为5-10mm时,因转盘底板5漏磁,安装板11中因磁生电会产生若干环流,从而产生微量的致热作用。
本发明旋磁与拔罐配合理疗的装置的使用步骤是:一、用变频器15以0.5-1Hz频率起动电机10,使主旋转盘2转动,再以5-20转/秒的速度升速至1000-2900转/分,在平行传动与曲折传动及磁力耦合作用下,安装板11上的十一个副旋转盘7和玉磁枕内的枕用磁片18转动,在床体上设置的12个旋转磁盘产生的对旋作用下,床体表面形成1000-3000高斯的旋磁作用于人体;二、用加热器25对床体、玉磁枕17、腰用磁垫29表面的玉石板16进行加温,温度为42-50℃,加温后的玉石板16产生的远红外线作用于人体;三、人体平卧于床体,头部枕在玉磁枕17上,腰部垫放腰用磁垫29,用口径为3-10cm的多个透明拔火罐对人体进行机体的负压吸附,负压接近-80kpa,进行20-60分钟的前期理疗;四、将玉磁联板紧贴人体不足部位,以其内表面300-800高斯的磁感紧贴机体产生疗愈效果,时长为2-8小时。
实施例2
本实施例与实施例1的区别在于,床体上的旋磁单元包括一个主旋转盘2和五个副旋转盘7,六个旋转盘沿床体中线单列排布,主旋转盘2设置在床体最左端,床体右端设置定位磁环12,与相邻的副永磁盘中的永磁环6构成三角形对置,利于主旋转盘2与副旋转盘7的顺利起动,避免四角对置的情况发生。主、副旋转盘的转盘底板5内设三个永磁环6,相邻的永磁环6间隔120度设置。转盘底板5用碳钢车制,外径为190mm、中心斜台4的高度为30mm,转盘底板5与挡圈的厚度均为4mm,相邻旋转盘挡圈3的间距为9mm。
玉磁枕17内设置一个或者三个由立轴和旋转杆组成的旋转体,形成单联或三联结构,利用床体表面N板向上的磁力线与玉磁枕17内N极向下的磁力线进行相斥的联动。
腰用磁垫29设置在床体中部,对应人体腰部位置。如图5所示,腰用磁垫用石墨烯胶聚合成厚度为20—30mm的凹形框体,框体内部设置垫用磁片23,框体外表面覆盖玉石板16,框体与玉石板16之间的空隙中填充药包26而成扁圆形。药包26内的中药颗粒是用独活、柴胡、当归、和艾草按3:1:1:3的重量份配置,在加热器25的作用下对腰部产生熏蒸作用。
腰用磁垫29用石墨烯材料产生的远红外线对腰部产生复位及理疗作用,石墨烯胶31是用高聚物、30-60目的水晶、独居石、100-600目电气石、200-800目透闪石、50—200微米石墨烯,按15-30:20::5:5:35重量份搅拌而成,高聚物是双组分环氧树脂或不饱和树脂及固化剂通过超声波振荡器搅拌形成。在热量激发下,能够在独居石为主导,联动水晶、石墨烯、透闪石形成以远红外线为主导的能量扩散系统,多种矿物在受热发生的振动波,与人体的振动波接近同频率,对机体能产生十分有益的保健效果。
拔罐组件是将4-8个杯放置于人体对应位置;用抽气泵28以接近于心脏跳动的频率对人体进行间隙的负压吸附,能产生上面拔罐下面旋磁两面对人体均有作用的独特效果。
如图4所示,玉磁联板用三块玉石板16穿联形成,并用石墨烯胶对非人体接触面进行0.5-0.8mm厚度的涂刷形成强化层。
本发明符合全息的中医理论,以全身的旋磁,玉磁枕、腰用磁垫、人体表面的火罐以及多种矿物能量,产生较全面及综合的理疗效果。
实施例3
本实施例与实施例1的区别在于,床体上的旋磁单元包括一个主旋转盘2和三十一个副旋转盘7,三十二个旋转盘按四列八行排列成长方形矩阵,主旋转盘2的位置可任意设置,床体端头设置定位磁环12,静态时与相邻旋转盘中的永磁环6形成的三角对置。
玉磁枕17可作为独立器具使用,在玉磁枕内设置微型电机进行三联或四联的耦合传动,也可配合腰用磁垫29在夜间使用。如图3所示,玉磁枕17的制作方法是:采用30X2mm的不锈钢制条带24,分成二段或三段对三个或四个立轴进行固接,立轴上设置轴承9,轴承9沿周向均匀设置三根水平的旋转杆19,枕用磁片18是用外径20-30mm,厚度是5-8mm的钕铁硼圆环,利用铆钉及胶粘工艺固装在旋转杆19的上下端头,枕用磁片18采用N 极向下、串联的方式设置,用木质或环氧树脂板制成枕形框20,将由立轴和旋转杆19组成的旋转体紧固于枕形框20之中,在壳体20两端设置加热器25,并用玉石板16穿联成枕形框20的外包装并对其包裹;采用柏子仁、酸枣仁、决明子和艾草制作药包26,填充于玉磁枕17两端头内,利用电热器25进行微量熏蒸理疗。
旋转体采用200-800转/分的低速微型电机21,以低频的0.5-1Hz频率进行起动,而后加速至设定转速,或用六个或八个带有铁心的电感线圈,对其进行六或八节拍的脉冲控制而产生旋转磁场,从而对倾斜设置的枕用磁片18进行磁力耦合传动,其旋转半径为4-6cm。
玉磁枕17与腰用磁垫29可作为独立器具在夜间放于床上使用。玉磁枕17的旋转作用宜保持30-120分钟,腰用磁垫29可大于120分钟长时间使用,两者外表面的磁感强度保持在200-600高斯。本发明符合中医的全息调治方法。
尽管已结合优选的实施例描述了本发明,然而并非用以限定本发明,任何本领域技术人员,在不脱离本发明的精神和范围的情况下,能够对在这里列出的主题实施各种改变,同等物的置换和修改,因此本发明的保护范围当视所提出的权利要求限定范围为准。

图1

图2

图3

图4

图5
全文完
原创作者:刘建平,根据作者授权整理
END