了解更多信息,请登录 煤矿用产品安全标志(MA煤安认证/KA矿安认证)--【上海奔烁咨询】 官网
一、煤安MA认证产品目录
1. 电气设备
1.1高、低压电气
隔爆型负荷开关
隔爆型馈电开关
隔爆型小型开关(包括:行程、转换、插销等)
隔爆型移动变电站
隔爆型干式变压器
隔爆型配电装置
隔爆型电控装置
隔爆型电磁起动器
隔爆型控制按钮
防爆电源断电器
隔爆型接线盒
防爆电缆连接器
隔爆型功率补偿装置
隔爆型充电装置
1.2 防爆电机
隔爆型交流电动机
隔爆型直流电动机
防爆发电机
1.3 矿用泵
潜水电泵
煤水泵
泥浆泵
渣浆泵
清水泵
1.4 综合保护装置
隔爆型检漏继电器
隔爆型电气综合保护装置
1.5 其它防爆电器
隔爆型电度表
磁性传感器
激光指向仪
隔爆型电磁阀
防爆照(摄)相机
隔爆电器外壳等
2. 照明设备
安全帽灯
报警矿灯
矿灯短路保护装置
防爆灯具(白炽灯、荧光灯、其它照明灯具)
3. 爆炸材料、发爆器
煤矿许用*药炸**(含:乳化*药炸**、铵梯*药炸**、水胶*药炸**、*铵硝***药炸**等)
煤矿许用*管雷**
煤矿许用*爆索导**
发爆器
4. 通信、信号装置
4.1 通信
防爆电话机及关联设备
无线电通信系统及关联设备
漏泄通信系统及关联设备
无线、有线混合通信系统及关联设备
4.2 信号
防爆信息传输装置
防爆声光报警(语音提示)信号装置
隔爆型电铃
隔爆型打点器
防爆信号通讯机
工作面通讯、信号控制装置
5. 钻孔机具及附件
煤(岩)电钻
凿岩机具(电动、液动、气动)
锚杆钻机(电动、液动、气动)
钻车
井下移动式空气压缩机
安全钻机(瓦斯抽放、探水、防突、放顶、注水、防灭火钻机)
6. 提升、运输设备
6.1 带式(刮板)输送机
带式输送机(含:托辊、制动器)
刮板输送机
顺槽转载机(带式、刮板)
偶合器(含:易爆塞、易溶塞)
6.2 提运设备
人车(斜井、平巷)
矿车(含:连接链、插销)
煤矿用绞车
矿用钢丝绳
提升容器
连接装置
防坠器
斜井防跑车装置
提升机综合后备保护装置
7. 动力机车
防爆蓄电池电机车(含:隔爆型控制器、隔爆型电阻器箱、隔爆型电源装置、蓄电池、隔爆型直流变换器、隔爆型直流稳压电源、防爆变频调速器、监示器等)
架线式工矿电机车及配套电器设备
防爆柴油机动力设备(含:防爆柴油机)
8. 通风、防尘装备
矿井地面通风机(仅限于№15及以下)
局部通风机
风速仪表
风速传感器
除(降)尘装置
粉尘采样器
粉尘浓度测量仪表
9. 阻燃及抗静电产品
阻燃输送带及整体带芯
导风筒及风筒涂覆布
煤矿用阻燃电缆
隔爆水袋(槽)
煤矿用塑料网假顶
非金属制品(溜槽、电缆接头、管材、玻璃钢制品等)
难燃介质)(乳化油、高含水难燃液)
10. 环境、安全、工况监测监控仪器与装备
10.1气体检测仪器仪表
气体检测管
一氧化碳检测仪器仪表
甲烷检测仪器仪表(含:载体催化元件)
氧气检测仪器仪表
其它气体检测仪器仪表
10.2安全、生产监测监控系统
监测监控系统
矿用传感器(含:一氧化碳、甲烷、负压、压力、供水、温度、速度、顶板动态、风速、设备开停等传感器)
井下分站
直流稳压电源
风电甲烷闭锁装置
甲烷断电仪
带式输送机监控系统
电力监测系统
运输监控系统
自然火灾监测系统
瓦斯抽放监测系统
10.3自救器、呼吸器、苏生器
10.4其它安全装置
紧急闭锁开关
远程控制器
防突测量仪器仪表及机具
瓦斯抽放设备及仪表
防灭火装置(含:制氮机)
11. 支护设备
液压支架(含:柱、阀、千斤顶)
气垛支架
矿用单体液压支柱(含:三用阀)
切顶支柱
摩擦支柱
金属顶梁
锚杆(索)(含:杆体、锚固剂)
矿用液压推溜器
乳化液泵
液压支架用胶管
12.采、掘机械及配套设备
采煤机(含:电控装置)
掘进机(含:电控装置).
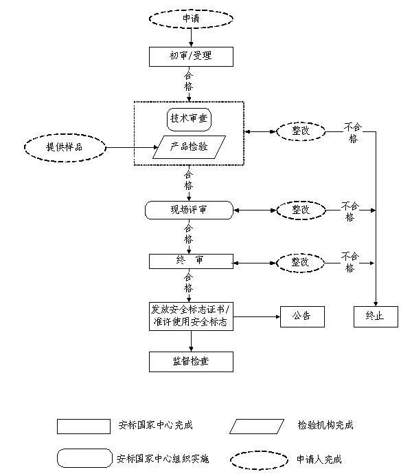
二、矿用产品安全标志申办程序
分为:首次申办安全标志程序(以下简称首次申办程序)、变更安全标志申办程序(以下简称变更程序)、延续安全标志申办程序(以下简称延续程序)。
一、首次申办程序
产品首次申办安全标志时,执行本程序。
1.申请
矿用产品安全标志申请单位(以下简称申请人)应向安标国家矿用产品安全标志中心(以下简称安标国家中心)提出产品申办安全标志申请,递交申请材料。
2.初审、受理
安标国家中心对申请人递交的申请材料进行初审,符合要求的,与申请人签订申办合同,予以受理。
3.技术审查、产品检验
安标国家中心对申请产品组织实施技术审查,委托国家安全监管总局授权的检测检验机构对产品进行检验。
4.现场评审
安标国家中心组织评审组对申请人的主体资格、生产能力、产品安全性能保障体系进行现场检查和考核。
5.终审、发放安全标志证书
安标国家中心对技术审查、产品检验和现场评审结果进行综合评价。合格的,发放安全标志证书,准许使用安全标志标识,并予以公告;不合格的终止申办。
6.监督检查
安标国家中心对取得安全标志的产品及其持证人进行监督检查,并加大对重点产品监督检查频次。
[附注]
1.对于申请产品属于采用新技术、新材料、新工艺,需进行工业性试验的新产品,其安全标志申办,可在产品安全性能技术审查和安全性能检验合格的基础上,发放附有产品生产编号的安全标志证书,准许该编号产品使用安全标志标识。
2.对申请产品与申请人所持有的有效期内的安全标志产品属同一管理单元的,原则上只进行产品的差异性技术审查、检验或评审,证书有效期与所持有的有效期内的安全标志有效期相同。
3.对必须在使用现场安装完成后才能进行性能参数检验的大型设备,其安全标志申办,可在技术审查、必要的检验室检验和现场评审合格的基础上,发放附有产品生产编号的安全标志证书,供现场安装使用。待完成现场安装并经性能检验合格后,换发具有有效期的安全标志证书。

煤安MA认证证*办理书**服务地区: 青岛,烟台,济南,威海,潍坊,日照,东营,滨州,淄博,莱芜,临沂,济宁,*安泰**,枣庄,菏泽,聊城,德州,上海,深圳,重庆,广州,天津,石家庄,长春,哈尔滨,济南,呼和浩特,沈阳,乌鲁木齐,兰州,西宁,银川,郑州,太原,合肥,长沙,武汉,南京,成都,贵阳,昆明,南宁,拉萨,杭州,南昌,福州,海口,大连