最近几年,折叠屏市场开始逐渐扩大,入局厂商也越来越多。虽然整体的智能手机市场表现逐年下滑,但折叠屏设备的表现却逆势上升,相关的发展预测也十分积极。

和2022年Q1相比,2023Q1折叠屏手机在中国市场的销量翻一番,同比大增117%,出货量达到了108万台。除了华为,小米、OPPO、vivo、荣耀等主流手机厂商都已经推出了折叠屏手机。
面对如此红火的市场前景,折叠屏手机市场也终于要迎来新成员了,那就是魅族。
新专利曝光,魅族折叠屏年底亮相?
此前在媒体报道中,“星纪魅族集团执行副总裁、魅族品牌CEO黄质潘向钛媒体App透露,将会在年底推出折叠屏产品。”结合其中的信息来看,魅族有望在年底正式参与到折叠屏市场的竞争中。

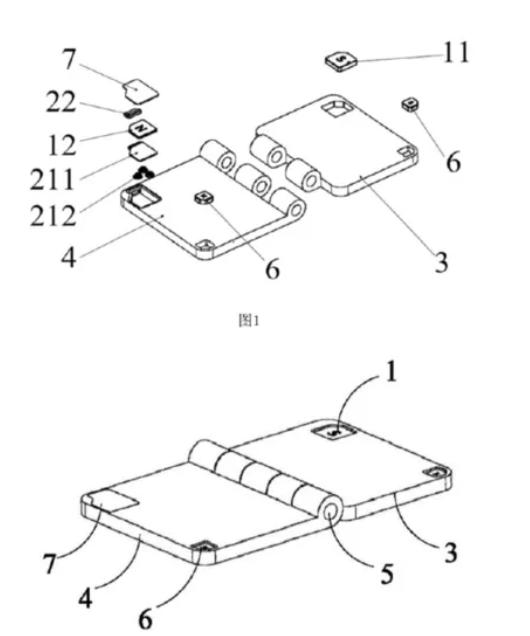
而近日,珠海市魅族科技有限公司申请的“弹开机构及折叠终端”专利获批公开,从申请的专利项目摘要来看,魅族这一专利能够有效降低折叠屏手机的展开难度,并大幅度提升了折叠屏手机的使用便捷性。

虽说专利这东西不意味着会立刻投入生产中,但起码能让消费者和市场知道魅族确实在努力做出一台合格的折叠屏手机。那么“浴火重生”后的魅族,能否成功在折叠屏手机市场中留下属于自己的脚印呢?
目前网络上爆出的消息还不算多,但结合数码闲聊站的爆料以及专利图来看,魅族的首款折叠屏手机应该是一款竖折产品。可以确定的是魅族折叠屏手机最快会在今年年底发布,虽说发布时间相比其他手机厂商晚了不少,但只要产品足够合格,还是会有不少魅粉会掏钱包购买的。

苹果将在2025年入局?
此外,作为在智能手机市场占据着优势地位的品牌,苹果是否会进入折叠屏市场也是最近几年中备受关注的内容。

根据业内人士的预测,由于消费者对可折叠手机的整体反应正在改善,苹果可能很快就会推出非手机类别的可折叠产品,因此该品牌进入可折叠智能手机市场的时间可能会在2025年之后。当然,在苹果官方正式宣布前,外界很少会有确切的信息出现,相关预测和爆料大家参考即可。而就现有的情况来看,大家觉得苹果会入局折叠屏市场吗?