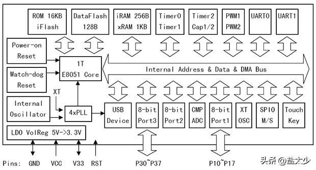
CH552芯片是一款兼容MCS51 指令集的增强型E8051内核单片机,其79%的指令是单字节单周期指令,平均指令速度比标准MCS51快8~15 倍。
CH552 支持最高24MHz 系统主频,内置16K 程序存储器ROM 和256 字节内部iRAM 以及1K 字节片内xRAM,xRAM 支持DMA直接内存存取。
CH552内置了ADC 模数转换、触摸按键电容检测、3 组定时器和信号捕捉及PWM、双异步串口、SPI、USB设备控制器和全速收发器、USB type-C等功能模块。
系统框图

CH552系统框架图
嵌入式主板特点
》 增强型E8051内核CPU,速度比标准MCS51快8-15倍,特有XRAM数据快速复制指令;
》 内置16KB Code Flash、1KB XRAM和内部256B iRAM、128B DataFlash,支持字节方式读写;
》 内置2KB BootLoader,支持USB和串口ISP,提供ISP*载下**库;
》 内嵌USB控制器和USB 收发器,支持USB-Device 设备模式,支持USB type-C主从检测,支持USB 2.0 全速12Mbps或者低速1.5Mbps。支持最大64 字节数据包,内置FIFO,支持DMA;
》 内嵌USB控制器和USB收发器,支持USB2.0全速和低速主机或设备模式。支持最大64字节数据包,内置FIFO,支持DMA;
》 提供3组定时器/计数器,支持2路信号捕捉和2路PWM输出;
》 提供3组定时器/计数器,支持2路信号捕捉和2路PWM输出;
》 提供2个全双工异步串口,全部支持高波特率通讯,UART0为标准MCS51 串口;
》 提供1个SPI通信接口,内置FIFO,支持Master/Slave主从模式;
》 提供4通道8位位A/D 模数转换器,支持电压比较;
》 支持6通道电容检测,支持最多15 个触摸按键,支持独立定时中断;
》 支持4 种复位信号源,内置上电复位,支持软件和看门狗溢出复位,可选引脚外部复位;
》 内置24MHz时钟源和PLL,可以通过复用GPIO 引脚支持外部晶振;
》 内置5V到3.3V 的低压差电压调整器,支持5V 或3.3V甚至2.8V电源电压。支持低功耗睡眠,支持USB、UART0、UART1、SPI0以及部分GPIO外部唤醒;
》 芯片内置唯一ID 号;
》 提供TSSOP-20、SOP-16、MSOP-10封装;
CH552芯片的实际应用:可以制作EPPROM储存芯片的烧录器,CH5523芯片的烧录器可以烧写24系列、25系列EPPROM,常用的EPPROM有24C02、24C08等等。