明星艺人群体对于粉丝来说,是站在舞台或荧屏上闪闪发光的存在,他们不仅会为粉丝和观众带来喜闻乐见的作品,也通过自己的方式和能力向人们传达着力量和正能量。
热衷于公益的明星有很多,像周润发,韩红,古天乐等等。而在年轻一代的艺人中,也有新的公益力量正在崛起。张艺兴就是拿稳前辈公益接力棒的选手之一。

2008年,17岁的张艺兴远赴海外,开始了练习生活。经过4年辛苦磨砺,张艺兴终于从练习室走到了舞台上,成功在2012年加入组合出道。2015年,张艺兴回国成立个人工作室,工作发展重心从海外逐渐转移至国内。但无论是在国内还是国外,张艺兴始终不忘初心,懂得感恩,心怀祖国,热衷公益。在大多数明星忙着开自己的公司挣更多钱时,张艺兴就开始了自己的公益之路。

从一颗普普通通的小石头变成灿烂星辰,是因为得到了许多爱与支持。在今年9月,张艺兴染色体娱乐集团宣布成立“染色体公益基因”,这一组织专门为开展公益事业而设立,将慈善作为根植在每一个人心底的善念和信仰去付诸实践。

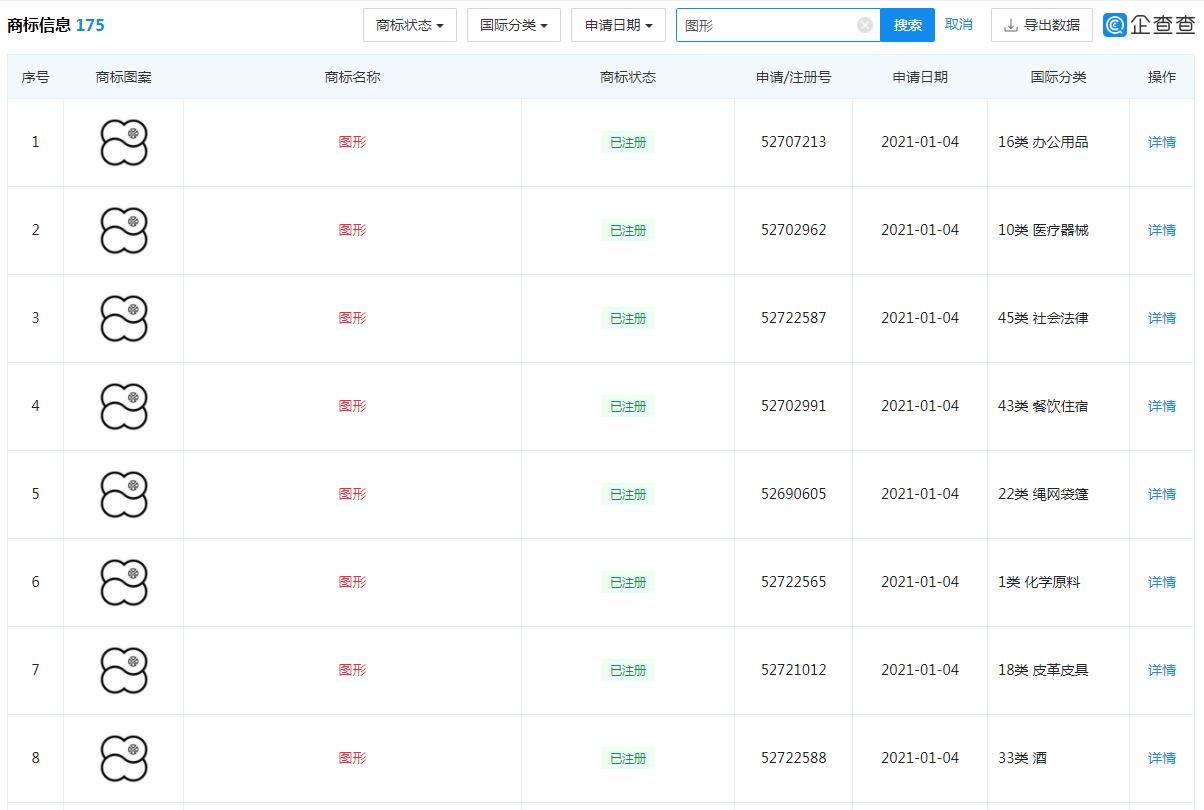
做公益的念头,并不是张艺兴脑海中突然迸发而出的。早在今年年初,以张艺兴为创始人的长沙染色体娱乐集团有限公司就申请了一批商标,其中一批商标名称为“染色体公益基因”,而另一批则是一件图形商标,作为“染色体公益基因”的LOGO出现在该官方微博的宣传页面上。

而据最新资料显示,长沙染色体娱乐集团有限公司为“染色体公益基因”申请的这批商标里,30件图形商标已经全部过审,文字“染色体公益基因”商标的状态仍然是“注册申请中”。

提早半年多就为公益组织的LOGO注册了商标,可见张艺兴超强的知识产权保护意识。将公益组织的商标申请注册,认准“染色体公益基因”的商标,就能防止被任何以染色体为名义的组织或个人侵犯权益。

此外,张艺兴的“染色体公益基因”图形LOGO还有个令人暖心的特殊含义,因其形似两颗互相拥抱的红心,意为心连着心,这正贴合了张艺兴对公益的初心。
既见乾坤浩大,也能对万物永怀善意温柔,热衷于公益的张艺兴你喜欢吗?
【温馨提示】文中部分图片及素材来源网络,版权归属原作者,若有不妥,请联系告知修改或删除,谢谢!