目前施工项目 墙面石材安装 工艺主要有 湿贴、干挂和干粘 3种,干挂是最常用的墙面石材施工方法,使用干挂石材厚度需达到国际石材优等品要求。
当前石材厚度往往达不到国标石材优等品的要求,石材板厚负公差偏大。
许多室内装饰部位的石材,厚度受使用受空间的限制:像电梯门洞口处如果用传统干挂法施工,很难满足设计对完成面的要求。
遇到这种情况,有什么好的解决办法呢?
本篇文章关于 石材新技术:墙面无龙骨干粘工艺。
将从以下 5个方面进行展开:
1、节点示意
2、施工流程
3、难点分析及探索
5、工艺优点
5、适用范围
一、墙面无龙骨干粘工艺节点

无龙骨干粘工艺节点△

钢板-锚栓通过焊接连接示意图△
二、施工流程
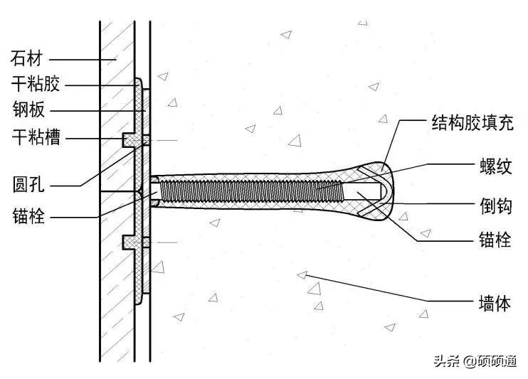
1、将基层处理平整,按照每块石材的 分缝 在四角处打一 圆孔 ,最后将结构胶填入圆孔内。
2、再将 锚栓-钢板 焊接结构植入圆孔。
3、再将粘贴至钢板位置的石材背面杂物以及钢板上的 锈斑 清理干净,将石材利用专用干粘胶直接粘在钢板上,并用 云石胶 临时固定。
4、石材 背面 开一 小槽 ,增强石材和胶之间的剪切力,钢板在粘贴石材位置钻有一圆孔,圆孔内充满 干粘胶 ,增强干粘胶和钢板之间的剪切力。
5、钢板和锚栓通过焊接连接,锚栓通过和墙体内的 结构胶和墙体固定牢固 ,自身的螺纹增强和结构胶之间的 握裹力 , 倒钩 的设置增强和墙体之间的固定,防止锚栓被拉出墙体之外。
三、难点分析与探索
如果担心专用干粘胶粘贴石材强度不够,木石管理中心按照AB不同配比做了大量的钢板-石材剪切试件,送至了拥有相应资质的中国建材检验认证集团苏州有限公司分别做剪切实验。 对国内6家厂的干粘胶逐个进行强度测试,实验结果曲线分布图,从实验结果分布图分析得出:只有江苏常熟一厂家剪切力能满足国家标准要求是10MPa要求,平均值基本上能到到12MPa,有些AB配比强度高的能达到15MPa,因此,安全性是有保证的。

钢板-石材剪切实验△

各厂家实验结果曲线分布图△
四、工艺优点
1、施工更 简便省工 ,工地无噪音、无粉尘污染。 2、施工现场 无电焊作业 , 无火灾隐患 。 3、更能适应室内装饰的各种特殊情况和设计要求, 有效增加室内使用空间 。 4、无横竖钢龙骨,大大 降低材料成本 。
五、适用范围
1、新工艺可用于高度 不超过5m 的室内装饰空间,针对锚栓结构的设计,并经过研究测试(拉拔强度检测报告),该锚栓结构能用于 混凝土墙面及空心砖、混凝土砌块等墙体 。
2、因为工艺对室内 空间占用少 ,所以比一般的石材干挂使用 范围更广 。