小编在此向大家介绍拥有2亿+调用量的产品,该接口文档清晰,对接方便,还有服务很好。
公司 成立于2015年,是API行业的早期开拓者,也是最早一批入驻阿里、百度、腾讯、华为、京东数据市场的服务商,多次荣获阿里“最佳服务商”称号并在阿里官网首页进行推荐展示。2017年,公司受邀参与云栖大会演讲,并荣获“最佳创新奖”。

一、接口介绍
验证身份证与姓名是否匹配,查询身份证信息。如校验通过,接口返回生日、性别、地址等信息。广泛应用于信贷、安防、银行、保险等行业及各种身份核查场景。
注意:当请求参数符合“【固定同一个参数,其余参数不同】,”比如“【同一个身份证,不同姓名】”,并且检验次数为<=10次,认为正常调用。 当>10次以上,我们认为是恶意调用,此时返回【24小时内相同姓名或卡号核验次数超限】,不扣费。
二、使用案例截图

店铺浏览地址如下:
阿里云店铺:https://shop3a017cy7.market.aliyun.com/?spm=5176.730005

华为云地址:https://marketplace.huaweicloud.com/contents/09651cbe-765c-40d2-80bb-7a9cd1ade114

官网地址:https://www.showapi.com/apiGateway/view/1072/1

三、API文档
3.1身份证实名验证
3.1.1接入点说明:
验证身份证与姓名是否匹配,查询身份证信息。返回生日、性别、地址等信息。
注意:当请求参数符合“【固定同一个参数,其余参数不同】,”比如“【同一个身份证,不同姓名】”,并且检验次数为<=10次,认为正常调用。
当>10次以上,我们认为是恶意调用,此时返回【24小时内相同姓名或卡号核验次数超限】,不扣费。
3.1.2接口地址:
http[s]://route.showapi.com/1072-1?showapi_appid=替换自己的值&showapi_sign=替换自己的值。
3.1.3更新频率:
依据身份证中心更新频率,每次返回最新数据。
3.1.4返回格式:
json
3.1.5请求参数

3.1.6返回参数
|
参数名称 |
类型 |
示例值 |
描述 |
|
birthday |
String |
1991-11-04 |
生日 |
|
ret_code |
Number |
0 |
0为成功,计费,其余为失败,不计费 |
|
sex |
String |
F |
性别:M为男性,F为女性 |
|
order |
String |
145801957588529905 |
相关流水号 |
|
county |
String |
清徐县 |
区县 |
|
address |
String |
山西太原市清徐县 |
详细地址 |
|
province |
String |
山西省 |
省 |
|
code |
Number |
0 |
验证标示 0:匹配 1:不匹配 2:无此身份证号码 3:身份证号与姓名匹配,照片比对失败 4:参数不能为空 5:四要素匹配成功,照片比对失败 6:四要素匹配失败,照片比对成功 7: 四要素匹配成功,照片异常 12:身份证号码不合法 13: 照片质量异常 14: 姓名异常 15: 暂不支持该地域校验 100:渠道异常,请稍后再试 101:验证信息重复输入,避免恶意验证请间隔60秒以上再次核验 103:24小时内相同姓名或卡号核验次数超限 104:decrypt参数异常 202:姓名加密信息有误,请检查 203:身份证加密信息有误,请检查 205:开始时间加密信息有误,请检查 206:结束时间加密信息有误,请检查 207:人像照片加密信息有误,请检查 |
|
msg |
String |
匹配 |
说明 |
|
city |
String |
太原市 |
城市 |
3.1.7请求代码示例
以下是JAVA代码示例:
//更多说明请访问仓库地址:https://github.com/showapi-public/showapi_sdk_java
//这里需要替换为你自己的showapi_appid和showapi_sign,你可以在这里找到 https://www.showapi.com/console#/myApp
String res=new ShowApiRequest("http://route.showapi.com/1072-1","showapi_appid","showapi_sign")
.addTextPara("idcard","")
.addTextPara("name","")
.post();
System.out.println(res);
3.1.8返回示例
{
"showapi_res_error": "",
"showapi_res_code": 0,
"showapi_res_id": "60d2da870de3769d4d2df7b4",
"showapi_res_body": {
"birthday": "1991-11-04",
"ret_code": 0,
"sex": "F",
"order": "145801957588529905",
"county": "清徐县",
"address": "山西太原市清徐县",
"province": "山西省",
"code": 0,
"msg": "匹配",
"city": "太原市"
}
}
四、工具
4.1身份证OCR图片识别
4.1.1接入点说明:
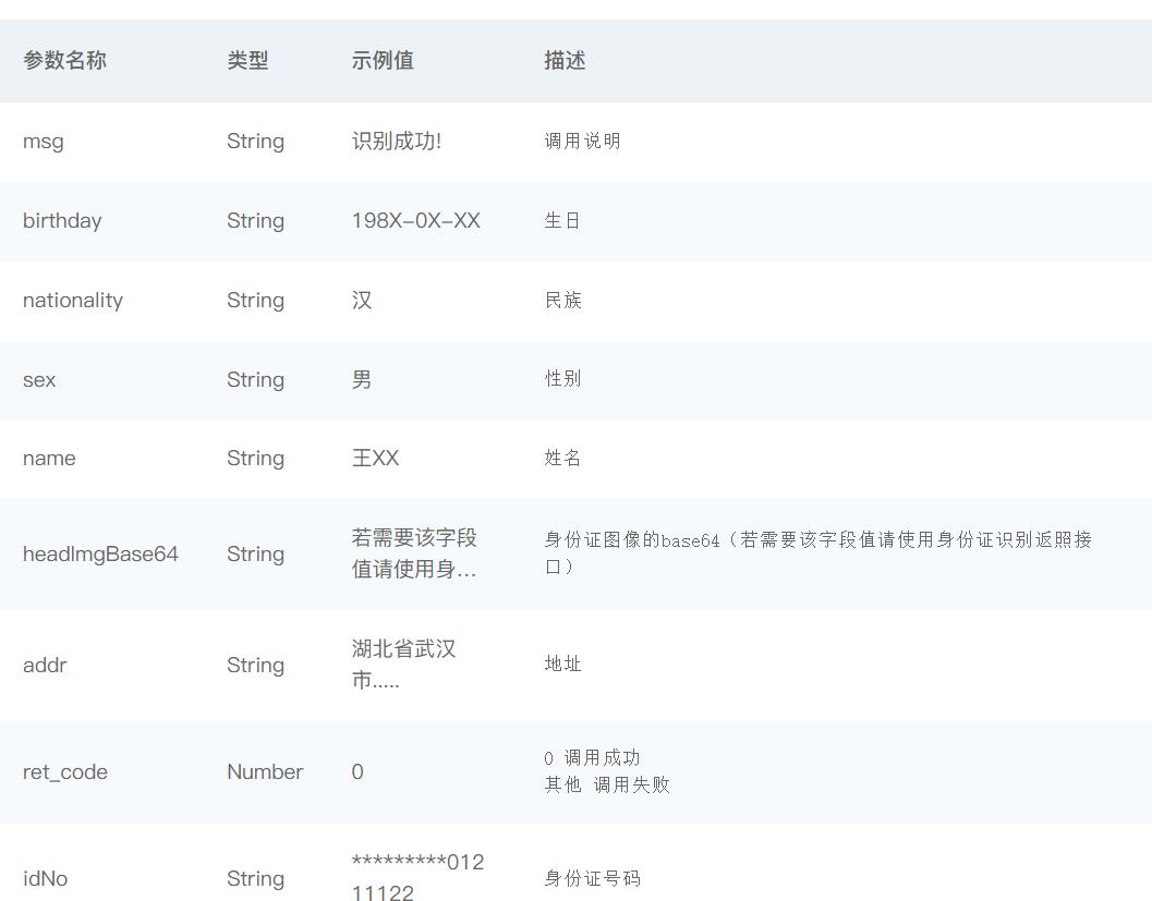
自动识别出二代居民身份证正反面的包括姓名、性别、民族、出生日期、住址、身份证号等信息。
4.1.2接口地址:
http[s]://route.showapi.com/1389-4?showapi_appid=替换自己的值&showapi_sign=替换自己的值
4.1.3返回格式:
Json
4.1.5请求参数

4.1.6返回参数

4.1.7请求代码示例
以下是JAVA代码示例:
//更多说明请访问仓库地址:https://github.com/showapi-public/showapi_sdk_java
//这里需要替换为你自己的showapi_appid和showapi_sign,你可以在这里找到 https://www.showapi.com/console#/myApp
String res=new ShowApiRequest("http://route.showapi.com/1072-15","showapi_appid","showapi_sign")
.addTextPara("image_base64","")
.post();
System.out.println(res);
4.1.8返回示例
{
"showapi_res_code": 0,
"showapi_res_error": "",
"showapi_res_id":"ce135f6739294c63be0c021b76b6fbff",
"showapi_res_body": {
"msg": "识别成功!",
"birthday": "198X-0X-XX",
"nationality": "汉",
"sex": "男",
"name": "王XX",
"headImgBase64": "若需要该字段值请使用身份证识别返照接口",
"addr": "湖北省武汉市.....",
"ret_code": 0,
"idNo": "*********01211122"
}
}
4.1.9输入限制
- 图片格式:JPEG、JPG、PNG、BMP、GIF。
- 图像大小:图像大小不超过3M。
- 图像分辨率:不限制图片分辨率,但图片分辨率太高可能会导致API识别超时,超时时间为5秒。
- URL地址中不能包含中文字符。
五、加密版使用说明

官网查看加密规则