保本型保收益理财产品 (银行理财产品保本浮动型收益多大)

新的一周又开始了,我们“有料财经”继续为大家介绍银行发行的保本型理财产品情况,而且是还要是其中的“保证收益型”理财产品。

提示:我们只针对由各主要商业银行所发行的保本型理财产品作信息介绍,并不对任何具体一款理财产品进行推荐。没有“最完美”的理财产品,每个投资者的投资理财需求都不一样,读者可以根据自己家庭投资理财的需要,选购你心仪的银行理财产品。各产品说明书和操作详情,请咨询各发行银行的网点工作人员或者客服中心。#头条理财季# #投资理财# #银行#

保本收益类理财产品收益率,银行理财产品保本浮动型收益多大

原创作者:有料的银姐 更多内容,公众号:财经天天有料

随着我国的“资管新规”正在逐步落地实施和执行,银行发行的理财产品也正由固定或约定收益率和封闭式,逐步向净值型和开放式转变,也就是大家在最近10几年时间里所认识并逐步熟悉接受的保本型银行理财产品,很快也将要成为历史。

保本收益类理财产品收益率,银行理财产品保本浮动型收益多大

先来看一下目前正在售的由工行、中行、农行、建行、交通银行、邮储银行等国有大型银行和像中信银行、招商银行、华夏银行、浦发银行、兴业银行、平安银行等等为代表的股份制银行所发行的“保证收益率”的保本型理财产品,有以下这些:

保本收益类理财产品收益率,银行理财产品保本浮动型收益多大

在此,银姐要说明一下理财产品条款当中的“保证收益率”,并不一定只是限定在一个特定的收益率数值,也有可能是保证和承诺了一个收益率的区间。也就是发行银行在提供100%保本承诺的同时,还保证了理财产品投资者最终所能获得收益率的上限和下限范围。

比如下面这一款由中国民生银行发行的理财产品,大家注意看产品条款,它的收益类型就是“保证收益”型,发行银行保证的年化收益率区间在2.40-10.80%,这款产品的期限为365天。

保本收益类理财产品收益率,银行理财产品保本浮动型收益多大

也就是最差的结果是投资者在期满后获得2.4%的收益率,最好的结果是在期满后获得10.8%的收益率。但如要最终获得10.80%的最高收益率,需要产品挂钩的“全球资产轮动指数”的表现满足最为理想的状态。

另外,银姐还要特别提醒,这款是属于民生银行直销银行专属产品,具体发售细节敬请咨询民生银行客服中心。

保本收益类理财产品收益率,银行理财产品保本浮动型收益多大

而中国民生银行发行的另一款同样是365天期限的产品,保证收益率区间则为3.10-7.30%:

保本收益类理财产品收益率,银行理财产品保本浮动型收益多大

不少读者尤其钟情于国有大银行发行的理财产品,下面这款就是由中国银行发行的保本保证收益型理财产品的基本信息,产品期限为364天,保证收益率区间为3.40-3.50%:

保本收益类理财产品收益率,银行理财产品保本浮动型收益多大

上面3款都是一年期的产品,如果有投资者觉得时间稍长了一些,那么这里还有多款183天半年期的保本型理财产品,比如下面这个由中国银行发行的保证收益率区间在3.20-3.30%的保本型理财产品:

保本收益类理财产品收益率,银行理财产品保本浮动型收益多大

比如特别的是由恒丰银行发行的这款182天期限的理财产品,投资方向是债券类,而且保证收益率区间是3.40-3.40%,也就是“固定的”预期收益率:

保本收益类理财产品收益率,银行理财产品保本浮动型收益多大

结构性存款型理财产品可以挂钩多种指数,包括我们的A股市场指数,比如民生银行这次就还发行了2款挂钩沪深300指数的理财产品,而且分为看涨和看跌2个类型,对股市有一点了解和认识的投资者,可以关注一下:

保本收益类理财产品收益率,银行理财产品保本浮动型收益多大

两款产品的结构和细节基本类似,只是一个看涨一个看跌。看涨的银姐也不多介绍了,重点说一下看跌中国A股市场的这款。

如果未来3个月,反映沪深股市的沪深300指数持续下跌,理财产品的投资者反而有机会获得高收益率,最高可达7.00%; 而最差的情况,投资者也能获得最低2.00%的收益率,产品期限90天:

保本收益类理财产品收益率,银行理财产品保本浮动型收益多大

除了上面的1年期、半年期和3个月期限的,中国银行和中国民生银行还在售几款期限在1个月左右的,比如下面这款36天期限的,保证收益率区间在2.90-3.10%,属于结构性存款类型的理财产品:

保本收益类理财产品收益率,银行理财产品保本浮动型收益多大

至于何谓“结构性存款”,料哥和银姐之前也已经写过多篇投资理财方面的金融知识普及类文章介绍过,感兴趣的读者可以翻阅一下。

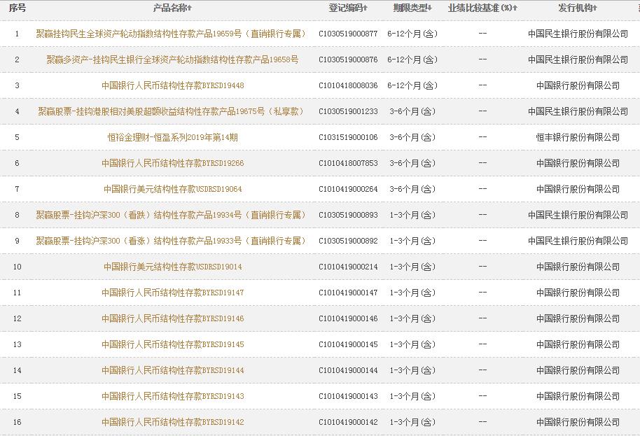
目前在售的保证收益的100%保本型理财产品有上述这三家商业银行所发行的这16款,感兴趣的投资者可以咨询各发行银行。

理财产品非储蓄存款,不受《存款保险制度》保障,它们的100%保证本金兑付和保证收益率(区间)的承诺,皆由各相应的发行银行所提供。

保本收益类理财产品收益率,银行理财产品保本浮动型收益多大

重要提示:“有料财经”撰写的介绍国内主要商业银行发行的理财产品信息,都是经中国银监会(目前是中国银保监会)批准的全国银行业理财产品正式信息披露内容。我们只介绍信息,不对任何具体的理财产品作出认购或投资的建议。具体的认购操作和产品说明书详情,请咨询相关银行

欢迎喜欢文章内容的读者关注本号,并点赞、转发分享给亲友们。

本文由“财经有料哥”原创,欢迎关注,带你一起长知识!