真假无印良品之争“后劲儿”有点大,最近,中国无印良品又把日本无印良品给告了。
据北京法院审判信息网信息,7月13日,北京市高级人民法院驳回了北京无印良品针对其与日本无印良品侵害商报全纠纷的再审申请。
法院认为,日本无印良品在棉织品、毛巾、床单、枕套和被罩等产品类别上,已经做出避让,对现在棉田公司所拥有的“无印良品”商标不构成侵权。
关于“无印良品”文字商标,两者的纠葛由来已久。
“无印良品”文字商标最早在2001年就已经注册,后北京棉田纺织于2004年经受让取得该商标。而株式会社良品则是在2005年首次进入中国市场。
2019年11月,日本無印良品母公司株式会社良品计划及其中国子公司无印良品上海公司,在与北京无印良品发生的“无印良品”商标侵权纠纷诉讼中败诉。相关判决涉及第24类商标覆盖的商品,包括棉织品、毛巾、床单、枕套和被罩等。
这意味着日本日本无印良品在制作布、毛巾、床单等商品的吊牌时,必须将“MUJI 無印良品”中的“無印良品”去除,仅使用“MUJI”。
实际上,在电商平台中,一些打着“无印良品”旗号的店铺明显存在误导消费者的情况。
小编的小伙伴小A曾在拼多多的一家无印良品授权店铺买过东西。因为其店内价格和款式和小A在MUJI专柜看到的不一样,怕买错,小A还特意拍了MUJI的吊牌问该店内客服。当时客服是这样回应的:


于是小A同学最终下单了两款棉品,最后却发现到手的并不是她以为的日本的MUJI。于是拜托朋友小B再去试探该店。结果,客服还是强调正品,不正面说明与日本无印良品的关系。

小编查到了该店的授权书,授权的是一家杭州公司。

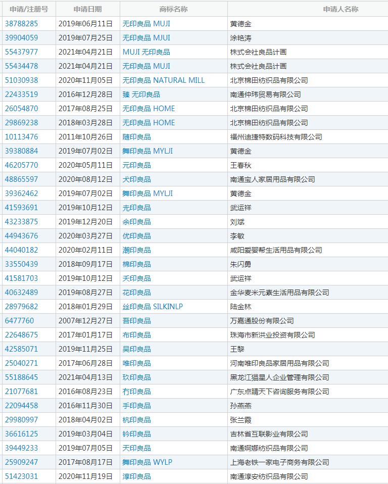
小编在国家知识产局商标局官网上显示,输入“无印良品”关键词,在家纺类别里面就有219个商标申请,其中商标名称有无印良品、无印良品home、無印良品、無印良品muji、无印良品家纺等,个人的商标申请基本已被驳回。

看着这些“元印良品”、“夭印良品”……小编都快不认识“无印良品”这四个字了。
新金融记者 王雅菡