商家简介:南极人**专卖店,冬季男裤类目top店铺
问题描述:店铺有专业车手,但是爆款太多,人力无法24小时盯住,市场上大多数软件都太复杂,没那么多精力每天在直通车后台调整的同时还要去第三方软件后台调整,有时候效果达到了,消耗达不到,提高消耗吧,又担心花超了保不住ROI。
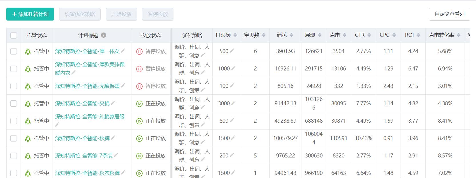
工具应用:《服务市场—深知特斯拉》-----领航版
优化效果:
双十一客户自投(11月1日-11月11日数据)

双十二深知特斯拉AI投放(12月1日-12月12日数据)

双十二大促AI全智能投放的情况下,ROI比双十一提升了12%!
案例详述:
南极人品牌一直在淘内占据着重要的地位,店铺本身就已经有非常专业的车手在操作了,并且已经有了一个月销16万的当季爆款牛仔裤,但是奈何伯乐常有,千里马不常有,厉害的操作手可不是白菜,想招就招得到的,生意还得做,爆款还得继续有,怎么办呢?
通过朋友的介绍之后,案例客户对深知特斯拉有了初步的了解:
1. 全人工智能技术,大数据+机器学习
2. 解放双手,5秒完成以往一天工作量
3. 高频调价,98%的商家接入后都降低cpc
……
不过靠说的不如靠做的,深知特斯拉用一次大促的效果来证明自己。
一.消耗不稳定的机器解决方案
正所谓舍不得孩子套不住狼,假如钱都花不出去,又哪儿来的ROI呢?测试初期,深知特斯拉的专业车手剖析了案例客户当前的直通车账户,明确了几个要优化的点,首当其冲的就是消耗问题了,这个究其原因,就是人的精力和市场的行情不对等导致的,行业的出价一直在波动,专业的车手不可能一天24小时都呆在电脑面前看着数据。可能中午吃个饭半个小时,原先1块钱出价在行业4-6条,吃完饭回来发现排名跑到10条开外了~~~

可以很明显地看出来,双十一人工投放的时候,这个消耗是非常不稳定的,有时候高,有时候低很多,人工没精力去完美地控制住花费,但是机器可以通过算法智能去控制,精准的花费把钱花在刀刃上,在这点上,专业车手和深知特斯拉的投放逻辑上,没多大差别,但是该花钱的时候没花出去钱,产出又从何来呢?
二、CPC太高?深知特斯拉是这么做的
经常可以听到商家们抱怨,点击单价太高,怎么降低cpc啊,质量分太低,怎么提高质量分啊......诸如此类,关注的问题点对吗?想要降低cpc,先要提高质量分,当然对,降低cpc除了提高质量分来降低以外,用专业的软件也可以!
首先大家都知道,淘宝网是一个日活跃消费者数以亿计的大平台,以及百万级的商家,你所在的类目,每时每刻都有不同的商家在出价、调价、提高宝贝质量分、变相提高你的出价等等,人能注意到这些市场行情的变化吗?不能。软件虽然监控不到,但是我们可以通过从淘宝接口返回的数据,去从行业的出价里“发现”行情,比如还是刚刚举的例子,关键词以“牛仔裤男”为例,当前你出价是2元,排名移动第二,一个流量实际cpc在1.88元(假设),说明第三名的出价是1.87元对吧,然后这个时候第三名想抢流量了,价格出到了2.01,他跑到第二了,你的实际cpc变成了2.02(假设),多出来的0.22的花费,有必要花吗?其实是没有必要的,因为深知特斯拉会自动根据你的预算,来高频优化出价,遇到这种情况,系统可能就会自动降价,在保证流量的前提下,把cpc降到最低!


(cpc从1.38降低到1.07)
三、解放双手

经过双十二的一役,商家已经自然而然地把所有的计划都加了托管,直接花1秒钟点个托管效果还比自己投的效果好那么多。
今天的案例分享就到这里!软件再智能,最终也是配合店铺的运营规划进行宝贝推广的,在使用软件投放之前,与深知特斯拉的客户进行对店铺直通车账户的一个诊断剖析,对于后期使用软件进行自动化推广,将会有一个极大的效果上的提升~