接触器是电力拖动与自动控制系统中重要的一种低压电器,也是有触点电磁式电器的典型代表。接触器按主触头通过电流的种类,可分为交流接触器和直流接触器两种。电磁接触器是利用电磁铁对铁片的吸引力来完成触点开闭功能的器件。
1.电磁铁的构造

电磁铁的构造图
2.电磁接触器的原理结构

用于接触器的E形铁心的功能

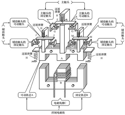
接触器的原理结构图
3.电磁接触器的实际结构

交流接触器
(a)CJ10系列接触器 (b)CJX1系列接触器 (c)CJX1N系列机械联锁接触
(d)交流接触器的外形结构说明 (e)(f)接触器内部结构
接触器结构:由电磁系统、触头系统、灭弧装置、复位弹簧等几部分构成。
电磁系统:包括可动铁心(衔铁)、静铁心、电磁线圈;
触头系统:包括用于接通、切断主电路的大电流容量的主触头和用于控制电路的小电流容量的辅助触头;
灭弧装置:用于迅速切断主触头断开时产生的电弧,以免使主触头烧毛、熔焊,对于容量较大的交流接触器,常采用灭弧栅灭弧。

接触器的图形符号和文字符号
4.接触器的工作原理
交流接触器工作原理:当电磁线圈接受指令信号得电后,铁心被磁化为电磁铁,产生电磁吸力,当克服弹簧的反弹力时使动铁心吸合,带动触头动作,即常闭触头分开、常开触头闭合;当线圈失电后,电磁铁失磁,电磁吸力消失,在弹簧的作用下触头复位。
交流接触器线圈的工作电压,应为其额定电压的85%-105%,这样才能保证接触器可靠吸合。如电压过高,交流接触器磁路趋于饱和,线圈电流将显著增大,有烧毁线圈的危险。反之,电压过低,电磁吸力不足,动铁心吸合不上,线圈电流达到额定电流的十几倍,线圈可能过热烧毁。
5. 常用接触器
(1)空气电磁式交流接触器
在接触器中,空气电磁式交流接触器应用最广泛,产品系列和品种最多,但其结构和工作原理相同,目前常用国产空气电磁式接触器有CJ0、CJl0、CJl2、CJ20、CJ21、CJ26、CJ29、CJ35、CJ40等系列交流接触器。
(2)机械连锁交流接触器
机械连锁交流接触器实际上是由两个相同规格的交流接触器再加上机械连锁机构和电气连锁机构所组成,保证在任何情况下不能两台接触器同时吸合。常用的机械连锁接触器有CJX2-N、CJX4-N等。
(3)切换电容接触器
切换电容接触器专用于低压无功补偿设备中,投入或切除电容器组,以调整电力系统功率因数,切换电容接触器在空气电磁式接触器的基础上加入了抑制浪涌的装置,使合闸时的浪涌电流对电容的冲击和分闸时的过电压得到抑制。常用的产品有CJl6、CJl9、CJ41、CJX4、CJX2A等。
(4)真空交流接触器
真空交流接触器以真空为灭弧介质,其主触头密封在真空开关管内。真空开关管以真空作为绝缘和灭弧介质,当触点分离时,电弧只能由触头上蒸发出来的金属蒸气来维持,因为真空具有很高的绝缘强度且介质恢复速度很快,真空电弧的等离子体很快向四周打散,在第一次电压过零时电弧就能熄灭。常用的国产真空接触器有CKJ、NC9系列等。
(5)直流接触器
直流接触器结构上有立体布置和平面布置两种结构,电磁系统多采用绕棱角转动的拍合式结构,主触点采用双断点桥式结构或单断点转动式结构。常用的直流接触器有CZ18、CZ21、CZ22、CZ0。
(6)智能化接触器
智能化接触器内装有智能化电磁系统,并具有与数据总线和其他设备通信的功能,其本身还具有对运行工况自动识别、控制和执行的能力。智能化接触器由电磁接触器、智能控制模块、辅助触头组、机械联锁机构、报警模块、测量显示模块、通信接口模块等组成,它的核心是微处理器或单片机。
6. 接触器的型号意义

8.接触器的选用
选择接触器时应注意以下几点。
(1)接触器主触头的额定电压≥负载额定电压。
(2)接触器主触头的额定电流≥1.3倍负载额定电流。
(3)接触器线圈额定电压。当线路简单、使用电器较少时,可选用220V或380V;当线路复杂、使用电器较多或不太安全的场所,可选用36V、110V或127V。
(4)接触器的触头数量、种类应满足控制线路要求。
(5)操作频率(每小时触头通断次数)。当通断电流较大及通断频率超过规定数值时,应选用额定电流大一级的接触器型号。否则会使触头严重发热,甚至熔焊在一起,造成电动机等负载缺相运行。