“深圳4月楼市小阳春终于迎来一波反弹!
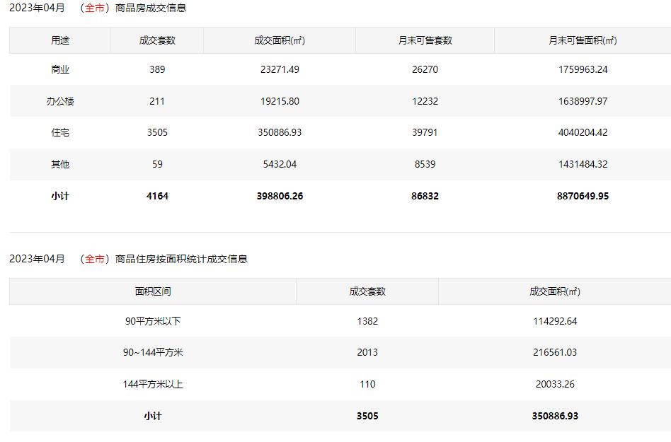
据深圳住建局官网数据:深圳全市新建商品住宅成交为35.09万平方米(3505套),同比+19.57%。

4月深圳全市二手商品房成交为34.75万平方米(3845套),同比+1.98%;其中二手商品住宅成交为30.22万平方米(3192套),同比+1.93%。

对于二手房成交量仍然较低,市场上出现一股二手房参考价调整的传言。实际上,这是一个牵一发而动全身的问题,“房住不炒”正是二手房市场回归理性。而关于二手房的好消息是,深圳发布《不动产“带押过户”登记申办指引》,这将大大减低交易成本,对畅通二手房市场是利好!>>深圳官宣:不用赎楼,二手房“带押过户”登记申办指引来了!
进入5月,深圳楼市政策不断。5月9日,深圳市住房和建设局发布《深圳市住房发展2023年度实施计划》(以下简称《计划》)。《计划》提出,深圳2023年计划供应分配保障性住房8万套(间)、批准预售和现售商品住房6万套。
2023年全市住房计划新开工建筑面积1300万平方米、约16.5万套,其中保障性住房计划新开工建筑面积约475万平方米、约7.3万套;商品住房计划新开工建筑面积约700万平方米、约7万套;其他住房计划新开工建筑面积约1257万平方米、约 2.2万套。此外,2023年计划筹集保障性住房建筑面积约407.5万平方米、约11.2万套(间),全年共建设筹集保障性住房18.5万套(间),建筑面积约 882.5 万平方米。>>深圳宣布年度住房大计划!2023年再建16.5万套房、供应14万套房!附保障房124个计划建设项目+79个计划供应项目
5月10日,深圳住建局发布关于公开征求《深圳市公共租赁住房申请家庭经济状况核对和认定实施细则(征求意见稿)》意见的通告》(以下简称“《通告》”)。
《通告》规定家庭收入主要包括 工资性收入、经营净收入、财产净收入、转移净收入 ,并在此基础上明确了优待金、奖学金、城乡居民基本养老保险基础养老金等八类不计入家庭收入项。
《通告》规定家庭财产范围为核对对象拥有(含接受继承、赠与)的全部实物财产和货币财产,包括房屋、车辆、银行存款、证券、基金、商业保险、互联网金融资产等。>>重磅信号!深圳将核查公租房申请人财产收入!超标要退租、加租!
这意味着,深圳商品房与保障房将迎来更清晰的发展方向。
深圳梦特别推出2023年5月购房指南,结合深圳住建局2023年二季度入市计划项目,整理出221个在售楼盘+61个新盘,供你参考!”
深圳221个在售楼盘
南山区在售:19个楼盘
南山区目前主要在售楼盘包括: 深业世纪山谷、正东名苑、御成府、鸿荣源尚璟公馆、臻林天汇、颐城瑧湾悦家园、天健悦湾府、深铁熙府、太子湾瑞玺大夏、太子湾泓玺大厦、太子湾·鲸域、晗山悦海、方直珑樾山花园、丹华公馆、弘基朗寓、京基御景峯、创智公馆、恒裕柏悦湾、恒裕深圳湾。

>>从未来看深圳,发现万亿增长极!3.65平方公里将让深圳人再提前15年建成一个全球新能极!
宝安区在售:39个楼盘
宝安区目前主要在售楼盘包括: 卓越闽泰星奕府、华侨城瑞湾府、招商会展湾雍境花园、万丰海岸城瀚府一期、华发新城华苑、恒兴御景园、中熙珑湾、仁恒芯梦公园、中粮大悦城、宏发玺玥麓坊、中熙玖玖颂阁、福城前海新纪元、万科未来之光、凤鸣水岸、和合时代、宝珺园、嘉信云峰公馆、宏发悦云花园、汇邦名都、深铁璟城、安居福汇阁,552套、兴围华府、华强城乐芙公馆、怀德国际、碧桂园领寓、中晟会湾港、君成世界湾、招商会展湾雍境花园、会展湾里岸广场、会展湾水岸广场、会展湾东城广场、会展湾云岸广场、泰福名苑、海峦坊、卓越闽泰云奕府、河东骏濠国际、盛合天宸、富士君荟、京基智农山海御园 。

>>深圳向西,2023首个重磅利好落地!超5亿人向往,200万人将为之自豪
光明区在售:20个楼盘
光明区目前主要在售楼盘包括: 花润里、特发观月台、华润润晖府、金地明峰府、松茂御城、深业云筑、宏发天汇城、中信凯旋君庭、华润润曦府、绿城汇银桂语兰庭、联发悦尚居、中海观园、安联尚璟府、金茂广场、星河天地华邸、特区建发乐府广场、电建洺悦鹏著花园、云科府、龙光玖瑞府、勤诚达正大城。

福田区在售:17个楼盘
福田区目前主要在售楼盘包括: 天健天骄西筑、富通九曜公馆、佳兆业佳园、深圳中心·天元、中洲滨海华府二期(中洲湾.迎海)、中粮大悦广场、皇庭世茂央玺园、宝能公馆、深业中城、东海国际公寓、岁宝壹品苑、承翰湾尚国际庭玺、深物业金领、紫元元大厦、新天石厦铭苑235套、中信城开红树湾、加福华尔登府邸 。

罗湖区在售:17个楼盘
罗湖区目前主要在售楼盘包括: 华润未来城润月广场、青湖山庄(亚太·半山樾府)、京基水贝时代广场、独树阳光里、淘金山湖景花园、粤海城、翠园华府、华润笋岗中心公寓、深业泰富广场、中洲铂玺坊、德弘天下华府、贝悦汇大厦、碧桂园翠湖大厦、益田御龙天地、京基御景天峦府、东方凤雅名苑、东方海富汇豪庭 。

盐田区在售:9个楼盘
盐田区目前主要在售楼盘包括: 鹏瑞尚府、中房翰林门、卓越荣津瀚海湾名庭、蓝郡公馆、君临海域·玺园、半山悦海、山海四季城、望辰府、臻湾云庭(望海府)。

龙华区在售:33个楼盘
龙华区目前主要在售楼盘包括: 锦绣时代广场、富基云珑府、卓越和弈府、鸿荣源·壹成中心花园、华盛珑悦、北站超核万象中心、溪山美地、龙岸君粼、皇嘉珑府、保利招商龙誉、中海闻华里、中海学仕里、中海明德里、龙华金茂府、莱蒙水榭云上、华侨城创想大厦、恒壹四季华府、万福花园、鸿荣源博誉府、深国际万科和颂轩、华侨城四海华亭、顺泰中晟、深铁珑境、锦顺名居、盛荟城、卓越柏弈府、山水华庭、合正观澜汇·云轩、万科启城家园、安居峰景苑、鹏瑞·颐璟府、御景华府、盛璟润府 。

>>等不及了!深圳“大学区”时*开代**启,两大扩容利好落地,名校“飞轮”开始转动!
>>深圳中部又一个大事件!华侨城在龙华造了一座什么城?
龙岗区在售:41个楼盘
龙岗区目前主要在售楼盘包括: 绿海名居山河里432套、华晖瑞禧家园、吉祥花园·鸿悦居、信义君御山居、和成金竹、信城缙华府、联发天境雅居、招商臻城、特发香阅四季园、信义荔景御景、钧濠·Mix Park、里城玺樾山花园三期、万科金域学府、恒裕珑城、勤诚达誉府、合正方洲、信城缙悦城、富基置地大厦、仁恒梦公园、桑泰龙樾、和昌·拾里花都、THE TOWN乐城二期、南山悦时光花园、中海寰宇珑宸、京基御景荟都、星龙园、仁恒·四季雅园(公园世纪)、紫园云墅、世茂深港国际中心、启迪协信科技园、宝德云谷、融悦盛景、合正新悦、融悦大厦、美盛岭尚苑、颐翠名庭、保利招商雍山郡、阳光香格里家园、今日香沙御景园、君胜熙珑山、颐璟名庭。

>>深圳重心回归,华为进入“西核”!2枢纽10轨道即将崛起万亿城市新中心
坪山区在售:15个楼盘
坪山区目前主要在售楼盘包括: 佳华沙湖广场、保利明玥澜岸花园、君胜熙玥湾花园、招商+华润玺悦台、深业山水东城、兆邦基碧湖春天、怡瑞达云秀府、中海万锦熙岸、新城·燕澜和鸣、和城里、东关珺府、龙光玖誉雅筑、世茂粤湾壹号、花样年旭辉好时光、信达泰禾金尊府。

大鹏新区在售:5个楼盘
大鹏新区目前主要在售楼盘包括:满京华云曦花园、保利青谷群青花园、招商东岸、卓越蔚蓝铂樾府、中铁诺德阅山海。

深汕特别合作区在售:6个楼盘
深汕特别合作区目前主要在售楼盘包括:深汕湾智苑、书香雅苑、华侨城纯水岸花园(四期)、半山润府一期(B区)、二期(A区)、中铁深汕观山云邸、振业时代花园二期。

2023年5月起还有61个新盘入市
深圳2023年5月起预计入市楼盘包括: 海德园A区、湾尚骏玺家园169套、深铁熙府、开云府、招商四海臻䣌、深业云海湾、深海前海时代、一湾臻邸、龙光总部中心、深业鹤岭花园、凤鸣水岸、鸿荣源珈誉府、云上润府509套、万丰海岸城瀚府(二期)230套、越秀潮樾府、卓越星弈府、蓝湾商务中心、璟荟名庭、勤诚达云邸、云海臻府、拾悦城楠园1307套、和合时代、京基云熙阁
京基天韵府、兆鑫汇金广场、深物业御棠上府、深铁瑞城二期、华润润曜府、峰境誉府、深业云筑二期、远洋天祺、信义·君御山汇珑花园、颐安都会中央4期、岗宏翰林华府780套、融湖盛景花园二期544套、仕达广场、顺明园、紫和嘉园、勤诚达誉府(01地块)、领峰杰筑、新保辉香悦轩、信义金御半山三期、信义金御半山·珑门、百合世纪广场、畔山铭苑、美盛岭尚苑、颐峰名庭、深业颐樾府、安友基天曜府、合正观澜汇三期、澜汇云庭花园、中海珑悦理家园、龙誉花园(二期)、富基云珑府、溪山君樾、鹏瑞·颐璟府、半山云璟府 92套、合正湾府原著东区家园、华润紫樾府、传承启元、天健和悦府。


值得注意的是,前海桂湾超百万TOD超体深铁前海时代项目计划加推两大产品:仅300多套的 建面约55—125㎡的国际公寓 和约 200m双子星地标总部中心 。有兴趣可以交流!
>>从未来看深圳,发现万亿增长极!3.65平方公里将让深圳人再提前15年建成一个全球新能极!
来源:深圳梦(微信号ID:SZeverything)综合